GM Service Manual Online
For 1990-2009 cars only

Disassembly Procedure

Tools Required

    • J 8001 Dial Indicator
    • J 26900-13 Magnetic Base
    • J 26900-5 Vernier Caliper
    • J 544-01 Tension Scale
    • J 39200 Digital Multimeter
  1. Remove the starter motor from the vehicle. Refer to Starter Motor Replacement .
  2. Refer to Starting System Description .

  3. Object Number: 243894  Size: SH
  4. Remove the nut and the solenoid wire (1) from the solenoid assembly.

  5. Object Number: 243890  Size: SH
  6. Remove the two through bolts (1) and separate the field frame (with armature) from the solenoid assembly.

  7. Object Number: 325372  Size: SH
  8. Remove the three bolts (1) and the solenoid end cover (2).

  9. Object Number: 168545  Size: SH
  10. Inspect the starter solenoid plunger by pressing the plunger in and releasing the plunger. If the plunger does not return to its original position quickly, replace the starter solenoid.
  11. Remove the solenoid plunger.

  12. Object Number: 243887  Size: SH
  13. Remove the two bolts (2) and separate the drive housing (1) from the solenoid assembly.

  14. Object Number: 243872  Size: SH
  15. Inspect the overrunning clutch (1) for wear, damage and other abnormal conditions.
  16. Verify that the following conditions exist:

    • The clutch locks when it is turned in the drive direction.
    • The clutch rotates smoothly in the reverse direction.
    • Replace the clutch assembly as necessary.
  17. Inspect the overrunning clutch spline teeth (2) for wear and damage. Replace the clutch assembly as necessary.

  18. Object Number: 243891  Size: SH
  19. Remove the idler gear (5) from the drive housing.
  20. Carefully remove the idler gear roller bearing (1) from the drive housing. The needle bearings may fall out during disassembly.
  21. Remove the return spring (3) from the drive housing.
  22. Remove the clutch and drive assembly (4) from the drive housing by gently tapping on the pinion end with a rawhide mallet.
  23. Inspect the drive housing assembly components for wear, damage or other abnormalities.
  24. Replace the components as necessary.
  25. Inspect the clutch and drive assembly bearings for wear, damage and smooth operation.
  26. Replace the bearings as necessary.

  27. Object Number: 243873  Size: SH
  28. Inspect the armature bearings (1) for smooth operation, wear and damage.
  29. Replace the bearings as necessary.

  30. Object Number: 243886  Size: SH
  31. Remove the steel ball (2) from the clutch and drive assembly.

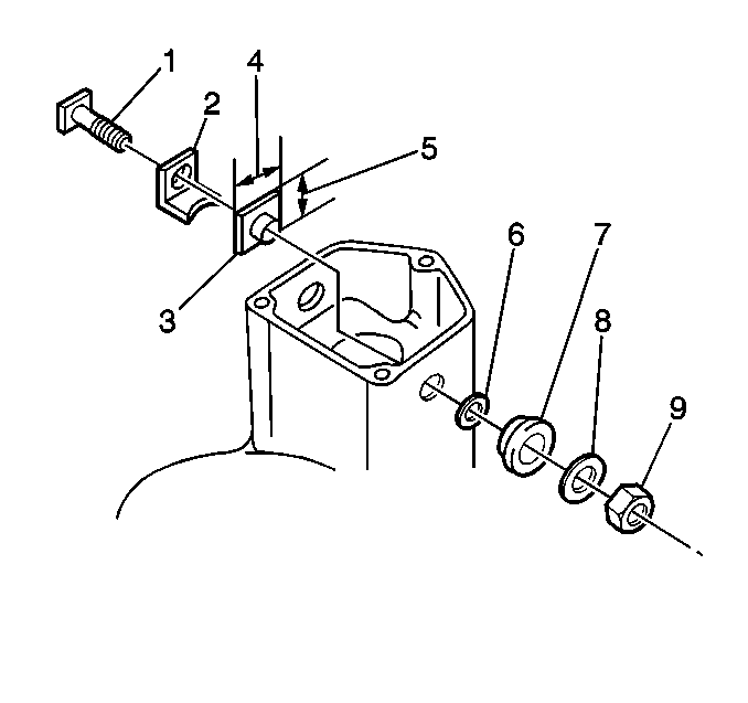
  32. Object Number: 243883  Size: SH
  33. Remove the following components from the field frame:
  34. • The two screws (3)
    • The end cover (2)
    • The O-ring (discard)

    Object Number: 243882  Size: SH
  35. Remove the brushes.
  36. Hold the spring back with a small screwdriver (2) and remove the brush (4) from the brush holder.
  37. Disconnect the four brushes.
  38. Remove the brush holder.
  39. Remove the armature from the field frame.
  40. Inspect the brush springs for corrosion and damage. Replace the components as necessary.
  41. Inspect the brush holder and the insulation on the positive plates for wear and damage. Replace the components as necessary.

  42. Object Number: 325367  Size: SH
  43. Remove the following from terminal 30 of the solenoid assembly:
  44. 30.1. The nut (1)
    30.2. The wave washer (2)
    30.3. The outside insulator (4)
    30.4. The O-ring (5)
    30.5. The bolt (11)
    30.6. The contact plate (10)
    30.7. The inside insulator (8)
    30.8. The insulation paper (6)

    Object Number: 325371  Size: SH
  45. Remove the following from terminal C of the solenoid assembly:
  46. 31.1. The nut (9)
    31.2. The wave washer (8)
    31.3. The outside insulator (7)
    31.4. The O-ring (6)
    31.5. The bolt (1)
    31.6. The contact plate (2)
    31.7. The inside insulator (3)

Inspection and Measuring Procedure

    Notice: Do not use grease dissolving solvents for cleaning the overrunning clutch or armature. Solvents dissolve the grease packed in the clutch and damage the armature and the field coil insulation.

  1. Clean all of the starter motor parts.

  2. Object Number: 168510  Size: SH
  3. Remove dirt and burn marks from the commutator end (2) of the armature (1). Sand the marks using a #300 or #400 grit sandpaper. Wipe the parts using a clean shop cloth.

  4. Object Number: 243860  Size: SH
  5. Place the armature onto a pair of V-blocks (1).
  6. Measure the commutator runout using the J 8001 with the J 26900-13 . Replace the armature if the runout exceeds the standard.
  7. Standard Commutator Runout
    0.05 mm (0.002 in)


    Object Number: 243854  Size: SH
  8. Measure the commutator wear using the J 26900-5 . Replace the armature (1) if the diameter is less than the minimum.
  9. Standard Commutator Diameter
    30 mm (1.18 in)

    Minimum Commutator Diameter
    29 mm (1.14 in)


    Object Number: 243856  Size: SH
  10. Measure the commutator insulation depth. Replace the armature if the insulation depth is less than the minimum.
  11. Standard Commutator Insulation Depth
    0.6 mm (0.024 in)

    Minimum Commutator Insulation Depth
    0.2 mm (0.008 in)


    Object Number: 243861  Size: SH
  12. Measure the resistance between the armature core and the commutator using the J 39200 . If the resistance is 5.0 ohms or less, the armature is grounded. Replace the armature.

  13. Object Number: 243862  Size: SH
  14. Measure the resistance between the commutator segments using the J 39200 . If the resistance is not 5.0 ohms or less at any test point, there is an open circuit in the commutator. Replace the armature.

  15. Object Number: 168527  Size: SH
  16. Measure the positive brush (1) length using the J 26900-5 . If the brush length is less than the minimum, replace the brush holder.
  17. Standard Brush Length
    15.5 mm (0.610 in)

    Minimum Brush Length
    10.0 mm (0.394 in)


    Object Number: 243864  Size: SH
  18. Measure the negative brush (1) length using the J 26900-5 . If the brush length is less than the minimum, replace the field frame.
  19. Standard Brush Length
    15.5 mm (0.610 in)

    Minimum Brush Length
    10.0 mm (0.394 in)


    Object Number: 243880  Size: SH
  20. Measure the resistance between the positive brush holder and the negative brush holder using the J 39200 . If the resistance is 5.0 ohms or less, the brush holder is grounded. Replace the brush holder (1).

  21. Object Number: 243869  Size: SH
  22. Measure the resistance between the lead wire (2) and the field coil brush lead (1) using the J 39200 . If the resistance is greater than 5.0 ohms replace the field frame.

  23. Object Number: 243865  Size: SH
  24. Measure the resistance between the field coil brush lead (1) and the field frame (2) using the J 39200 . If the resistance is less than 5.0 ohms replace the field frame.

  25. Object Number: 168533  Size: SH
  26. Measure the brush spring (2) tension using the J 544-01 . Take the reading as soon as the brush spring separates from the brush. If the tension is less than the minimum, replace the brush spring.
  27. Standard Brush Spring Tension
    1.8-2.4 kg (4.0-5.3 lb)

    Minimum Brush Spring Tension
    1.2 kg (2.6 lb)


    Object Number: 243896  Size: SH
  28. Measure the starter solenoid pull in coil resistance between terminals 50 (3) and C (2) using the J 39200 . If the resistance is not 5 ohms or less, the pull-in coil is open. Replace the starter solenoid.

  29. Object Number: 243897  Size: SH
  30. Measure the starter solenoid hold-in coil resistance between terminal 50 (2) and the solenoid case using the J 39200 . If the resistance is not 5.0 ohms or less, the hold-in coil is open. Replace the starter solenoid.

  31. Object Number: 325384  Size: SH
  32. Measure the contact plate wear using the J 26900-5 . If the depth of wear is greater than 0.9 mm (0.035 in) replace the contact plate.

Assembly Procedure


    Object Number: 325367  Size: SH
  1. Install the following to terminal 30:
  2. 1.1. The insulation paper (6)
    1.2. The inside insulator (8); long side (7), short side (9)
    1.3. The contact plate (10)
    1.4. The terminal bolt (11)
    1.5. The O-ring (5)
    1.6. The packing and outside insulator (4)
    1.7. The wave washer (2)
    1.8. The nut (1)
  3. Do not tighten the nut (1) at this time.

  4. Object Number: 325371  Size: SH
  5. Install the following to terminal C:
  6. 3.1. The inside insulator (3); long side (4), short side (5)
    3.2. The contact plate (2)
    3.3. The terminal bolt (1)
    3.4. The O-ring (6)
    3.5. The outside insulator (7)
    3.6. The wave washer (8)
    3.7. The terminal nut (9)
  7. Do not tighten the nut (9) at this time.

  8. Object Number: 325363  Size: SH

    Important: If the contact plate is not pressed down evenly, the contact plate may tilt due to the tightening of the nut. If the nut is over tightened, it may cause cracks on the inside of the insulator.

    Notice: Use the correct fastener in the correct location. Replacement fasteners must be the correct part number for that application. Fasteners requiring replacement or fasteners requiring the use of thread locking compound or sealant are identified in the service procedure. Do not use paints, lubricants, or corrosion inhibitors on fasteners or fastener joint surfaces unless specified. These coatings affect fastener torque and joint clamping force and may damage the fastener. Use the correct tightening sequence and specifications when installing fasteners in order to avoid damage to parts and systems.

  9. Place a wooden block on the contact plates and press it down with a hand press. Use only enough force to hold the contact plates firmly seated in the solenoid assembly. Tighten the nuts.
  10. Dimensions of the wooden block are 20x37x40 mm (0.79x1.46x1.57 in).

    Tighten
    Tighten the nuts to 17 N·m (12 lb ft).


    Object Number: 325395  Size: SH
  11. Clean the contact surfaces of the contact plates (2) and the plunger (1) with a clean dry cloth.
  12. Install the solenoid plunger.
  13. Install the solenoid end cover.
  14. Tighten
    Tighten the nuts to 2.5 N·m (23 lb in).

  15. Apply a light coating of Lubriplate lubricant GM P/N 1050109, or an equivalent, to the following locations:
  16. • The front armature bearing
    • The rear armature bearing
    • The idler gear roller bearing

    Object Number: 243882  Size: SH
  17. Install the armature into the field frame.
  18. Install the brush holder.
  19. Connect the four brushes.
  20. Hold the spring back with a small screwdriver (2) and install the brush (4) into the brush holder.

  21. Object Number: 243883  Size: SH
  22. Install the end cover (2) to the field frame.
  23. • Install a new O-ring
    • Install the two screws (3)

    Tighten
    Tighten the screws to 1.5 N·m (13 lb in).


    Object Number: 243886  Size: SH
  24. Install the steel ball (2) to the clutch and drive assembly.

  25. Object Number: 243891  Size: SH
  26. Install the following to the drive housing:
  27. • The idler gear roller bearing (1)
    • The idler gear (5)
    • The clutch and drive assembly (4)
    • The return spring (3)

    Object Number: 243887  Size: SH
  28. Install the drive housing (1) to the solenoid assembly
  29. Tighten
    Tighten the two bolts to 6 N·m (52 lb in).


    Object Number: 243890  Size: SH
  30. Install the field frame to the solenoid assembly using a new O-ring.
  31. Tighten
    Tighten the two through bolts (1) to 6 N·m (52 lb in).


    Object Number: 243894  Size: SH
  32. Install the solenoid lead wire and nut (1) to the solenoid assembly.
  33. Tighten
    Tighten the nut (1) to 6 N·m (52 lb in).

  34. Install the starter motor to the vehicle. Refer to Starter Motor Replacement .