GM Service Manual Online
For 1990-2009 cars only

Tools Required

    • J 39200 Digital Multimeter
    •  J 28509-A Bearing Remover
    •  J 26900-5 Vernier Caliper
    •  J 38276 Puller Adapter
    • J 35452 Generator Pulley Remover/Installer
    • J 35419 Bearing Installer
    • J 22888 Universal Puller
    • J 29533-A Oxygen Sensor Wrench

Disassembly Procedure

  1. Remove the generator from the vehicle. Refer to Generator Replacement .
  2. Refer to Charging System Description .

  3. Object Number: 244261  Size: SH
  4. Scribe matchmarks (1) on the front and rear housings to ensure proper assembly.
  5. Remove the nut (3) and the terminal insulator (2).

  6. Object Number: 244241  Size: SH
  7. Remove the following from the end cover (1):
  8. • 1 bolt
    • 3 nuts (2)
    • The plate terminal
  9. Remove the end cover.

  10. Object Number: 325351  Size: SH
  11. Remove the brush holder cover.
  12. Remove the 5 screws (2).
  13. Important: Note the correct orientation of the brush holder for easier installation.

  14. Remove the brush holder (3).
  15. Remove the voltage regulator (1).
  16. Remove the seal.

  17. Object Number: 325358  Size: SH
  18. Remove the 4 screws (2) and the rectifier holder (1).
  19. Remove the 4 rubber insulators.

  20. Object Number: 244210  Size: SH
  21. Remove the pulley nut using the J 35452 or the J 39194-B and a 10 mm socket. Loosen the nut with the 7/8 in box end wrench while holding the rotor shaft with the 10 mm socket wrench.
  22. Remove the pulley.

  23. Object Number: 325360  Size: SH
  24. Remove the 4 nuts (2) and the clip (1) from the rectifier end frame.
  25. Remove the rectifier end frame using the J 28509-A .
  26. Remove the washer from the rotor.
  27. Remove the rotor from the drive end frame.

  28. Object Number: 244211  Size: SH
  29. Inspect the front bearing (2) for rough operation, wear or damage. If necessary, replace the front bearing.
  30. Remove the 4 screws (1).
  31. Remove the bearing retainer.

  32. Object Number: 325375  Size: SH
  33. Press out the front bearing using an appropriate adaptor.

  34. Object Number: 244214  Size: SH
  35. Inspect the rear bearing (2) for rough operation, wear or damage. If necessary, replace the rear bearing.
  36. Remove the rear bearing outer cover (1).

  37. Object Number: 244198  Size: SH

    Important: Do not damage the rotor fan during bearing removal.

  38. Remove the rear bearing from the rotor using the J 22888 .
  39. Remove the rear bearing inner cover.

Measuring Procedure


    Object Number: 168903  Size: SH
  1. Measure the resistance between the rotor slip rings (2) with the J 39200 . If the resistance is greater than specifications, replace the rotor.
  2. Rotor Slip Ring Resistance
    2.7-3.1 ohms at 20°C (68°F)


    Object Number: 168905  Size: SH
  3. Measure the resistance between the rotor slip rings (2) and the rotor (1) with the J 39200 . If the resistance is less than 5 ohms, replace the rotor.

  4. Object Number: 244248  Size: SH
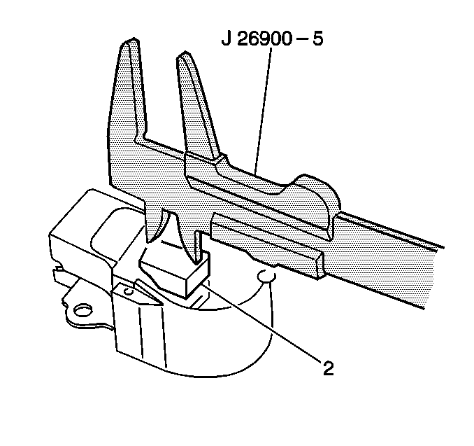
  5. Measure the rotor slip rings (2) with the J 26900-5 . If the diameter is less than the minimum, or if the slip rings are rough or scored, replace the rotor.
  6. Standard Slip Ring Diameter
    14.2-14.4 mm (0.559-0.567 in)

    Minimum Slip Ring Diameter
    12.8 mm (0.504 in)


    Object Number: 244245  Size: SH
  7. Measure the resistance between all stator leads (1) with the J 39200 . If the resistance is greater than 5 ohms for any measurement, replace the stator.

  8. Object Number: 244270  Size: SH
  9. Measure the resistance between all stator leads (1) and the stator core with the J 39200 . If the resistance is less than 5 ohms, replace the stator.

  10. Object Number: 244271  Size: SH
  11. Measure the exposed brush length (2) with the J 26900-5 . If the exposed length is less than the minimum, replace the brush holder assembly
  12. Standard Exposed Brush Length
    10.5 mm (0.413 in)

    Minimum Exposed Brush Length
    1.5 mm (0.059 in)


    Object Number: 244227  Size: SH
  13. Measure the resistance between the rectifier positive terminal (4) and each rectifier terminal (3) with the J 39200 . Reverse the probes and measure the resistance again. If the resistance is not less than 5 ohms in one measurement and greater than 5 ohms in the other measurement, replace the rectifier.

  14. Object Number: 244235  Size: SH
  15. Measure the resistance between the rectifier negative terminal (3) and each rectifier terminal with the J 39200 . Reverse the probes and measure the resistance again. If the resistance is not less than 5 ohms in one measurement and greater than 5 ohms in the other measurement, replace the rectifier.

Assembly Procedure


    Object Number: 244214  Size: SH
  1. Install the rear bearing inner cover (3).

  2. Object Number: 244273  Size: SH
  3. Install the rear bearing to the rotor shaft using the J 35419 and a press.
  4. Install the rear bearing outer cover.

  5. Object Number: 325392  Size: SH
  6. Install the front bearing using a suitable adaptor and a press.

  7. Object Number: 244211  Size: SH
  8. Install the bearing retainer.
  9. Notice: Use the correct fastener in the correct location. Replacement fasteners must be the correct part number for that application. Fasteners requiring replacement or fasteners requiring the use of thread locking compound or sealant are identified in the service procedure. Do not use paints, lubricants, or corrosion inhibitors on fasteners or fastener joint surfaces unless specified. These coatings affect fastener torque and joint clamping force and may damage the fastener. Use the correct tightening sequence and specifications when installing fasteners in order to avoid damage to parts and systems.

  10. Install the four screws (1).
  11. Tighten
    Tighten the 4 screws to 3.0 N·m (27 lb in).

  12. Install the rotor to the drive end frame.
  13. Install the washer to the rotor.
  14. Install the rectifier end frame by using a 29 mm socket or other suitable adaptor and a press.

  15. Object Number: 325360  Size: SH
  16. Install the wire clip (1) and 4 nuts (2).
  17. Tighten

        • Tighten the nut with the clip to 5.5 N·m (48 lb in).
        • Tighten the 3 nuts to 4.5 N·m (40 lb in).

    Object Number: 244210  Size: SH
  18. Install the pulley and the nut using the J 35452 or the J 39194-B . Tighten the 7/8 in nut while holding the rotor shaft stationary with the 10 mm socket.
  19. Tighten
    Tighten the pulley nut to 111 N·m (81 lb ft).


    Object Number: 325358  Size: SH
  20. Install the 4 rubber insulators.
  21. Install the rectifier and the 4 screws (2).
  22. Tighten
    Tighten the 4 screws to 3 N·m (26 lb in).


    Object Number: 325351  Size: SH
  23. Install the seal on the rectifier end frame.
  24. Install the voltage regulator (1).
  25. Important: Note the correct orientation of the brush holder.

  26. Install the brush holder (3).
  27. Install the 5 screws (2).
  28. Tighten
    Tighten the 5 screws to 2.0 N·m (18 lb in).

  29. Install the brush holder cover.

  30. Object Number: 244241  Size: SH
  31. Install the end cover.
  32. Install the plate terminal
  33. Install the 3 nuts (2) and 1 bolt.
  34. Tighten

        • Tighten the 3 nuts to 4.5 N·m (39 lb in)
        • Tighten the 1 bolt to 4 N·m (35 lb in)

    Object Number: 244261  Size: SH
  35. Install the terminal insulator (2) and the nut (3).
  36. Tighten
    Tighten the nut to 4 N·m (36 lb in).

  37. Inspect that the rotor turns smoothly.
  38. Install the generator to the vehicle. Refer to Generator Replacement .