GM Service Manual Online
For 1990-2009 cars only

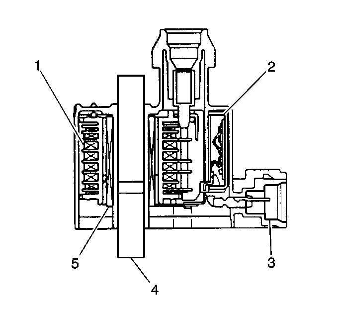
Ignition Coil Cross Section


Object Number: 241877  Size: SH
(1)Secondary Coil
(2)Ignition Control Module
(3)Electrical Connector
(4)Core
(5)Primary Coil

The electronic ignition system used is of the direct ignition system (DIS) type and is controlled by the powertrain control module (PCM). The electronic ignition system is composed of the following components:

    • The PCM
    • Two ignition coil assemblies
    • The crankshaft position (CKP) sensor
    • The camshaft position (CMP) sensor
    • The spark plugs
    • The spark plug (secondary ignition) wires

The electronic ignition system provides the following benefits:

    • Improved ignition timing accuracy
    • Reduces high-voltage losses
    • Enhances overall ignition system reliability

The electronic ignition system components cannot be disassembled or repaired. A component that is correctly diagnosed as faulty must be replaced as a complete unit.

Operation


Object Number: 241876  Size: SF
(1)Powertrain Control Module (PCM)
(2)Ignition Control Module No. 1
(3)To battery voltage
(4)Ignition Coil No. 1
(5)To cylinders 1 and 4
(6)To battery voltage
(7)To cylinders 2 and 3
(8)Ignition Control Module No. 2
(9)Ignition Coil No. 2
(10)To Tachometer
(11)Various Information Sensors
(12)CKP Sensor
(13)CMP sensor

The PCM uses reference pulses from the CKP sensor in order to determine engine speed. The PCM cannot operate the ignition system (or the fuel injectors) without the engine speed signal from the CKP. The PCM controls ignition timing by controlling the ignition coils.

The ignition coils have a pair high voltage output terminals that provide spark to two engine cylinders (spark plugs) at the same time. The #1 coil (the coil closest to the front of the vehicle) supplies voltage to the spark plugs in engine cylinders 1 and 4. The #2 coil supplies voltage to the spark plugs in engine cylinders 2 and 3. Each ignition coil assembly has a built-in ignition module (igniter) that controls the current flow in the primary coil winding. When the PCM signals the ignition module to interrupt the current flow, the electrical field around the primary coil collapses and a high voltage is induced in the secondary coil. The secondary coil voltage travels simultaneously from both coil output terminals, through the spark plug wires, and across each spark plug's gap to the engine block. As a fail-safe function the ignition control module sends an ignition confirmation signal back to the PCM whenever a secondary ignition voltage is generated.

The CMP sensor signal is used by the PCM for engine misfire detection. The PCM also uses the CMP sensor signal as an input for control of the fuel injectors and ignition timing.

The PCM receives information on engine status from various engine sensors and then selects the most appropriate ignition timing settings from within the PCM's programming. The following are the most important inputs for determining ignition timing requirements:

    • Engine speed
    • Throttle position
    • Manifold pressure
    • Engine coolant temperature
    • Knock sensor input

Ignition Timing

The ignition timing is not adjustable. A timing indicator and timing marks are still visible at the crankshaft pulley but are not used to set or adjust ignition timing. The powertrain control module provides all ignition timing adjustments electronically.

Do not use a conventional tachometer in order to check engine speed on this ignition system. An inductive type pick-up will not provide reliable engine speed information. Use a scan tool in order to monitor engine RPM.

Secondary Wiring

The ignition coil's secondary output voltage is very high - more than 40,000 volts. Avoid body contact with the ignition high voltage secondary components when the engine is running or personal injury may result.

The material used to construct the secondary (spark plug) wiring is very soft. This allows the wiring to withstand more heat and carry a higher voltage than traditional wiring; however, the wire is more susceptible to scuffing and damage. The secondary wires must be routed correctly to prevent chafing or cutting.

Be careful not to damage the secondary ignition wires or boots when servicing the ignition system. The spark plug boot forms a tight seal on the spark plug. Rotate each ignition wire boot in order to loosen the boot from the spark plug before removing the wire. Never pierce a secondary ignition wire or boot for any testing purposes. Future ignition system problems are guaranteed if pinpoints or test lights are pushed through the secondary ignition wire insulation during component testing. Always make test connections in parallel using an adaptor.

Spark Plugs

This vehicle should be serviced with Denso Type K16TR11 spark plugs. The spark plug gap should be set at 1.1 mm (0.043 in). Normal service is assumed to be a mixture of idling, slow-speed and high-speed driving. Occasional or intermittent highway driving is needed for good spark plug performance. The higher combustion temperatures generated during highway driving burn away carbon and oxide deposits that have built up from frequent idling or continuous stop and go driving.

Spark plugs must operate within certain temperature limits to provide the performance and service life expected. The spark plugs selected for an engine is based only on normal engine service, and may not apply for abnormal engine service conditions. For instance, a spark plug one step hotter in heat range might deliver longer service life than the spark plug recommended for almost exclusive city driving. Conversely, a spark plug one step colder than recommended will perform better for continuous high speed driving.

There are three rules to follow when selecting spark plugs for an engine in good condition:

  1. Select a spark plug with the specified heat range.
  2. Should spark plug overheating occur, select a spark plug one step colder than the specified heat range.
  3. If fouling is a problem, select a spark plug one step hotter than the specified heat range.

Ignition Switch

The ignition switch is located on the right side of the steering column below the steering wheel. The electrical and mechanical portions of the switch work in conjunction with each other. For more information refer to Steering Wheel and Column.