GM Service Manual Online
For 1990-2009 cars only

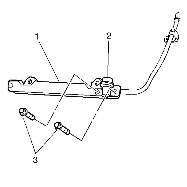
Removal Procedure


    Object Number: 228618  Size: SH
  1. Relieve the fuel pressure. Refer to Fuel Pressure Relief .
  2. Remove the two bolts (3).
  3. Remove the fuel pulsation damper (2) from the fuel rail (1).

Installation Procedure


    Object Number: 228618  Size: SH
  1. Install the fuel palsation damper (2) to the fuel rail (1).
  2. Notice: Use the correct fastener in the correct location. Replacement fasteners must be the correct part number for that application. Fasteners requiring replacement or fasteners requiring the use of thread locking compound or sealant are identified in the service procedure. Do not use paints, lubricants, or corrosion inhibitors on fasteners or fastener joint surfaces unless specified. These coatings affect fastener torque and joint clamping force and may damage the fastener. Use the correct tightening sequence and specifications when installing fasteners in order to avoid damage to parts and systems.

  3. Secure the fuel pulsation damper (2) to the fuel rail (1) with the two bolts (3).
  4. Tighten
    Tighten the two bolts to 8 N·m (71 lb ft).

  5. Pressurize the fuel system and check for any fuel leaks.