GM Service Manual Online
For 1990-2009 cars only
Makes
🢒
Chevrolet
🢒
1998
🢒
Prizm
🢒
Body and Accessories
🢒
Horns
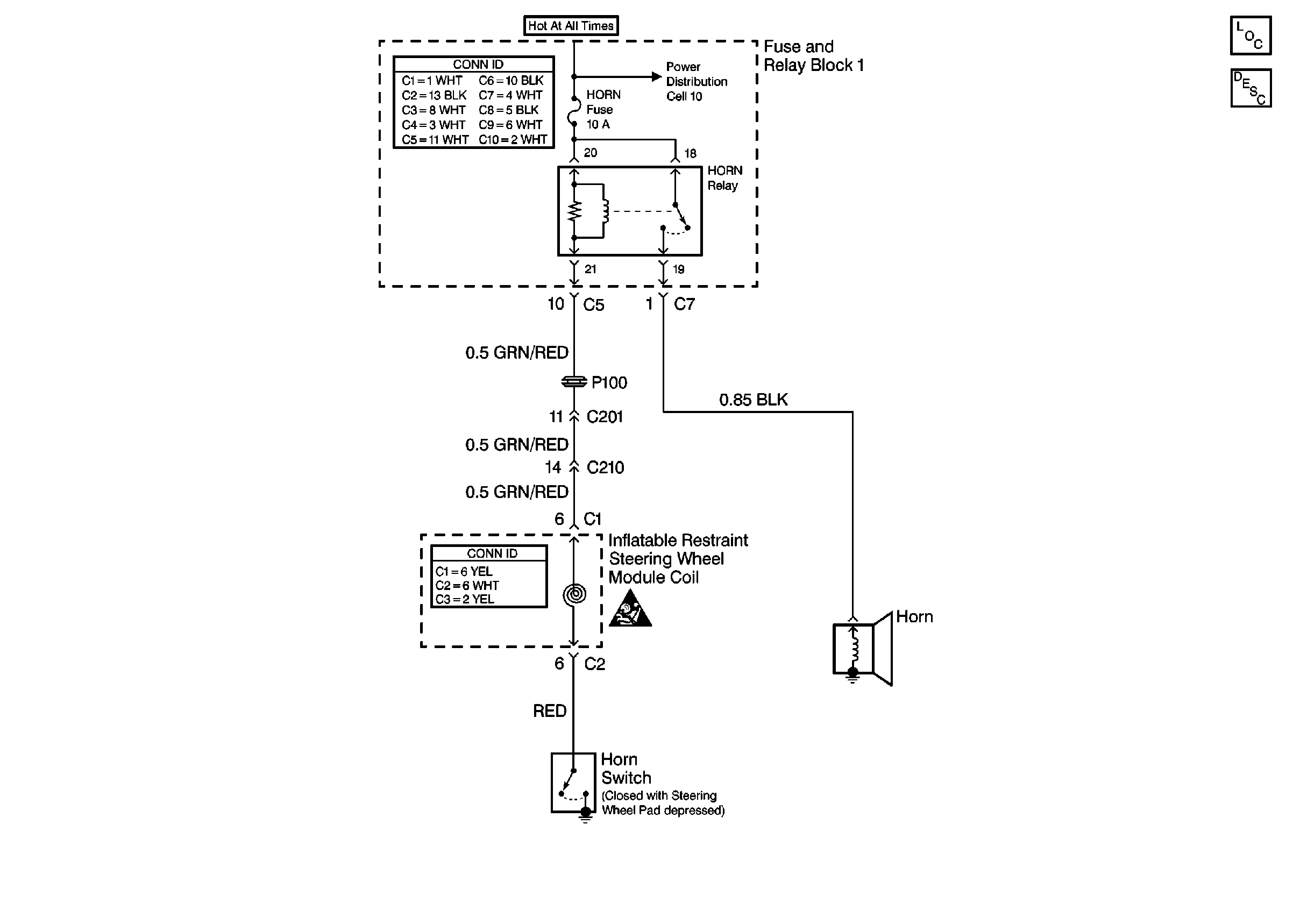
🢒 Horn Schematics
Cell 40
Horns Components
Cell 10: Alt-S, AM2, Dome, EFI, Hazard, Horn, and Main Fuses
SIR Caution