GM Service Manual Online
For 1990-2009 cars only
Makes
🢒
Chevrolet
🢒
1998
🢒
Prizm
🢒 h132d
h132d
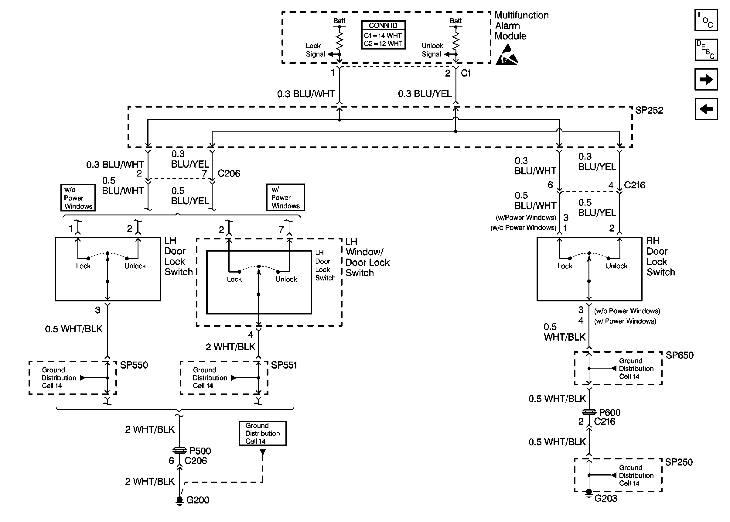
Cell 132: Door Lock Switches
Keyless Entry Components
Keyless Entry System Description
Cell 132: Multifunction Alarm Module and Door Lock Actuators
Cell 132: Remote Control Door Lock Receiver and Door Lock Actuators
Cell 14: G200, G203, SP250 and SP650
Cell 14: SP550 and SP551
Cell 14: SP550 and SP551
Cell 14: G200, G203, SP250 and SP650
Cell 14: G200, G203, SP250 and SP650
Handling ESD Sensitive Parts Notice