GM Service Manual Online
For 1990-2009 cars only

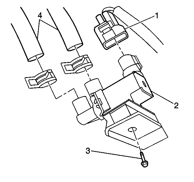
Removal Procedure

Notice: The EVAP canister may have released carbon particles which caused this part to fail and may cause damage to other components. Check the EVAP canister for loose carbon before returning the vehicle to service.


    Object Number: 181691  Size: SH
  1. Disconnect the two EVAP canister purge solenoid valve hoses (4).
  2. Disconnect the EVAP canister purge solenoid valve electrical connector (1).
  3. Remove the one bolt (3) from the EVAP canister purge solenoid valve (2).
  4. Remove the EVAP canister purge solenoid valve from vehicle.
  5. Inspect the EVAP canister purge solenoid valve and the EVAP purge system for carbon particle contamination before replacing the EVAP canister purge solenoid valve. Refer to Evaporative Emission System Cleaning .

Installation Procedure

  1. Inspect the EVAP purge system for carbon particle contamination before installing a new EVAP canister purge solenoid valve. Refer to Evaporative Emission System Cleaning .

  2. Object Number: 181691  Size: SH
  3. Install the EVAP canister purge solenoid (2) valve to vehicle and secure with one bolt (3).
  4. Notice: Use the correct fastener in the correct location. Replacement fasteners must be the correct part number for that application. Fasteners requiring replacement or fasteners requiring the use of thread locking compound or sealant are identified in the service procedure. Do not use paints, lubricants, or corrosion inhibitors on fasteners or fastener joint surfaces unless specified. These coatings affect fastener torque and joint clamping force and may damage the fastener. Use the correct tightening sequence and specifications when installing fasteners in order to avoid damage to parts and systems.

  5. Tighten the EVAP canister purge solenoid bolt.
  6. Tighten
    Tighten the bolt to 15 N·m (11 lb ft).

  7. Connect the EVAP canister purge solenoid valve electrical connector (1).
  8. Connect the two EVAP canister purge solenoid valve hoses (4).