GM Service Manual Online
For 1990-2009 cars only

Removal Procedure


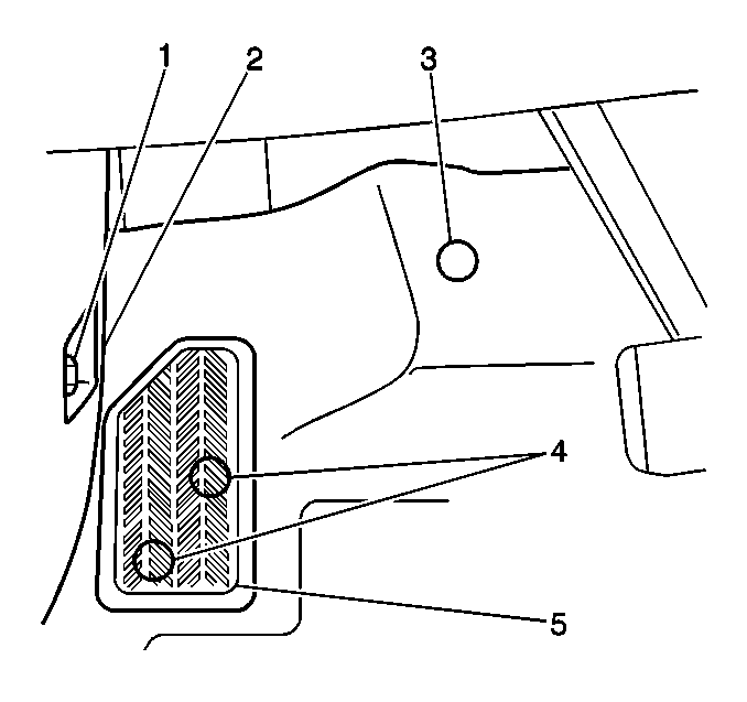
    Object Number: 328462  Size: SH

    Caution: Unless directed otherwise, the ignition and start switch must be in the OFF or LOCK position, and all electrical loads must be OFF before servicing any electrical component. Disconnect the negative battery cable to prevent an electrical spark should a tool or equipment come in contact with an exposed electrical terminal. Failure to follow these precautions may result in personal injury and/or damage to the vehicle or its components.

  1. Disconnect the negative battery cable.
  2. Remove the LH kick panel nut (1) and the LH kick panel (2).

  3. Object Number: 245084  Size: SH
  4. Remove the 2 screws and disconnect the hood release lever from the knee bolster.
  5. Remove the 2 bolts (3) that secure the knee bolster trim panel (1). Position the trim panel as necessary to gain access to the knee bolster.
  6. Remove the 2 bolts and the knee bolster.
  7. Remove the LH ventilation duct.

  8. Object Number: 240678  Size: MH
  9. Remove the following components:
  10. • The brake pedal return spring
    • The R-clip
    • The clevis pin
    • The wave washer
  11. Disconnect the brake light switch electrical connector.
  12. Remove the brake pedal bracket front bolt.
  13. Remove the brake pedal bracket mounting nuts.
  14. Remove the brake pedal and the bracket assembly.
  15. Remove the brake pedal shaft bolt and nut.
  16. Remove the brake pedal (3) from the bracket.
  17. Remove the brake pedal bushings.
  18. Remove the cover to the brake pedal.

Installation Procedure


    Object Number: 240678  Size: MH
  1. Install the cover to the brake pedal (3).
  2. Lubricate the brake pedal bushings using Lubriplate lubricant, GM P/N 12346293 (or equivalent). Use a lubricant that meets the requirements of NLGI 2 Category LB or GC-LB.
  3. Install the brake pedal bushings to the brake pedal.
  4. Install the brake pedal to the bracket. Secure with the brake pedal shaft bolt and nut.
  5. Tighten
    Tighten the bolt and the nut to 20 N·m (14.75 lb in).

  6. Install the brake pedal and bracket assembly to the vehicle. Secure with the brake pedal bracket mounting nuts.
  7. Tighten
    Tighten the nuts to 10 N·m (89 lb in).

  8. Install the brake pedal bracket front bolt.
  9. Tighten
    Tighten the bolt to 20 N·m (14.75 lb ft).

  10. Connect the brake light switch electrical connector.
  11. Install the following components:
  12. • The wave washer
    • The clevis pin
    • The R-clip
    • The brake pedal return spring
  13. Install the LH ventilation duct.

  14. Object Number: 245084  Size: SH
  15. Install the knee bolster. Secure with 2 bolts.
  16. Tighten
    Tighten the bolts to 10 N·m (89 lb in).

  17. Install the knee bolster trim panel (1). Secure with 2 bolts (3).
  18. Tighten
    Tighten the bolts to 10 N·m (89 lb in).

  19. Connect the hood release lever. Secure with 2 screws.

  20. Object Number: 328462  Size: SH
  21. Install the LH kick panel (2). Secure with 1 nut (1).
  22. Tighten
    Tighten the nut to 5.4 N·m (48 lb in).

  23. Inspect the Brake Pedal Travel. Refer to Brake Pedal Travel
  24. Connect the negative battery cable.