GM Service Manual Online
For 1990-2009 cars only

Master Cylinder Description Without ABS

Master Cylinder Disassembled View (Without ABS)


Object Number: 431659  Size: MF
(1)Brake Master Cylinder Reservoir Cap
(2)Brake Master Cylinder Reservoir Filter
(3)Brake Master Cylinder Reservoir
(4)Brake Master Cylinder Reservoir Bolt
(5)Brake Master Cylinder Reservoir Grommet
(6)Brake Master Cylinder
(7)Brake Master Cylinder Secondary Piston
(8)Brake Master Cylinder Primary Piston
(9)Brake Master Cylinder Primary Piston Retaining Ring
(10)Brake Master Cylinder Gasket
(11)Brake Pedal Push Rod Clevis Nut
(12)Brake Pedal Push Rod Clevis
(13)Brake Master Cylinder Nut
(14)Brake Master Cylinder Piston Stop Bolt
(15)Brake Master Cylinder Piston Stop Bolt Seal
(16)Brake Master Cylinder Reservoir Grommet

Master Cylinder

The master cylinder assembly consists of the two following components:

    • An aluminum body
    • A plastic brake fluid reservoir

Internally, the master cylinder houses the following components:

    • A primary piston
    • A secondary piston
    • Three piston cups

The master cylinder is mounted on the brake booster assembly.

When the brake pedal is depressed, the primary piston compresses the volume of the primary chamber, increasing the hydraulic pressure in the chamber. This pressure, along with the return spring force, causes the secondary piston to compress the volume of the secondary chamber.

The hydraulic pressure in the primary chamber acts on the left rear brakes and the right rear brakes.

The pressure produced in the secondary chamber acts on the right front brakes and the left front brakes.

Master Cylinder Reservoir

The reservoir attaches to the top of the master cylinder. The master cylinder is located under the hood on the left side of the bulkhead. The reservoir is constructed of transparent plastic. The reservoir is marked with the MAX level on the outside.

Brake Fluid Level Switch

The brake fluid level switch is located in the master cylinder reservoir. If the master cylinder fluid level becomes too low, the BRAKE indicator will illuminate. This condition alerts the driver that a low fluid level condition exists in the master cylinder reservoir.

Master Cylinder Description With ABS

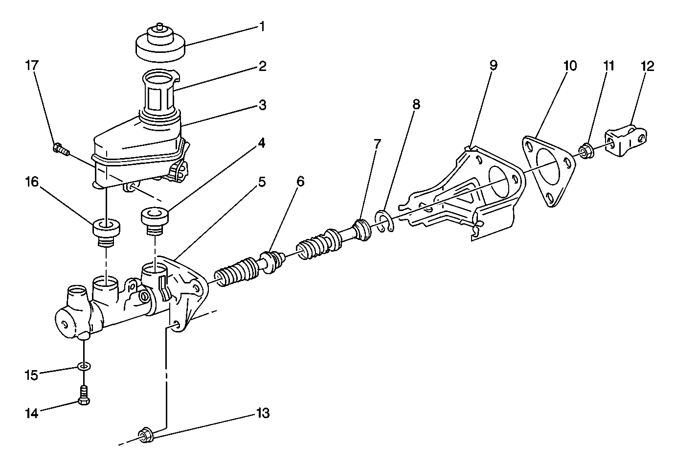
Master Cylinder Disassembled View (With ABS)


Object Number: 431661  Size: MF
(1)Brake Master Cylinder Reservoir Cap
(2)Brake Master Cylinder Reservoir Filter
(3)Brake Master Cylinder Reservoir
(4)Brake Master Cylinder Reservoir Grommet
(5)Brake Master Cylinder
(6)Brake Master Cylinder Secondary Piston
(7)Brake Master Cylinder Primary Piston
(8)Brake Master Cylinder Primary Piston Retaining Ring
(9)Brake Pressure Modulator Valve Bracket
(10)Brake Master Cylinder Gasket
(11)Brake Pedal Push Rod Clevis Nut
(12)Brake Pedal Push Rod Clevis
(13)Brake Master Cylinder Nut
(14)Brake Master Cylinder Piston Stop Bolt
(15)Brake Master Cylinder Piston Stop Bolt Seal
(16)Brake Master Cylinder Reservoir Grommet
(17)Brake Master Cylinder Reservoir Bolt

On vehicles equipped with the Antilock Brake System (ABS), the master cylinder hydraulic brake pipes are connected to the brake pressure modulator valve (BPMV). For more information regarding ABS, refer to ABS Description in Antilock Brake System.

Master Cylinder

The master cylinder assembly consists of the two following components:

    • An aluminum body
    • A plastic brake fluid reservoir

Internally, the master cylinder houses the following components:

    • A primary piston
    • A secondary piston
    • Three piston cups

The master cylinder is mounted on the brake booster assembly.

When the brake pedal is depressed, the primary piston compresses the volume of the primary chamber, increasing the hydraulic pressure in the chamber. This pressure, along with the return spring force, causes the secondary piston to compress the volume of the secondary chamber.

The hydraulic pressure in the primary chamber acts on the left rear brakes and the right rear brakes.

The pressure produced in the secondary chamber acts on the right front brakes and the left front brakes.

Master Cylinder Reservoir

The reservoir attaches to the top of the master cylinder. The master cylinder is located under the hood on the left side of the bulkhead. The reservoir is constructed of transparent plastic. The reservoir is marked with the MAX level on the outside.

Brake Fluid Level Switch

The brake fluid level switch is located in the master cylinder reservoir. If the master cylinder fluid level becomes too low, the BRAKE indicator will illuminate. This condition alerts the driver that a low fluid level condition exists in the master cylinder reservoir.