GM Service Manual Online
For 1990-2009 cars only

Control Cables Gearshift Controls


Object Number: 167997  Size: SH

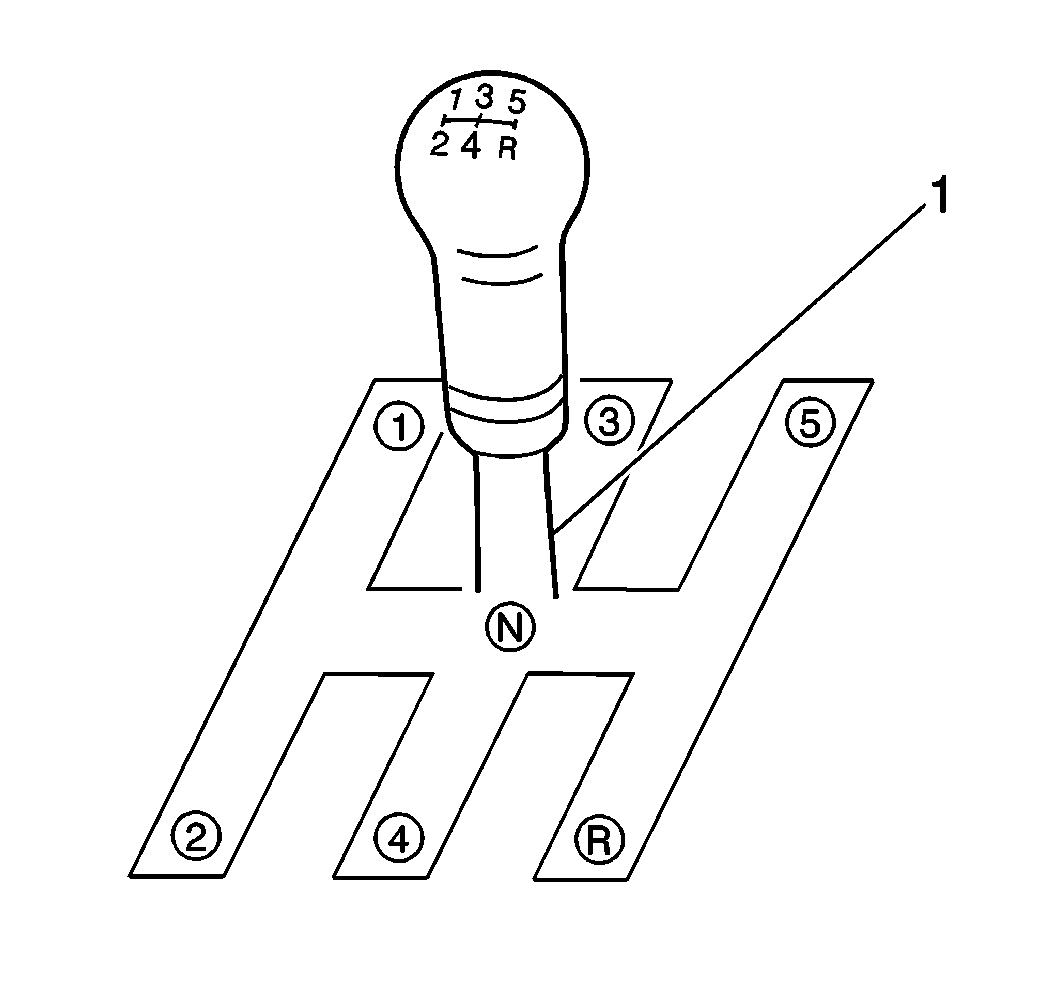
Gear selection begins in the gearshift control lever (1).

The gearshift control shaft transmits gear selection from the gearshift control lever to the transaxle. The gearshift control shaft joint connects the gearshift control shaft to the transaxle gearshift shaft.

The shift lever movement is transmitted to the transaxle by a rigid cable.

This allows vibration from the engine and the transaxle to be absorbed by the cable assembly and not to be transmitted to the body or shift lever.

An arm and a yoke to the gearshift and select shaft assembly transmits the transaxle gearshift shaft movement when the transaxle gearshift shaft performs the following movements:

    • The transaxle gearshift shaft moves in.
    • The transaxle gearshift shaft moves out.
    • The transaxle gearshift shaft turns.

The gearshift and select shaft assembly actuates each shift shaft and fork for the desired transaxle gearshift. A gear shift interlock plate prevents 2 different gears from engaging during shifting.