GM Service Manual Online
For 1990-2009 cars only

    Object Number: 410152  Size: SH
  1. Remove the 14 bolts.
  2. Remove the lower valve body cover (1).
  3. Turn the assembly over.

  4. Object Number: 439232  Size: SH
  5. Remove the 12 bolts that attach the upper valve body cover (1) to the upper valve body (5).

  6. Object Number: 163659  Size: SH
  7. Remove the governor oil strainer, gaskets and the plate. Replace if necessary.

  8. Object Number: 439232  Size: SH
  9. Turn the assembly over.
  10. Remove the 3 bolts from the lower valve body cover (10).
  11. Remove the lower valve body cover (10) from the lower valve body (9).
  12. Important: Do NOT allow the check valve and the check ball to fall out of the lower valve body.

  13. Remove the lower valve body (9), the plate (7), and the gaskets (6, 8) as a unit.
  14. Hold the valve body plate to the lower valve body.

Upper Valve Body Overhaul

Tools Required

J 26900-6 Dial Caliper


    Object Number: 440289  Size: SH

    Notice: When disassembling the valve body halves, keep all valve springs, spring seats and plugs within their respective valves. Most valve springs are of different sizes and CANNOT be interchanged. Verify that all parts are clean and dry before assembly.

  1. Remove the vibrating stopper (3) from the upper valve body (5).
  2. Remove the throttle valve assembly by removing the following components:
  3. • The throttle valve cam assembly (4)

       Important: Count the number of adjusting rings prior to removal because the number of adjusting rings determines the throttle pressure. You must install the same number of rings that you removed in order to ensure proper transaxle shift points. Some valve bodies do not require adjusting rings.

    • The adjusting rings (2)
    • The throttle valve spring (1)

    Object Number: 440290  Size: MH
  4. Remove the throttle modulator valve assembly from the upper valve body (1) by removing the following components:
  5. • The 1 key
    • The throttle modulator valve plug (8)
    • The throttle modulator valve (9)
    • The throttle modulator valve spring (10)
  6. Remove the accumulator control valve assembly from the upper valve body by removing the following components:
  7. • The 1 key
    • The accumulator control valve plug (5)
    • The accumulator control valve spring (6)
    • The accumulator control valve (7)
  8. Remove the low coast modulator valve assembly from the upper valve body by removing the following components:
  9. • The 1 pin
    • The low coast modulator valve plug (4)
    • The low coast modulator valve spring (3)
    • The low coast modulator valve (2)

    Object Number: 440291  Size: SH
  10. Remove the throttle valve assembly from the upper valve body (1) by removing the following components:
  11. • The 1 pin
    • The throttle valve sleeve (4)
    • The downshift plug (5)
    • The downshift plug spring (6)
    • The throttle valve (7)
  12. Remove the 2nd coast modulator valve assembly from the upper valve body by removing the following components:
  13. • The 1 key
    • The 2nd coast modulator valve spring (3)
    • The 2nd coast modulator valve (2)

    Object Number: 440293  Size: SH
  14. Remove the cut-back valve assembly from the upper valve body (1) by removing the following components:
  15. • The 1 key
    • The cut-back valve plug (7)
    • The cut-back valve (8)
  16. Remove the lock-up relay valve assembly from the upper valve body by removing the following components:
  17. • The 1 key
    • The lock-up relay valve plug (6)
    • The lock-up relay valve (5)
    • The lock-up relay valve spring (4)
    • The control valve (3)
    • The lock-up relay valve sleeve (2)
  18. Clean all components thoroughly with solvent. Dry the components.
  19. Inspect all valves for cracks, scoring, or other damage. Replace as necessary.
  20. Inspect all valve springs for damage or distortion. Replace as necessary.
  21. Inspect the upper valve body bores for scoring or cracks. Replace as necessary.
  22. Measure the free length and the outer coil diameter of all of the upper valve body valve springs using J 26900-6 . Replace any spring whose length does not meet the specification.

Upper Valve Body Assembly Procedure

Tools Required

J 36850 Transmission Assembly Lubricant


    Object Number: 440293  Size: SH

    Important: Use J 36850 or equivalent in order to retain the installed components.

  1. Install the following components of the lock-up relay valve assembly onto the upper valve body (1):
  2. • The lock-up relay valve sleeve (2)
    • The control valve (3)
    • The lock-up relay valve spring (4)
    • The lock-up relay valve (5)
    • The lock-up relay valve plug (6)
    • The 1 key
  3. Install the following components of the cut-back valve assembly onto the upper valve body:
  4. • The cut-back valve (8)
    • The cut-back valve plug (7)
    • The 1 key

    Object Number: 440291  Size: SH
  5. Install the following components of the 2nd coast modulator valve assembly onto the upper valve body (1):
  6. • The 2nd coast modulator valve (2)
    • The 2nd coast modulator valve spring (3)
    • The 1 key
  7. Install the following components of the throttle valve assembly onto the upper valve body:
  8. • The throttle valve (7)
    • The downshift plug spring (6)
    • The downshift plug (5)
    • The throttle valve sleeve (4)
    • The 1 pin

    Object Number: 440290  Size: MH
  9. Install the following components of the low coast modulator valve assembly onto the upper valve body (1):
  10. • The low coast modulator valve (2)
    • The low coast modulator valve spring (3)
    • The low coast modulator valve plug (4)
    • The 1 pin
  11. Install the following components of the accumulator control valve assembly onto the upper valve body:
  12. • The accumulator control valve (7)
    • The accumulator control valve spring (6)
    • The accumulator control valve plug (5)
    • The 1 key
  13. Install the following components of the throttle modulator valve assembly onto the upper valve body:
  14. • The throttle modulator valve spring (10)
    • The throttle modulator valve (9)
    • The throttle modulator valve plug (8)
    • The 1 key

    Object Number: 440289  Size: SH
  15. Install the following components of the throttle valve assembly onto the upper valve body (5):
  16. • The throttle valve spring (1)

       Important: Count the number of adjusting rings prior to removal because the number of adjusting rings determines the throttle pressure. You must install the same number of rings that you removed in order to ensure proper transaxle shift points. Some valve bodies do not require adjusting rings.

    • The adjusting rings (2)
    • The throttle valve cam assembly (4)
  17. Install the vibrating stopper (3) onto the upper valve body. Secure with 1 bolt.
  18. Tighten
    Tighten the cam bolt to 10 N·m (89 lb in).


    Object Number: 163660  Size: SH
  19. Verify the locations of the throttle valve retainers (1).
  20. Install the check ball (2).

Lower Valve Body Overhaul Procedure

Tools Required

J 26900-6 Dial Caliper


    Object Number: 440343  Size: MH

    Notice: When disassembling the valve body halves, keep all valve springs, spring seats and plugs within their respective valves. Most valve springs are of different sizes and CANNOT be interchanged. Verify that all parts are clean and dry before assembly.

  1. Remove the 3 check balls (1).
  2. Remove the secondary regulator valve assembly from the lower valve body (2) by removing the following components:
  3. • The 1 key
    • The secondary regulator valve plug (14)
    • The secondary regulator valve (13)
    • The secondary regulator valve spring (12)
  4. Remove the low coast shift valve assembly from the lower valve body by removing the following components:
  5. • The 1 key
    • The low coast shift valve plug (11)
    • The low coast shift valve (10)
    • The low coast shift valve spring (9)
  6. Remove the intermediate shift valve assembly from the lower valve body by removing the following components:
  7. • The 1 key
    • The intermediate shift valve plug (8)
    • The intermediate shift valve (7)
    • The intermediate shift valve spring (6)
  8. Remove the lock-up signal valve assembly from the lower valve body by removing the following components:
  9. • The 1 pin
    • The lock-up signal valve plug (5)
    • The lock-up signal valve (4)
    • The lock-up signal valve spring (3)

    Object Number: 440344  Size: MH
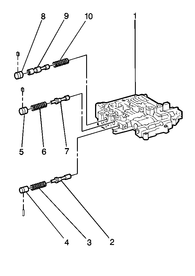
  10. Remove the pressure relief valve assembly from the lower valve body (1) by removing the following components:
  11. • The pressure relief valve (2)
    • The pressure relief valve spring (5)
  12. Remove the cooler bypass valve assembly from the lower valve body by removing the following components:
  13. • The cooler bypass valve (3)
    • The cooler bypass valve spring (4)
  14. Remove the 2-3 shift valve assembly from the lower valve body by removing the following components:
  15. • The 1 key
    • The 2-3 shift valve plug (17)
    • The 2-3 shift valve (18)
  16. Remove the detent regulator valve assembly from the lower valve body by removing the following components:
  17. • The 1 key
    • The detent regulator valve plug (16)
    • The detent regulator valve (15)
    • The detent regulator valve spring (14)
  18. Remove the 1-2 shift valve assembly from the lower valve body by removing the following components:
  19. • The 1 key
    • The 1-2 shift valve plug (13)
    • The 1-2 shift lower valve (12)
    • The 1-2 shift upper valve (11)
  20. Remove the primary regulator valve assembly from the lower valve body by removing the following components:
  21. • The 1 key
    • The primary regulator valve sleeve (10)
    • The primary regulator valve plunger (9)
    • The primary regulator valve spring (8)
    • The plate washer
    • The adjusting ring (7)
    • The primary regulator valve (6)
  22. Clean all components thoroughly with solvent. Dry the components.
  23. Inspect all valves for cracks, scoring, or other damage. Replace as necessary.
  24. Inspect all valve springs for damage or distortion. Replace as necessary.
  25. Inspect the upper valve body bores for scoring or cracks. Replace as necessary.
  26. Measure the free length and the outer coil diameter of all of the lower valve body valve springs using J 26900-6 . Replace any spring whose length does not meet the specification.

Lower Valve Body Assembly Procedure

Tools Required

J 36850 Transmission Assembly Lubricant


    Object Number: 440344  Size: MH

    Important: Use J 36850 or equivalent in order to retain the installed components.

  1. Install the components of the primary regulator valve assembly onto the lower valve body (1):
  2. • The primary regulator valve (6)
    • The adjusting ring (7)
    • The plate washer
    • The primary regulator valve spring (8)
    • The primary regulator valve plunger (9)
    • The primary regulator valve sleeve (10)
    • The 1 key
  3. Install the components of the 1-2 shift valve assembly onto the lower valve body:
  4. • The 1-2 shift upper valve (11)
    • The 1-2 shift lower valve (12)
    • The 1-2 shift valve plug (13)
    • The 1 key
  5. Install the components of the detent regulator valve assembly onto the lower valve body:
  6. • The detent regulator valve spring (14)
    • The detent regulator valve (15)
    • The detent regulator valve plug (16)
    • The 1 key
  7. Install the components of the 2-3 shift valve assembly onto the lower valve body:
  8. • The 2-3 shift valve (18)
    • The 2-3 shift valve plug (17)
    • The 1 key
  9. Install the components of the cooler bypass valve assembly onto the lower valve body:
  10. • The cooler bypass valve spring (4)
    • The cooler bypass valve (3)
  11. Install the components of the pressure relief valve assembly onto the lower valve body:
  12. • The pressure relief valve spring (5)
    • The pressure relief valve (2)

    Object Number: 440343  Size: MH
  13. Install the components of the lock-up signal valve assembly onto the lower valve body (2):
  14. • The lock-up signal valve spring (3)
    • The lock-up signal valve (4)
    • The lock-up signal valve plug (5)
    • 1 pin
  15. Install the components of the intermediate shift valve assembly onto the lower valve body :
  16. • The intermediate shift valve spring (6)
    • The intermediate shift valve (7)
    • The intermediate shift valve plug (8)
    • The 1 key
  17. Install the components of the low coast shift valve assembly onto the lower valve body:
  18. • The low coast shift valve spring (9)
    • The low coast shift valve (10)
    • The low coast shift valve plug (11)
    • The 1 key
  19. Install the components of the secondary regulator valve assembly onto the lower valve body:
  20. • The secondary regulator valve spring (12)
    • The secondary regulator valve (13)
    • The secondary regulator valve plug (14)
    • The 1 key
  21. Install the 3 check balls (1).

Valve Body Installation


    Object Number: 163665  Size: SH
  1. Install the lower valve body and the plate (as a unit) on the upper valve body.
  2. Install the following components onto the lower valve body (1):
  3. • The new gaskets
    • Install the gasket containing the larger (2) cooler by-pass valve hole to the lower valve body.
    • The plate
  4. Place the following components on the lower valve body:
  5. • A new gasket
    • A new plate
  6. Place another new gasket onto the plate.
  7. Align each bolt hole in the valve body with the 2 gaskets and the plate.
  8. Install the following components on the top of the upper valve body:
  9. • The lower valve body
    • The gasket with the plate
  10. Hold the following components securely so the components do not separate:
  11. • The lower valve body
    • The gaskets
    • The plate
  12. Align each bolt hole in the valve bodies with the following components:
  13. • The gaskets
    • The plate

    Object Number: 163672  Size: SH
  14. Install the valve body bolts.
  15. • 35 mm (1.377 in) (1)
    • 28 mm (1.102 in) (2)
    • 28 mm (1.102 in) (3)
  16. Finger tighten the 3 bolts.

  17. Object Number: 163673  Size: SH
  18. Turn the assembly over.
  19. Finger tighten the three 28 mm (1.102 in) bolts in the upper valve body.

  20. Object Number: 163678  Size: SH
  21. Install the following components:
  22. • The upper valve body cover new gaskets
    • The strainer
  23. Turn the assembly over.
  24. Install the following components:
  25. • A new gasket
    • The lower valve body cover

    Object Number: 163682  Size: SH
  26. Install the cover over a new gasket.
  27. Finger tighten the 14 bolts on the valve body cover.
  28. • The 4 bolts measure 45 mm (1.771 in) in length.
    • The 10 of the bolts (the remainder) measure 16 mm (3/4 in) in length.

    Notice: Use the correct fastener in the correct location. Replacement fasteners must be the correct part number for that application. Fasteners requiring replacement or fasteners requiring the use of thread locking compound or sealant are identified in the service procedure. Do not use paints, lubricants, or corrosion inhibitors on fasteners or fastener joint surfaces unless specified. These coatings affect fastener torque and joint clamping force and may damage the fastener. Use the correct tightening sequence and specifications when installing fasteners in order to avoid damage to parts and systems.

  29. Tighten the upper and lower valve body bolts.
  30. Tighten
    Tighten the lower valve body bolts to 5.5 N·m (49 lb in).

  31. Recheck the alignment of the gaskets
  32. Turn the assembly over.
  33. Tighten the bolts of the upper valve body.
  34. Tighten
    Tighten the upper valve body bolts to 5.5 N·m (49 lb in).

  35. Install the governor oil strainer.
  36. Install the valve body to the transaxle.