GM Service Manual Online
For 1990-2009 cars only

Crankshaft and Bearing Cleaning and Inspection Crankshaft and Bearing Inspect

Crankshaft Cleaning and Inspection

Tools Required

J 7872 Magnetic Base Dial Indicator Set

Important: Use care when handling the crankshaft. Avoid damage to the bearing surfaces.


    Object Number: 236168  Size: SH
  1. Clean the crankshaft with solvent.
  2. Thoroughly clean all oil passages and inspect for restrictions or burrs.
  3. Caution: Wear safety glasses in order to avoid eye damage.

  4. Dry the crankshaft with compressed air.
  5. Perform a visual inspection of the crankshaft for damage.

  6. Object Number: 156170  Size: SH
  7. Inspect the crankshaft journals for wear (1).
  8. Journals should be smooth with no signs of scoring, wear, or damage.

  9. Inspect the crankshaft journals for grooves or scoring (2).
  10. Inspect the crankshaft journals for scratches or wear (3).
  11. Inspect the crankshaft journals for pitting or imbedded bearing material (4).

  12. Object Number: 35207  Size: SH
  13. Measure the crankshaft journals for out-of-round.
  14. Measure the crankshaft journals for taper.

  15. Object Number: 236238  Size: SH
  16. Measure the crankshaft runout.
  17. Using wooden V blocks, support the crankshaft on the front and rear journals.

  18. Use the J 7872 in order to measure the crankshaft runout at the front and rear intermediate journals.
  19. Use the J 7872 in order to measure the runout of the crankshaft rear flange.
  20. Replace or repair the crankshaft if the measurements are not within specifications.

  21. Object Number: 52051  Size: SH
  22. Inspect crankshaft bearings for craters or pockets. Flattened sections on the bearing halves also indicate fatigue.

  23. Object Number: 52053  Size: SH
  24. Inspect the crankshaft bearings for excessive scoring or discoloration.
  25. Inspect the crankshaft bearings for dirt or debris imbedded into the bearing material.

  26. Object Number: 52056  Size: SH
  27. Inspect the crankshaft bearings for improper seating indicated by bright, polished sections of the bearing.
  28. If the lower half of the bearing is worn or damaged, both upper and lower halves should be replaced.

    Generally, if the lower half is suitable for use, the upper half should also be suitable for use.

Crankshaft and Bearing Cleaning and Inspection Bearing Selection

Crankshaft Main Bearing Selection

Tools Required

J 36660-A Torque Angle Meter

  1. The crankshaft bearings are of the precision insert type. The crankshaft bearings are available in standard and various undersizes.

  2. Object Number: 236168  Size: SH

    Important: If crankshaft bearing failure is due to other than normal wear, investigate the cause. Inspect the crankshaft bearing bores.

  3. Inspect the crankshaft main bearing bores using the following procedure:
  4. 2.1. Tighten the bearing cap to specification.
    2.2. Measure the bearing bore for taper and out-of-round.
    2.3. No taper or out-of-round should exist.

    Object Number: 236169  Size: SH
  5. Install the original crankshaft main bearing inserts on to the cylinder block and the lower crankcase assembly.
  6. Carefully place the crankshaft on to the bearing inserts in the cylinder block.
  7. Lay a piece of gaging plastic across each crankshaft main journal.
  8. Important: Do not turn the crankshaft while measuring the bearing clearance.

  9. Carefully place the lower crankcase assembly on to the cylinder block.

  10. Object Number: 236285  Size: SH

    Notice: Use the correct fastener in the correct location. Replacement fasteners must be the correct part number for that application. Fasteners requiring replacement or fasteners requiring the use of thread locking compound or sealant are identified in the service procedure. Do not use paints, lubricants, or corrosion inhibitors on fasteners or fastener joint surfaces unless specified. These coatings affect fastener torque and joint clamping force and may damage the fastener. Use the correct tightening sequence and specifications when installing fasteners in order to avoid damage to parts and systems.

  11. Install the ten main bearing cap bolts.
  12. Tighten
    Tighten the crankshaft main bearing cap bolts in the sequence shown, use three progressive steps to obtain 44 N·m (32 lb ft), then use a J 36660-A and tighten the main bearing cap bolts an additional 90 degrees.

  13. After reaching the proper torque, remove the ten crankshaft main bearing cap bolts.
  14. Carefully remove the lower crankcase assembly from the cylinder block.

  15. Object Number: 236172  Size: SH
  16. Measure the gaging plastic at its widest point.
  17. Standard Oil Clearance
    0.015-0.032 mm (0.0006-0.0013 in)

    Maximum Oil Clearance
    0.050 mm (0.0020 in)


    Object Number: 236174  Size: SH
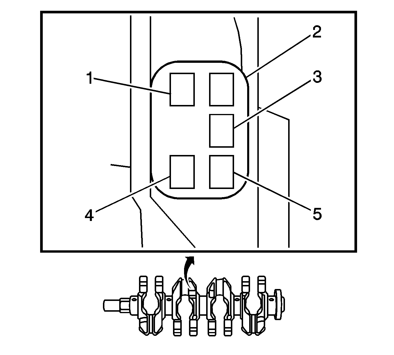
  18. If using a standard bearing, replace it with one having the same number. If the number of the bearing cannot be determined, select the correct bearing by determining the numbers imprinted on the cylinder block (1-5).

  19. Object Number: 1627267  Size: SH
  20. If using a standard bearing, replace it with one having the same number. If the number of the bearing cannot be determined, select the correct bearing by determining the numbers imprinted on the crankshaft (1-5). Refer to Engine Mechanical Specifications in Engine Mechanical 1.8L.