GM Service Manual Online
For 1990-2009 cars only
Table 1: Fuse and Relay Block 1 C2
Table 2: Fuse and Relay Block 1 C3
Table 3: Fuse and Relay Block 1 C4
Table 4: Fuse and Relay Block 1 C5
Table 5: Fuse and Relay Block 1 C6
Table 6: Fuse and Relay Block 1 C7
Table 7: Fuse and Relay Block 1 C8
Table 8: Fuse and Relay Block 1 C10
Table 9: Ignition Alarm Switch and Key Lock Solenoid
Table 10: Ignition Switch
Table 11: Junction Block 1 C1
Table 12: Junction Block 1 C2
Table 13: Junction Block 1 C3
Table 14: Junction Block 1 C4
Table 15: Junction Block 1 C5
Table 16: Junction Block 1 C6
Table 17: Junction Block 1 C7
Table 18: Junction Block 2 C1
Table 19: Junction Block 2 C2
Table 20: Junction Block 2 C3
Table 21: Junction Block 2 C4
Table 22: Junction Block 2 C5
Table 23: Junction Block 2 C6
Table 24: Junction Block 2 C7
Table 25: Junction Block 2 C8
Table 26: Junction Block 2 C9
Table 27: Junction Block 3 C1
Table 28: Junction Block 3 C2
Table 29: Junction Block 3 C3
Table 30: Junction Block 3 C4

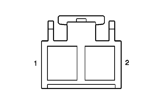
Fuse and Relay Block 1 C2


Object Number: 334469  Size: CH

Connector Part Information

    • 90980-11542
    • BLK

Pin

Wire Color

Function

1-7

--

Not Used

8

RED/WHT

Battery Positive Voltage

9

--

Not Used

10

WHT/BLK

Ground

11

BLK/WHT

Crank Signal

12-13

--

Not Used

Fuse and Relay Block 1 C3


Object Number: 334470  Size: CH

Connector Part Information

    • 90980-11686
    • WHT

Pin

Wire Color

Function

1

BLK/RED

Fan No. 1 Relay Output

2

RED/YEL

Dimmer Relay Output (High)

3

RED

Head Relay Output

4

BLK/RED

Dimmer Relay Output (High)

5

RED/YEL

Dimmer Relay Output (High)

6

--

Not Used

7

WHT

Fan No. 1 Relay Output

8

BLK/RED

Battery Positive Voltage

Fuse and Relay Block 1 C4


Object Number: 334471  Size: CH

Connector Part Information

    • 90980-11685
    • WHT

Pin

Wire Color

Function

1

--

Not Used

2

WHT

Battery Positive Voltage

3

BLK

Battery Positive Voltage

Fuse and Relay Block 1 C5


Object Number: 428545  Size: CH

Connector Part Information

    • 90980-11539
    • WHT

Pin

Wire Color

Function

1-2

--

Not Used

3

WHT

Battery Positive Voltage

4

--

Not Used

5

BLK/WHT

A/C MG Relay Output

6

BLK/YEL

Ignition Positive Voltage

7

BLK/ORN

Ignition Positive Voltage

8

RED/WHT

Head Relay Control

9

WHT/BLK

ST Relay Control

10

GRN/RED

Horn Relay Control

11

BLU/YEL

Battery Positive Voltage

Fuse and Relay Block 1 C6


Object Number: 428546  Size: CH

Connector Part Information

    • 90980-11527
    • BLK

Pin

Wire Color

Function

1-2

--

Not Used

3

WHT

Battery Positive Voltage

4

BLK/WHT

Crank Signal

5-8

--

Not Used

9

BLK/WHT

AC MG Relay Output

10

BLK

EFI Relay Output

Fuse and Relay Block 1 C7


Object Number: 334472  Size: CH

Connector Part Information

    • 90980-11013
    • WHT

Pin

Wire Color

Function

1

BLK

Horn Relay Output

2

BLU/BLK

Fan No. 1 Relay Control

3

--

Not Used

4

WHT/BLK

Ground

Fuse and Relay Block 1 C8


Object Number: 335015  Size: CH

Connector Part Information

    • 90980-11888
    • BLK

Pin

Wire Color

Function

1-2

--

Not Used

3

BLK

Crank Signal

4

--

Not Used

5

BLK

ST Relay Output

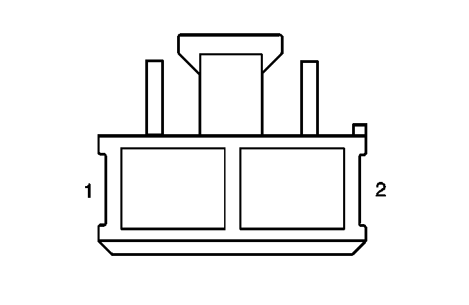
Fuse and Relay Block 1 C10


Object Number: 334468  Size: CH

Connector Part Information

    • 90980-11684
    • WHT

Pin

Wire Color

Function

1

BLU

RDI Fuse

2

WHT

Battery Positive Voltage

Ignition Alarm Switch and Key Lock Solenoid


Object Number: 334992  Size: CH

Connector Part Information

    • 90980-10795
    • WHT

Pin

Wire Color

Function

1

WHT/BLK

Ground

2

BLU/BLK

Battery Positive Voltage

3

WHT/BLK

Ground

4

BLU/RED

Key Lock Solenoid Control

Ignition Switch


Object Number: 334474  Size: CH

Connector Part Information

    • 90980-11615
    • WHT

Pin

Wire Color

Function

1

--

Not Used

2

WHT

Battery Positive Voltage

3

BLU/RED

Accessory/On Output

4

BLK/YEL

On/Start Output

5

--

Not Used

6

BLK/WHT

On/Start Output

7

BLK/RED

Battery Positive Voltage

8

RED

Start Output

Junction Block 1 C1


Object Number: 334475  Size: CH

Connector Part Information

    • 90980-10789
    • WHT

Pin

Wire Color

Function

1

--

Not Used

2

WHT/BLK

Ground

3

BLU/YEL

Battery Positive Voltage

4

--

Not Used

5

BLK

Ignition Positive Voltage

Junction Block 1 C2


Object Number: 334980  Size: CH

Connector Part Information

    • 90980-11604
    • WHT

Pin

Wire Color

Function

1

GRN/YEL

Right Turn Signal

2

--

Not Used

3

BLU

Ignition Positive Voltage

4

BLU/YEL

Battery Positive Voltage

5

RED/YEL

Brake Indicator Control

6

GRN/BLK

Left Turn Signal

7

--

Not Used

8

RED/BLU

RH Headlamp Control

9

--

Not Used

10

RED/BLK

LH Headlamp Control

11

GRN

Lights ON Signal

12

GRN

Lights ON Signal

13

--

Not Used

Junction Block 1 C3


Object Number: 334469  Size: CH

Connector Part Information

    • 90980-11542
    • BLK

Pin

Wire Color

Function

1

GRN/WHT

Brake Signal

2

RED/YEL

Headlamps Control

3

RED/YEL

Brake Indicator Control

4

RED/WHT

Headlamp Signal

5

--

Not Used

6

BLU/BLK

Key In Signal

7

BLU/BLK

Key In Signal

8

--

Not Used

9

RED/BLK

Backup Lamp Signal

10

BLU/YEL

Battery Positive Voltage

11

--

Not Used

12

RED/WHT

Door Open Signal

13

WHT/BLK

Ground

Junction Block 1 C4


Object Number: 428549  Size: CH

Connector Part Information

    • 90980-11535
    • BLU

Pin

Wire Color

Function

1

GRN/WHT

Flasher Output

2

GRN/YEL

Right Turn Signal

3

GRN/YEL

Hazard Switch Output

4

GRN

Lights On Signal

5-7

--

Not Used

8

GRN/BLK

Hazard Switch Output

9

GRN/BLK

Left Turn Signal

Junction Block 1 C5


Object Number: 428545  Size: CH

Connector Part Information

    • 90980-11539
    • WHT

Pin

Wire Color

Function

1

GRN/BLK

Left Turn Signal

2

GRN

Lights On Signal

3

BLU/BLK

Fuel Pump Control

4

RED/BLK

Backup Lamp Signal

5

GRN/YEL

Right Turn Signal

6

--

Not Used

7

GRN/WHT

Brake Signal

8

--

Not Used

9

BLU/YEL

Battery Positive Voltage

10

--

Not Used

11

RED/WHT

Door Open Signal (Rear Door Jamb Switches)

Junction Block 1 C6


Object Number: 334469  Size: CH

Connector Part Information

    • 90980-11542
    • BLK

Pin

Wire Color

Function

1

RED/WHT

Headlamp Signal, Dimmer Switch

2

RED/WHT

Headlamp Signal, Light Switch

3

WHT/BLK

Ground

4

GRN/WHT

Flasher Output

5

GRN/WHT

Flasher Output

6

BLU

Ignition Positive Voltage

7

--

Not Used

8

GRN/WHT

Brake Signal

9

GRN

Lights On Signal

10

GRN/YEL

Right Turn Signal

11

--

Not Used

12

GRN/BLK

Left Turn Signal

13

--

Not Used

Junction Block 1 C7


Object Number: 428545  Size: CH

Connector Part Information

    • 90980-11539
    • WHT

Pin

Wire Color

Function

1

RED/WHT

Door Open Signal (W/Out RKE)

2

WHT/BLK

Ground

3-4

--

Not Used

5

BLK

Ignition Positive Voltage

6

BLU/YEL

Battery Positive Voltage

7-8

--

Not Used

9

BLU/BLK

Fuel Pump Control

10

BLU/BLK

Key In Signal

11

GRN/WHT

Brake Signal

Junction Block 2 C1


Object Number: 335009  Size: CH

Connector Part Information

    • 90980-10933
    • WHT

Pin

Wire Color

Function

1-3

--

Not Used

4

BLK/ORN

Ignition Positive Voltage

5

BLK/YEL

Ignition Positive Voltage

6

BLK/YEL

Ignition Positive Voltage

Junction Block 2 C2


Object Number: 335015  Size: CH

Connector Part Information

    • 90980-10888
    • WHT

Pin

Wire Color

Function

1

WHT

Battery Positive Voltage

2-3

--

Not Used

4

WHT

Battery Positive Voltage

5

BLK/RED

Battery Positive Voltage

Junction Block 2 C3


Object Number: 428546  Size: CH

Connector Part Information

    • 90980-11527
    • WHT

Pin

Wire Color

Function

1-2

--

Not Used

3

BLK/WHT

Ignition Positive Voltage

4

BLU

Ignition Positive Voltage

5

BLU

Ignition Positive Voltage

6

LT GRN

Tail Relay Control

7

RED/WHT

Battery Positive Voltage

8

BLK/WHT

Ignition Positive Voltage

9

GRN

Lights On Signal

10

--

Not Used

Junction Block 2 C4


Object Number: 334896  Size: CH

Connector Part Information

    • 90980-11701
    • WHT

Pin

Wire Color

Function

1

WHT/BLU

Battery Positive Voltage

2

RED/BLU

Ignition Positive Voltage

3

WHT/RED

Battery Positive Voltage

4-6

--

Not Used

7

RED/WHT

LH Front Door Open Signal

8

BLK/YEL

Ignition Positive Voltage

Junction Block 2 C5


Object Number: 428549  Size: CH

Connector Part Information

    • 90980-11535
    • WHT

Pin

Wire Color

Function

1

--

Not Used

2

RED/GRN

Battery Positive Voltage

3

--

Not Used

4

GRN/ORN

Ignition Positive Voltage

5

BLK

DEF Relay Output

6-7

--

Not Used

8

BLK/ORN

Ignition Positive Voltage

9

--

Not Used

Junction Block 2 C6


Object Number: 334900  Size: CH

Connector Part Information

    • 90980-11552
    • WHT

Pin

Wire Color

Function

1

BLK/YEL

Ignition Positive Voltage

2

WHT

Battery Positive Voltage

3

BLK/WHT

Ignition Positive Voltage

4

RED

Ignition Positive Voltage

5

BLK/RED

Battery Positive Voltage

6

BLU/RED

Ignition Positive Voltage

Junction Block 2 C7


Object Number: 334469  Size: CH

Connector Part Information

    • 90980-11542
    • WHT

Pin

Wire Color

Function

1

RED/BLU

Ignition Positive Voltage

2

--

Not Used

3

BLK/WHT

Ignition Positive Voltage

4-5

--

Not Used

6

GRY

Ignition Positive Voltage

7

WHT/BLK

Ground

8

--

Not Used

9

BLK/YEL

Ignition Positive Voltage

10

RED

Battery Positive Voltage

11

BLK

Defogger Indicator Control

12

BLK/BLU

DEF Relay Control

13

RED/BLU

Ignition Positive Voltage

Junction Block 2 C8


Object Number: 334902  Size: CH

Connector Part Information

    • 90980-10916
    • WHT

Pin

Wire Color

Function

1

BLK

DEF Relay Output

2

--

Not Used

Junction Block 2 C9


Object Number: 334445  Size: CH

Connector Part Information

    • 90980-10904
    • YEL

Pin

Wire Color

Function

1

WHT/BLK

Ground

2

GRY

Ignition Positive Voltage

3

--

Not Used

4

BLK/ORN

Ignition Positive Voltage

Junction Block 3 C1


Object Number: 334904  Size: CH

Connector Part Information

    • 90980-10821
    • WHT

Pin

Wire Color

Function

1

BLU/YEL

Battery Positive Voltage

2

GRN

Lights On Signal

3-5

--

Not Used

6

RED/BLU

Ignition Positive Voltage

7

--

Not Used

8

WHT/BLK

Ground

9

--

Not Used

10

BLU/YEL

Battery Positive Voltage

11

GRN

Lights On Signal

12

GRN

Lights On Signal

13

GRY

Ignition Positive Voltage

14

WHT/GRN

Illumination Lamps Control

15

WHT/GRN

Illumination Lamps Control

16

RED/YEL

Brake Indicator Control

17

--

Not Used

18

PPL/WHT

Vehicle Speed Output (W/ Cruise)

19

WHT/BLK

Ground

20

WHT/BLK

Ground

Junction Block 3 C2


Object Number: 334906  Size: CH

Connector Part Information

    • 90980-10875
    • GRY

Pin

Wire Color

Function

1

BLU/YEL

Battery Positive Voltage

2

GRN

Lights On Signal

3

--

Not Used

4

GRY

Ignition Positive Voltage

5

WHT/GRN

Illumination Lamps Control

6-7

--

Not Used

8

WHT/BLK

Ground

9

WHT/BLK

Ground

10

--

Not Used

11

BLU/YEL

Battery Positive Voltage

12

GRN

Lights On Signal

13

GRN

Lights On Signal

14

--

Not Used

15

WHT/GRN

Illumination Lamps Control

16

--

Not Used

17

RED/YEL

Brake Indicator Control

18

RED/BLU

Ignition Positive Voltage

19

PPL/WHT

Vehicle Speed Output

20

WHT/BLK

Ground

21

GRN/WHT

Brake Signal

22

BLK/YEL

Ignition Positive Voltage

Junction Block 3 C3


Object Number: 334908  Size: CH

Connector Part Information

    • 90980-11238
    • WHT

Pin

Wire Color

Function

1

BLK/YEL

Ignition Positive Voltage

2

GRN/WHT

Brake Signal

3

WHT/BLK

Air Conditioning On Signal

4

PPL/WHT

Vehicle Speed Output

5

RED/BLU

Ignition Positive Voltage

6

WHT/GRN

Illumination Lamps Control

7-12

--

Not Used

13

WHT/BLK

Ground

14

RED/BLU

Ignition Positive Voltage

15

RED/BLU

Ignition Positive Voltage

16

RED/YEL

Brake Indicator Control

17

WHT/GRN

Illumination Lamps Control

18

WHT/GRN

Illumination Lamps Control

19

GRY

Ignition Positive Voltage

20

GRN

Lights On Signal

21

GRN

Lights On Signal

22

BLU/YEL

Battery Positive Voltage

Junction Block 3 C4


Object Number: 334910  Size: CH

Connector Part Information

    • 90980-10819
    • WHT

Pin

Wire Color

Function

1

GRN/WHT

Brake Signal

2

WHT/BLK

Ground

3

--

Not Used

4

RED/BLU

Ignition Positive Voltage

5

WHT/GRN

Illumination Lamps Control

6

GRY

Ignition Positive Voltage

7

GRN

Lights On Signal

8

--

Not Used

9

GRN/WHT

Brake Signal

10

WHT/BLK

Ground

11-13

--

Not Used

14

WHT/GRN

Illumination Lamps Control

15

WHT/GRN

Illumination Lamps Control

16

--

Not Used

17

GRN

Lights On Signal

18

GRN

Lights On Signal