GM Service Manual Online
For 1990-2009 cars only

Removal Procedure

Important: 

   • Do not attempt to replace the rear window reveal molding without removing the rear window.
   • When replacing the rear window, do not reuse the original rear window reveal molding. Replace the original rear window reveal molding using a new rear window reveal molding.
   • New rear window reveal moldings are primed and will adhere to the urethane adhesive.
   • Prefit the rear window reveal molding to the rear window as an assembly on the body prior to the actual installation.
   • Use a heat lamp in order to ensure that the rear window reveal molding becomes more pliable.


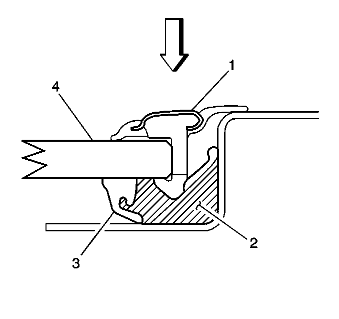
    Object Number: 245242  Size: SH
  1. Remove the rear window (4). Refer to Rear Window Replacement .
  2. Remove the rear window reveal molding (1) from the rear window.

Installation Procedure


    Object Number: 245242  Size: SH
  1. Install the rear window reveal molding (1) to the rear window.
  2. Starting at the center, hand press the rear window reveal molding into position.

  3. Prefit the rear window reveal molding and the rear window as an assembly to the body prior to the actual installation.
  4. Apply tape in order to position the rear window reveal molding flush with the rear window.

  5. Install the rear window (4). Refer to Rear Window Replacement .