GM Service Manual Online
For 1990-2009 cars only
    • J 35566 Seal Clamp Tool
    • J 22912-B Bearing Puller
    • J 22610 Service Boot Clamp Installer

Disassembly Procedure


    Object Number: 237899  Size: SH

    Notice: When servicing the wheel drive shaft(s), place reference marks on all components to ensure that all components are reassembled in the correct position. If the components are not reassembled in the correct position, premature wear of the joint and/or excessive driveline vibrations may occur.

  1. Remove the wheel drive shaft. Refer to Wheel Drive Shaft Replacement .
  2. Remove the large side inner joint boot clamp (2) by drawing the clamp hooks together using the J 35566 .


    Object Number: 237891  Size: SH
  3. Remove the small side inner joint boot clamp (3).

  4. Object Number: 237897  Size: SH
  5. Slide the boot towards the center of the wheel drive shaft.
  6. Place index marks (1) on the inner joint housing (2) and the wheel drive shaft to ensure correct assembly.
  7. Remove the inner joint housing from the tripot joint spider.

  8. Object Number: 237894  Size: SH
  9. Place index marks (3) on the tripot joint spider (1) and the wheel drive shaft (2).

  10. Object Number: 237892  Size: SH
  11. Remove the snap ring (3) from the wheel drive shaft (1).

  12. Object Number: 325419  Size: SH
  13. Use a brass drift and a hammer to remove the tripot joint from the wheel drive shaft. Place the drift on the tripot body, not the roller.

  14. Object Number: 237886  Size: SH
  15. Remove the tripot joint (2) from the wheel drive shaft (1).
  16. Notice: Do not wash the Tri-Pot joint spider in solvent or degreaser. Washing the Tri-Pot joint spider in solvent or degreaser will remove all of the lubrication in the spider's needle bearings. Use only a clean, dry, solvent-free rag to clean the Tri-Pot spider assembly.

  17. Clean the tripot joint with a clean, dry, solvent free cloth.
  18. Inspect the tripot joint for excessive wear or damage. If any excessive wear, damage, or abnormality is found, replace the tripot joint as an assembly.

  19. Object Number: 237889  Size: SH
  20. Remove the inner boot (1) from the wheel drive shaft (2).
  21. Notice: Do not clean the wheel drive shaft boot(s) in solvent. Cleaning the wheel drive shaft boot(s) in degreaser or other solvents can cause the boot(s) to deteriorate. Use only a clean, dry, solvent-free cloth to clean the wheel drive shaft boot(s).

  22. Clean the inner boot with a clean, dry, solvent free cloth.
  23. Inspect the inner boot for tears, damage or fatigue. Replace as necessary.
  24. Inspect the dynamic dampener on the right wheel drive shaft for damage or distortion. Replace as necessary.

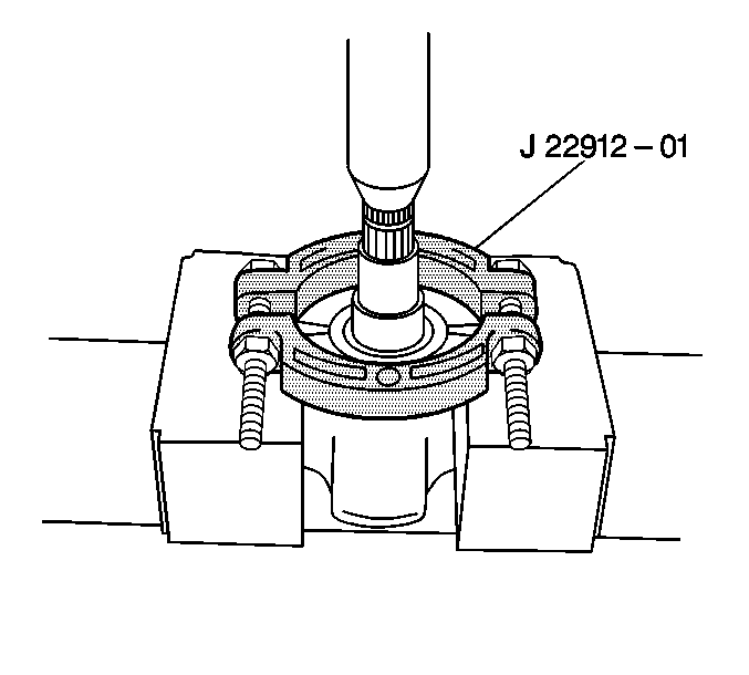
  25. Object Number: 237885  Size: SH
  26. Remove the inner joint housing seal using the J 22912-B and a press.

Assembly Procedure


    Object Number: 237881  Size: SH
  1. Install the inner joint seal using a press.

  2. Object Number: 237850  Size: SH
  3. If the damper was removed, install the damper to the wheel drive shaft before installing the inner joint.
  4. Install the damper assembly (right side wheel drive shaft only) to the wheel drive shaft.
  5. The damper should be located on the groove on the wheel drive shaft.
  6. The damper centerline should be 431.3 mm (16.980 in), plus or minus 3.0 mm (0.118 in) from the outer joint. Crimp the damper clamp using the J 22610 .

  7. Object Number: 175597  Size: SH
  8. Install the inner joint housing boot (2) and clamps (3) to the wheel drive shaft. Do not crimp the clamps at this time.

  9. Object Number: 237886  Size: SH
  10. Align the index marks on the tripot joint (2) and the wheel drive shaft (1).

  11. Object Number: 325996  Size: SH

    Important: Place the side of the tripot joint with the bevelled splines (1) away from the transaxle.

  12. Install the tripot joint (3) onto the wheel drive shaft.

  13. Object Number: 237892  Size: SH
  14. Install the snap ring (3).

  15. Object Number: 237867  Size: SH
  16. Pack the inner joint housing (2) with 165-185 grams (5.8-6.4 oz) of grease (yellow) supplied with inner joint boot kit.

  17. Object Number: 237897  Size: SH
  18. Align the index marks (1) on the inner joint housing and the tripot joint.
  19. Install the inner joint housing to the tripot joint.

  20. Object Number: 325997  Size: SH
  21. Install the inner joint boot (1) and clamps to the inner joint housing.

  22. Object Number: 237853  Size: SH
  23. Measure the wheel drive shaft length (1) to ensure that the boots are not stretched or excessively contracted when the wheel drive shaft is at standard length.
  24. • Right wheel drive shaft standard length is 857.4 mm (33.756 in), plus or minus 5.0 mm (0.197 in).
    • Left wheel drive shaft standard length is 540.2 mm (21.268 in), plus or minus 5.0 mm (0.197 in).

    Important: Use the J 35566 to draw the closing hooks of the clamp together, so that the clamp locks into position.

  25. Crimp the clamps using the J 35566 .
  26. Check the boots for distortion or dents. Correct as necessary.
  27. Install the wheel drive shaft. Refer to Wheel Drive Shaft Replacement .