GM Service Manual Online
For 1990-2009 cars only
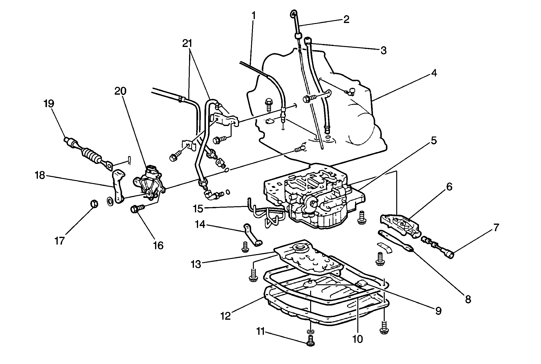
Figure 1:

Valve Body Components


Object Number: 163890  Size: MF
(1)Throttle Cable
(2)Oil Filler Gage
(3)Oil Filler Tube
(4)Transaxle Case
(5)Valve Body
(6)Manual Valve Body
(7)Manual Valve
(8)Detent Spring
(9)Magnet
(10)Oil Pan Gasket
(11)Drain Plug
(12)Oil Pan
(13)Oil Strainer
(14)Oil Tube Bracket
(15)Oil Tube
(16)Bolt
(17)Shift Lever Retaining Nut
(18)Shift Lever
(19)Transaxle Control Cable
(20)Park/Neutral Position (PNP) Switch
(21)Oil Cooler Pipe
Figure 2:

Accumulators And Servos


Object Number: 163893  Size: MF
(1)Governor Body Adapter
(2)Plate Washer
(3)Governor Body
(4)Thrust Washer
(5)O-Ring
(6)Cover
(7)Bracket
(8)Governor Oil Strainer
(9)Governor Apply Gasket
(10)Cover
(11)Gasket
(12)Piston
(13)Spring
(14)Outer Return Spring
(15)Second Coast Brake Piston
(16)O-Ring
(17)Cover
(18)Snap Ring
(19)Snap Ring
(20)Second Coast Brake Piston
(21)O-Ring
(22)Inner Return Spring
(23)Washer
(24)Rod
Figure 3:

Clutch Packs And Front Pump


Object Number: 163896  Size: MF
(1)Oil Pump
(2)O-Ring
(3)Thrust Washer
(4)Direct Clutch
(5)Thrust Washer
(6)Race
(7)Thrust Bearing
(8)Race
(9)Forward Clutch
(10)Race
(11)Thrust Bearing
(12)Race
(13)Pin
(14)Second Coast Brake Band
(15)Front Planetary Ring Gear
(16)Race
(17)Thrust Bearing
(18)Race
(19)Front Planetary Gear
(20)Race
(21)Thrust Bearing
(22)Input Sun Gear Drum And Sun Gear
(23)Thrust Washer
(24)No. 1 One-Way Clutch
(25)Snap Ring
(26)Second Brake Drum
(27)Piston Return Spring
(28)Plate
(29)Disc
(30)Flange
(31)Snap Ring
(32)No. 2 One-Way Clutch
(33)Thrust Washer
(34)Rear Planetary Gear
(35)Thrust Washer
(36)Race
(37)Thrust Bearing
(38)Race
(39)Rear Planetary Ring Gear
(40)Snap Ring
(41)Flange
(42)Disc
(43)Plate
(44)Flange
(44)Second Coast Brake Band Guide
(45)Second Brake Drum Gasket
Figure 4:

Rear Assembly


Object Number: 163897  Size: MF
(1)Snap Ring
(2)Intermediate Shaft
(3)Gasket
(4)Transaxle Rear Cover
(5)Bolt
(6)Parking Lock Pawl Bracket
(7)Retaining Spring
(8)Manual Valve Lever
(9)Parking Lock Pawl Rod
(10)Collar
(11)Roll Pin
(12)Manual Valve Lever Shaft
(13)Oil Seal
(14)Torsion Spring
(15)Governor Pressure Adaptor
(16)1st and Reverse Brake Piston
(17)O-Ring
(18)1st and Reverse Brake Return Spring
(19)Snap Ring
Figure 5:

Direct Clutch


Object Number: 163878  Size: MF
(1)Direct Clutch Drum
(2)Piston
(3)O-Ring
(4)Piston Return Spring
(5)Spring Retainer
(6)Snap Ring
(7)Plate
(8)Disc
(9)Flange
(10)Snap Ring
Figure 6:

Forward Clutch


Object Number: 163899  Size: SH
(1)Input Shaft Seal Rings
(2)Forward Clutch Drum
(3)Forward Clutch Piston
(4)Forward Clutch Piston Seals
(5)Forward Clutch Piston Return Spring
(6)Forward Clutch Piston Return Spring Snap Ring
(7)Forward Clutch Plates
(7)Forward Clutch Plates
(8)Forward Clutch Discs
(8)Forward Clutch Discs
(9)Forward Clutch Flange
(10)Forward Clutch Snap Ring
Figure 7:

One-Way Clutch And Rear Planetary Gear


Object Number: 163910  Size: MF
(1)Thrust Washer
(2)Snap Ring
(3)Side Retainer
(4)One-Way Clutch
(5)Side Retainer
(6)Snap Ring
(7)One-Way Clutch Outer Race
(8)Rear Planetary Gear
(9)Thrust Washer
Figure 8:

Valve Body


Object Number: 163912  Size: MF
(1)Upper Valve Body Cover
(2)Gasket
(3)Plate
(4)Gasket
(5)Upper Valve Body
(6)Gasket
(7)Plate
(8)Gasket
(9)Lower Valve Body
(10)Lower Valve Body
(11)Strainer
Figure 9:

Upper Valve Body


Object Number: 163914  Size: MF
(1)Upper Valve Body Cover Plate
(2)Retainer
(3)Sleeve
(4)Lock-Up Relay Valve
(5)Control Valve
(6)Cut-Back Valve
(7)Plug
(8)Retainer
(9)Retainer
(10)Adjuster Ring
(11)2nd Coast Modulator Valve
(12)Retainer
(13)Pin
(14)Retainer
(15)Kick-Down Valve
(16)Sleeve
(17)Cam
(18)Throttle Valve
(19)Pin
(20)Low Coast Modulator Valve
(21)Plug
(22)Accumulator Control Valve
(23)Throttle Modulator Valve
(24)Plug
(25)Retainer
(26)Check Ball
(27)Strainer
Figure 10:

Lower Valve Body


Object Number: 163923  Size: MF
(1)Oil Cooler By-Pass Valve
(2)Secondary Regulator Valve
(3)Plug
(4)Retainer
(5)Low Coast Shift Valve
(6)Lock-Up Control Valve
(7)Intermediate Shift Valve
(8)Plug
(9)Lock-Up Signal Valve
(10)Pin
(11)2-3 Shift Valve
(12)Plug
(13)Detent Regulator Valve
(14)Retainer
(15)Plug
(16)1-2 Shift Valve
(17)Retainer
(18)Sleeve
(19)Plunger
(20)Primary Regulator Valve
(21)Damping Check Valve
(22)Check Balls
Figure 11:

Differential Ring Gear Components


Object Number: 163928  Size: MF
(1)Retaining Plate
(2)Drive Pinion
(3)Side Bearing Cap
(4)Bearing Cap Bolt
(5)Gasket
(6)Carrier Cover
(7)Bolt
(8)Filler Plug
(9)Drain Plug
(10)Gasket
(11)Adjusting Shim
(12)Outer Race
(13)Differential Case
(14)Ring Gear
(15)O-Ring
(16)Outer Race
(17)Shim
(18)LH Side Bearing Retainer
(19)LH Oil Seal
(20)Transaxle Case
(21)Vehicle Speed Sensor (VSS)
Figure 12:

Differential Components


Object Number: 163930  Size: MF
(1)Drive Pinion
(2)Bearing
(3)Outer Race
(4)Bearing Cage
(5)Oil Seal
(6)O-Ring
(7)Governor Drive Gear
(8)Spacer
(9)Snap Ring
(10)Oil Slinger
(11)Outer Race
(12)Bearing
(13)Counter Driven Gear
(14)Locknut
(15)Parking Lock Pawl
(16)Spring
(17)Pin
(18)Retaining Spring
(19)Manual Valve Lever
(20)Collar
(21)Parking Lock Pawl Rod
(22)Parking Lock Pawl Bracket
(23)Bolt
(24)Roll Pin
(25)Manual Valve Lever Shaft
(26)Oil Seal
(27)Governor Pressure Adapter
(28)Torsion Spring