GM Service Manual Online
For 1990-2009 cars only

Tools Required

J 36850 Transjel® Transmission Assembly Lubricant

Removal Procedure

    Caution: Wear safety glasses in order to avoid eye damage.

    Important: When using compressed air to remove components, air pressure should not exceed 98 kPa (14 psi).


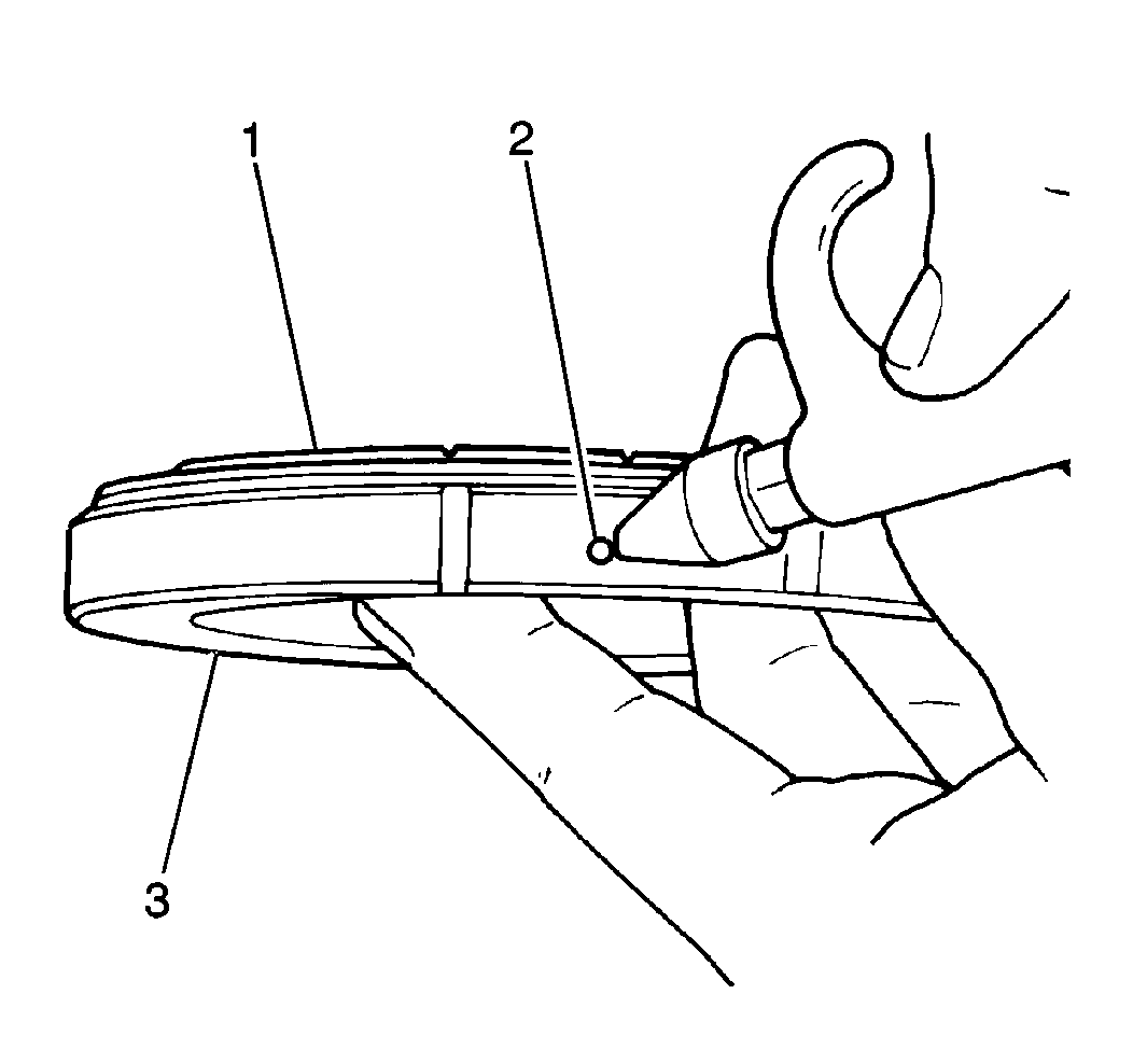
    Object Number: 165063  Size: SH
  1. Remove the two intermediate brake piston from the intermediate brake drum by applying low pressure compressed air into the intermediate brake apply passage (1) on the intermediate brake drum (3).

  2. Object Number: 165065  Size: SH
  3. Remove the intermediate brake piston seals (2) from the intermediate brake piston (1).
  4. Clean all the intermediate brake components and dry thoroughly.
  5. Inspect the intermediate brake discs for excessive wear or damage and replace as necessary.
  6. Inspect the intermediate brake piston for cracks or porosity and replace as necessary.
  7. Inspect the intermediate brake piston return spring for distortion or weakness and replace as necessary.

Installation Procedure

  1. Install the new intermediate brake piston seals onto the intermediate brake piston.
  2. Apply J 36850 to the new intermediate brake piston seals.

  3. Object Number: 165066  Size: SH
  4. Install the intermediate brake piston (1) into the intermediate brake drum (2) with the cup side facing outwards.