GM Service Manual Online
For 1990-2009 cars only

Removal Procedure

    Important: When installing a new tube assembly add 30 ml (1.0 fl oz) of refrigerant oil to the system.

  1. Discharge and recover the refrigerant. Refer to Refrigerant Recovery and Recharging .
  2. Remove the cruise control actuator motor, if equipped. Refer to Cruise Control Servo Replacement in Cruise Control.

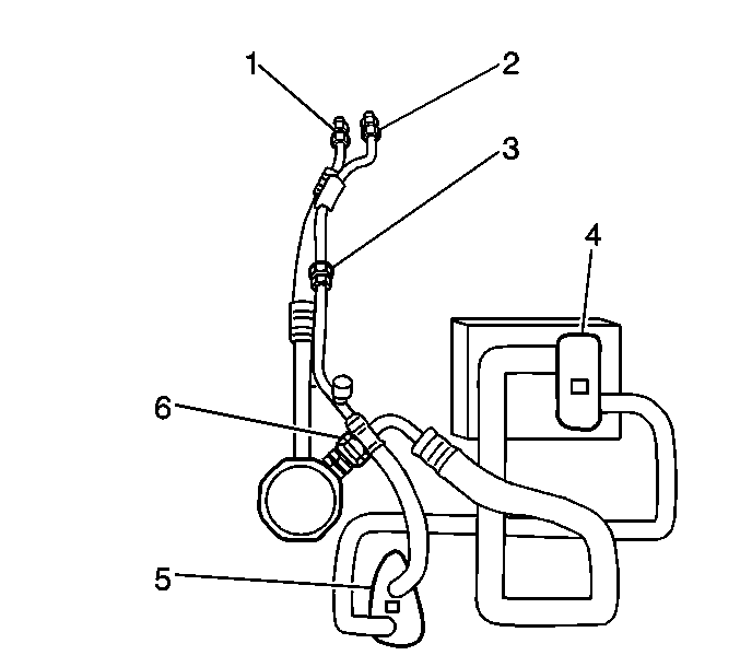
  3. Object Number: 244238  Size: SH

    Important: Cap the open fittings to prevent dirt and moisture from entering the refrigeration system.

  4. Remove the evaporator liquid hose from the evaporator liquid tube (3).
  5. Remove the evaporator liquid tube at the evaporator (2).
  6. Remove the evaporator liquid tube from the vehicle.

Installation Procedure

  1. Install new O-rings lubricated with 525 viscosity mineral oil.
  2. Position the evaporator liquid tube into the vehicle.

  3. Object Number: 244238  Size: SH

    Notice: Use the correct fastener in the correct location. Replacement fasteners must be the correct part number for that application. Fasteners requiring replacement or fasteners requiring the use of thread locking compound or sealant are identified in the service procedure. Do not use paints, lubricants, or corrosion inhibitors on fasteners or fastener joint surfaces unless specified. These coatings affect fastener torque and joint clamping force and may damage the fastener. Use the correct tightening sequence and specifications when installing fasteners in order to avoid damage to parts and systems.

  4. Install the evaporator liquid tube at the evaporator (2).
  5. Install the evaporator liquid hose to the evaporator liquid tube (3).
  6. Tighten
    Tighten the evaporator tube fittings to 25 N·m (19 lb ft).

  7. Install the cruise control actuator motor, if removed. Refer to Cruise Control Servo Replacement in Cruise Control.
  8. Evacuate and recharge the refrigerant system. Refer to Refrigerant Recovery and Recharging .
  9. Operate the A/C system and test for refrigerant leaks. Refer to Leak Testing .