GM Service Manual Online
For 1990-2009 cars only
Figure 1:

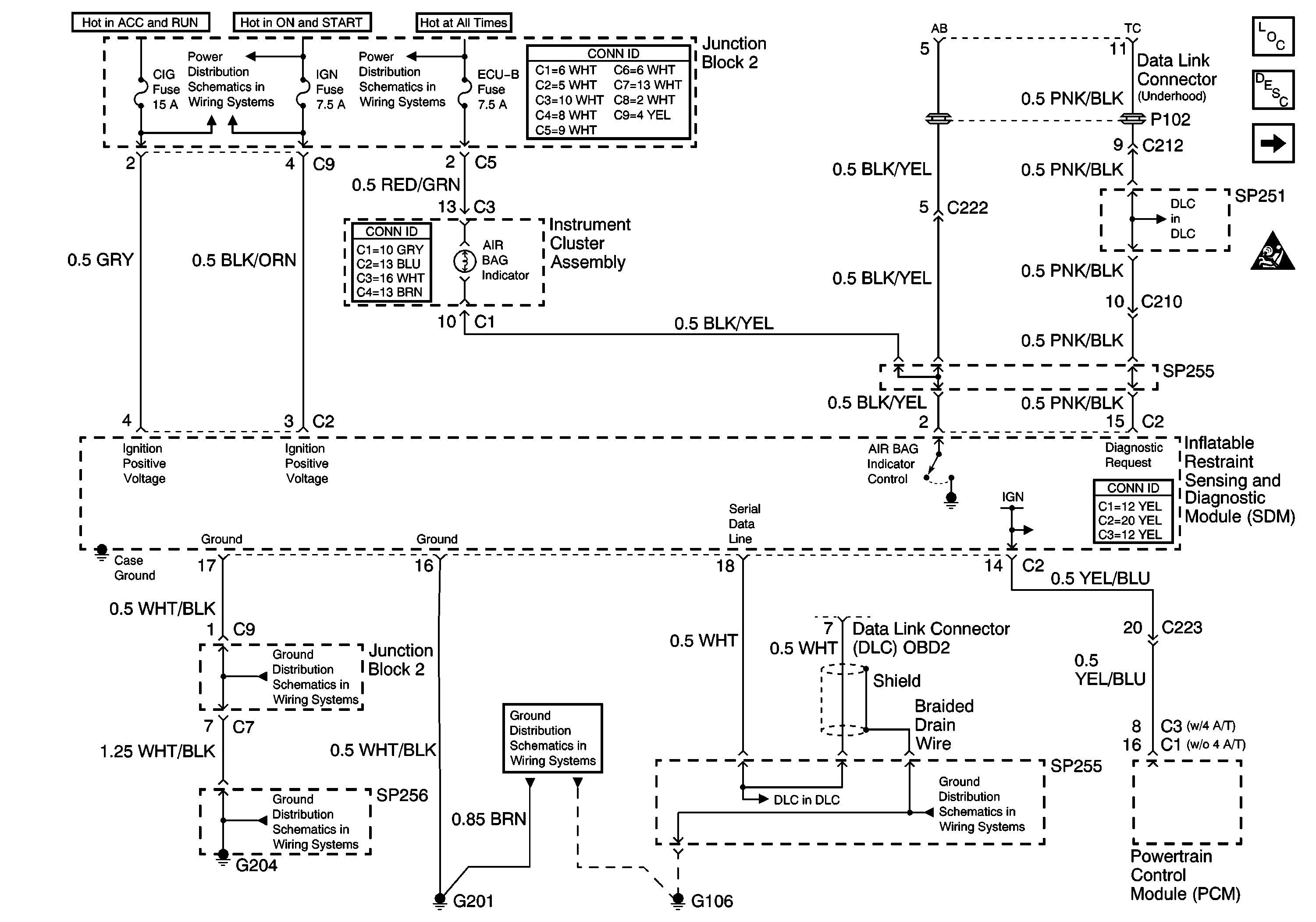
AIr Bag Indicator and Inflatable Restraint Sensing and Diagnostic Module


Object Number: 688185  Size: FS
Master Electrical Component List
SIR System Description and Operation
SIR Handling Caution
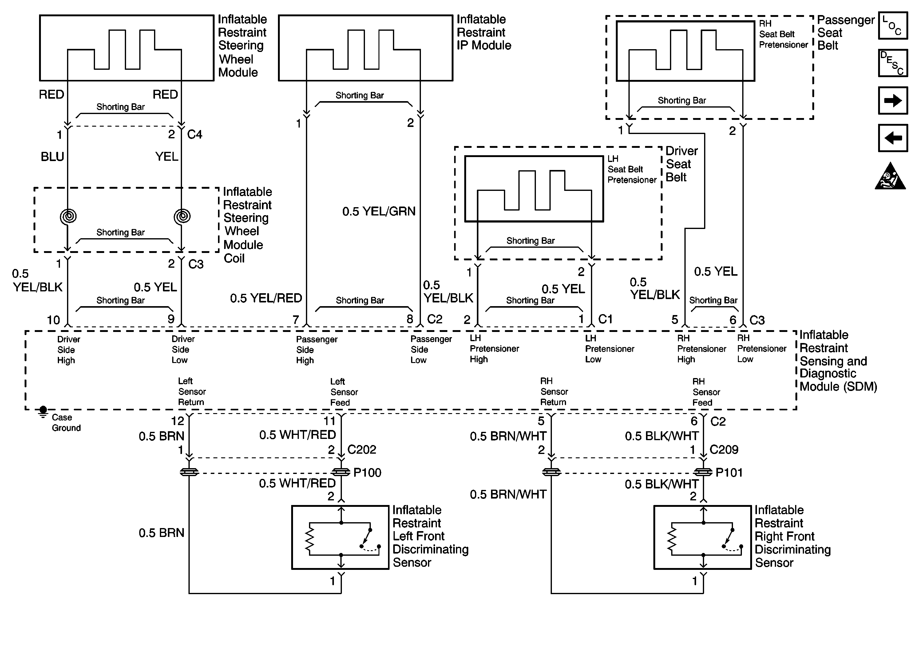
Inflatable Restraint Steering Wheel Module Coil, Discriminating Sensors, and Seat Belts
Data Link Connector (DLC) Underhood
G105, G106 and S207
Data Link Connector (DLC) OBD2
G105, G106 and S207
G204, Junction Block 1, and SP256
Junction Block 2
ABS, ALT, AMI, DEF, DYL, ECU-B, HTR, OBD, POWER and STOP Fuses
Ignition Switch, IGN and ST Fuses
Figure 2:

Inflatable Restraint Steering Wheel Module Coil, Discriminating Sensors, and Seat Belts


Object Number: 688190  Size: FS
Master Electrical Component List
SIR System Description and Operation
SIR Handling Caution
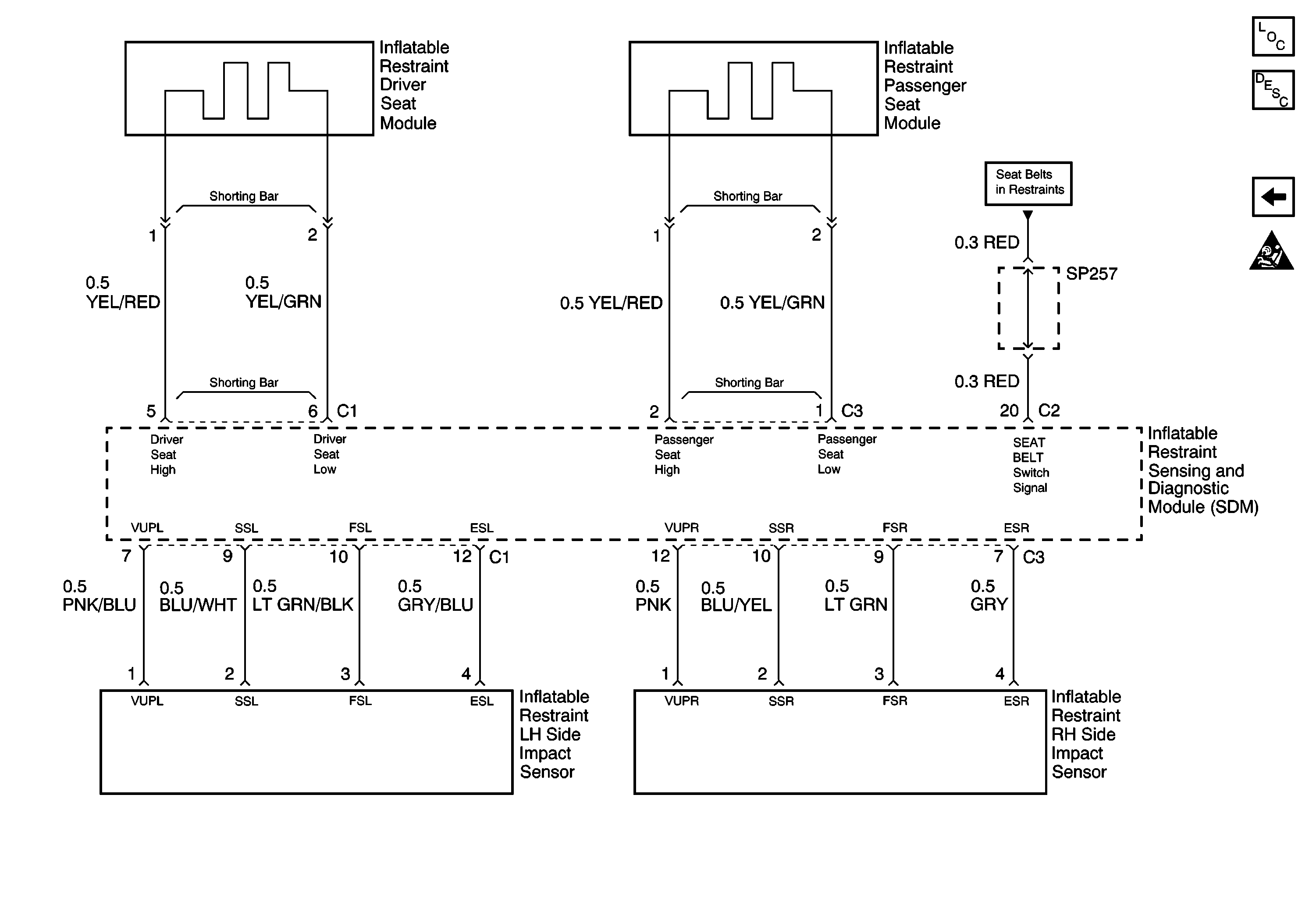
Inflatable Restraint Seat Module and Impact Sensors
Air Bag Indicator and Inflatable Restraint Sensing and Diagnostic Module
Figure 3:

Inflatable Restraint Seat Module and Impact Sensors


Object Number: 688193  Size: FS
Master Electrical Component List
SIR System Description and Operation
SIR Handling Caution
Inflatable Restraint Steering Wheel Module Coil, Discriminating Sensors, and Seat Belts