GM Service Manual Online
For 1990-2009 cars only
Makes
🢒
Chevrolet
🢒
2001
🢒
Prizm
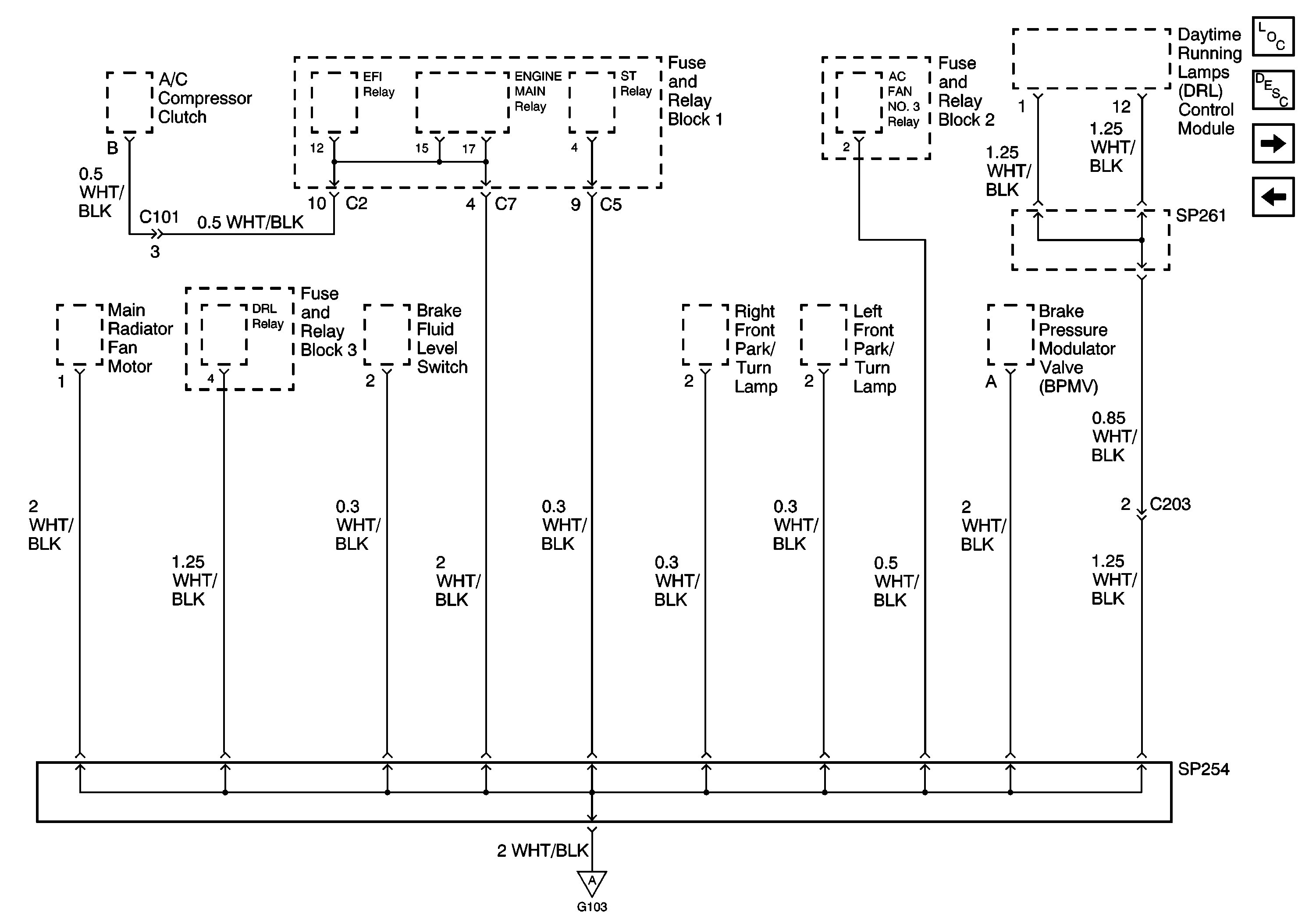
🢒 SP 254 and SP261
SP 254 and SP261
SP 254 and SP261
Master Electrical Component List
G105, G106 and S207
G100, G101, G102, G103, and G104
G100, G101, G102, G103, and G104