GM Service Manual Online
For 1990-2009 cars only

Removal Procedure

Caution: Be very careful when handling the sensors during service procedures. Never strike the sensors. Never jar the sensors. These actions could result in personal injury, or improper operation of the Supplemental Inflatable Restraint (SIR) system. Carefully tighten all of the sensors, and all of the mounting bracket bolts to ensure proper operation. Never power up the SIR system when any one of the sensors is not rigidly attached to the vehicle. An unattached sensor could be easily activated causing the deployment of the air bag.

Use caution to ensure proper location of sensor on the mounting brackets. Do not for any reason modify the keying of the sensors through the wiring harness connectors.

  1. Disable the SIR system. Refer to Disabling the SIR System .

  2. Object Number: 39364  Size: SH
  3. Disconnect the Connector Position Assurance (CPA) lock from the connector.

  4. Object Number: 39367  Size: SH
  5. Disconnect the connector.

  6. Object Number: 9405  Size: SH
  7. Drill out the mounting rivets.

  8. Object Number: 39372  Size: SH
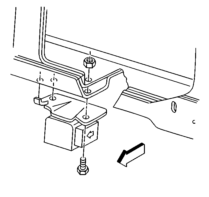
  9. Remove the sensor from the vehicle.

Important: If the sensor mounting holes or fasteners are damaged to the extent the sensor can no longer be properly mounted, use the following repairs.

First Repair

  1. Remove the improperly installed rivet.
  2. Reattach sensor with new rivet P/N 15955523.

Second Repair

  1. Remove the improperly installed rivet.
  2. Enlarge the mounting holes in the lower radiator support to 9.0 mm (0.35 in).

  3. Object Number: 39373  Size: SH
  4. Insert and properly seat rivnut P/N 15699834
  5. Install sensor with screw P/N 11515664.

    Tighten
    Tighten the sensor screws to 8.0 N·m (71 lb in).

    Refer to Fastener Notice in General Information.

Installation Procedure

Caution: Attach the forward discriminating sensor rigidly to the vehicle structure, in order to ensure that the sensor operates properly. Make sure the arrow on the sensor points toward the front of the vehicle.


    Object Number: 39372  Size: SH
  1. Install sensor to vehicle. Arrow must point toward the front of the vehicle.

  2. Object Number: 9405  Size: SH
  3. Install rivets P/N 15955523.

  4. Object Number: 39367  Size: SH
  5. Connect the sensor electrical connector.

  6. Object Number: 39364  Size: SH
  7. Connect the Connector Position Assurance (CPA) lock.
  8. Enable the SIR System. Refer to Enabling the SIR System .