GM Service Manual Online
For 1990-2009 cars only

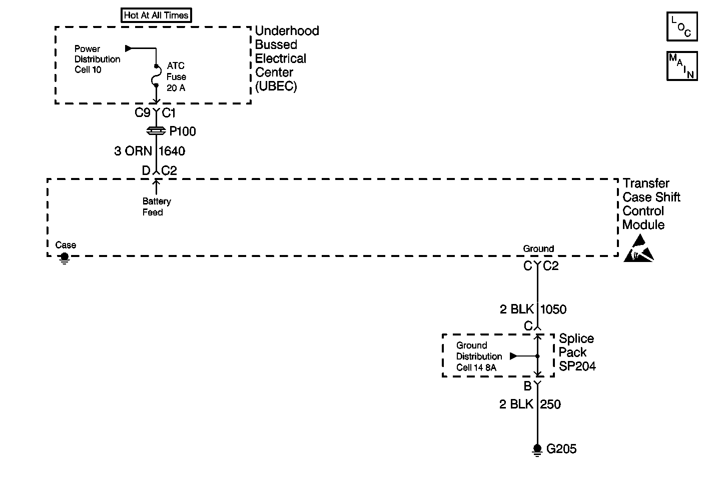
Object Number: 320607  Size: MF

Circuit Description

The direct battery supply line (circuit 1640) provides the power to the module and motor circuitry.

This DTC detects a intermittent absence of battery voltage at the module when the module sees an ignition on voltage.

Conditions for Setting the DTC

The transfer case shift control module did not power up 8 out of the last 19 ignition cycles.

Action Taken When the DTC Sets

There are no default actions associated with this DTC. The SERVICE AWD/4WD lamp will not be latched on.

Conditions for Clearing the DTC

    • Current DTC
        The transfer case shift control module will clear the DTC if the condition for setting the DTC no longer exists.
    • History DTC
       - Once 100 consecutive ignition cycles without a fault present.
       - You issue a scan tool CLEAR CODES command.

DTC C0895 Device Voltage Malfunction

Step

Action

Value(s)

Yes

No

1

Was the Transfer Case Diagnostic System Check performed?

--

Go to Step 2

Go to Transfer Case Diagnostic System Check

2

Inspect the ATC Fuse in the Underhood Bussed Electrical Center.

Is the fuse good?

--

Go to Step 4

Go to Step 3

3

  1. Replace fuse.
  2. Turn the ignition switch to the RUN position for 10 seconds.
  3. Turn the ignition switch to the OFF position.
  4. Remove the ATC Fuse.
  5. Inspect the fuse.

Is the fuse good?

--

Go to Step 4

Go to Step 9

4

  1. Disconnect connector  C2 at the transfer case shift control module.
  2. Connect a J 39200 DMM from cavity D (ORN) 1640 to ground and check for voltage.
  3. While observing the DMM display wiggle the wire harness.

Did the DMM display ever drop below battery voltage?

9-14 V

Go to Step 5

Go to Step 6

5

Repair a open condition in CKT 1640.

Are the repairs complete?

--

Go to Step 12

--

6

  1. Connect the J 39200 from cavity C (BLK) 1050 to ground and check for resistance.
  2. While observing the J 39200 display wiggle the wire harness.

Is the resistance measured ever greater than the specified values?

0-5 ohms

Go to Step 7

Go to Step 8

7

Repair an open or poor ground condition in CKT 1050. Refer to Wiring Repairs in Electrical Diagnosis.

Are the repairs complete?

--

Go to Step 12

--

8

Replace the transfer case shift control module. Refer to Transfer Case Control Module Replacement.

Is the action complete?

--

Go to Step 12

--

9

  1. Turn Ignition switch to the OFF position.
  2. Disconnect connectors C1 at the underhood bussed electrical center and C2 at the shift control module.
  3. Connect a J 39200 from cavity D 1640 to ground and check for resistance.
  4. While observing the DMM display wiggle the wire harness.

Is the resistance measured ever less than the specified value?

OL

Go to Step 11

Go to Step 10

10

  1. Replace the transfer case shift control module. Refer to Transfer Case Control Module Replacement.
  2. Replace ATC Fuse.

Are the repairs complete?

--

Go to Step 12

--

11

  1. Repair a short to ground condition in CKT 1640.
  2. Replace the ATC Fuse.

Are the repairs complete?

--

Go to Step 12

--

12

Reconnect all ATC system components, make sure all the components are properly mounted.

Have all the ATC components been reconnected and properly mounted?

--

Go to Step 13

--

13

Clear all ATC codes.

Have all the ATC codes been cleared?

--

Go to Transfer Case Diagnostic System Check

--