GM Service Manual Online
For 1990-2009 cars only

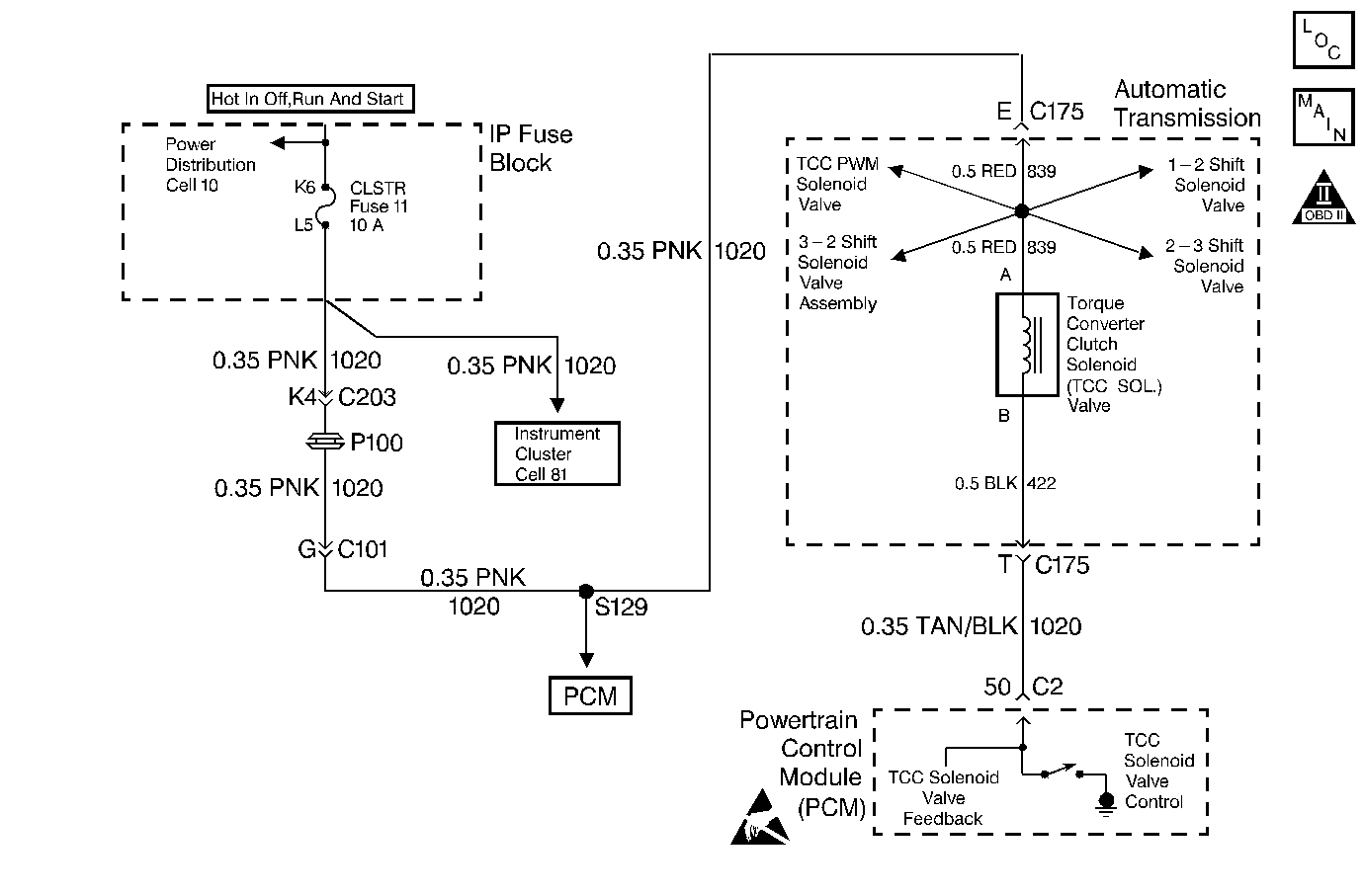
DTC P0740 TCC Enable Solenoid Circuit Electrical 2.2L


Object Number: 201192  Size: MF
Automatic Transmission Components
Automatic Transmission Controls Schematics
OBD II Symbol Description Notice
Handling ESD Sensitive Parts Notice

Circuit Description

The Torque Converter Clutch Solenoid Valve (TCC Sol. Valve) is an electrical device that is used with the Torque Converter Clutch Pulse Width Modulation Solenoid Valve (TCC PWM Sol. Valve) in order to control TCC apply and release. The TCC Sol. Valve attaches to the transmission case assembly extending into the pump cover. The TCC Sol. Valve receives ignition voltage through circuit 1020. The Powertrain Control Module (PCM) controls the solenoid by providing the ground path on circuit 422. The PCM monitors the Throttle Position (TP) voltage, the vehicle speed, and other inputs in order to determine when to energize the TCC Sol. Valve.

When the PCM detects a continuous open or a short to ground in the TCC Sol. Valve circuit or in the TCC Sol. Valve, then DTC P0740 sets. DTC P0740 is a type A DTC.

Conditions for Setting the DTC

    • The system voltage is 8-16 volts.
    • The engine speed is greater than 450 RPM for 5 seconds.
    • Not in fuel cutoff.
    • All of the above conditions are met for 5 seconds and either of the following fail conditions occurs for 5 seconds:
       - The PCM commands the solenoid ON and the voltage input remains high (B+).
       - The PCM commands the solenoid OFF and the voltage input remains low (0 volt).

Action Taken When the DTC Sets

    • The PCM illuminates the Malfunction Indicator Lamp (MIL).
    • The PCM inhibits TCC engagement.
    • The PCM inhibits 4th gear if the transmission is in hot mode.
    • The PCM freezes shift adapts from being updated.
    • DTC P0740 stores in PCM history.

Conditions for Clearing the MIL/DTC

    • The PCM turns OFF the MIL after three consecutive trips without a failure reported.
    • A scan tool can clear the DTC from the PCM history. The PCM clears the DTC from the PCM history if the vehicle completes 40 warm-up cycles without a failure reported.
    • The PCM cancels the DTC default actions when the fault no longer exists and the ignition is OFF long enough in order to power down the PCM.

Diagnostic Aids

    • Inspect the wiring at the PCM, the transmission connector and all other circuit connecting points for the following conditions:
       - A bent terminal
       - A backed out terminal
       - A damaged terminal
       - Poor terminal tension
       - A chafed wire
       - A broken wire inside the insulation
       - Moisture intrusion
       - Corrosion
    • When diagnosing for an intermittent short or open condition, massage the wiring harness while watching the test equipment for a change.
    • With the TCC engaged, the TCC slip speed should be -20 to +30 RPM.
    • A faulty ignition switch may set this code.

Test Description

The numbers below refer to the step numbers on the diagnostic table.

  1. This step tests for voltage to the solenoid.

  2. This step tests the ability of the PCM and wiring to control the ground circuit.

  3. This step tests the resistance of the TCC Sol. Valve and the Automatic Transmission Wiring Harness Assembly (A/T Wiring Harness Assembly).

DTC P0740 TCC Enable Solenoid Circuit -- Electrical (2.2L)

Step

Action

Value(s)

Yes

No

1

Was the Powertrain On-Board Diagnostic (OBD) System Check performed?

--

Go to Step 2

Go to Powertrain On Board Diagnostic (OBD) System Check in Engine Controls

2

  1. Install the Scan Tool .
  2. With the engine OFF, turn the ignition switch to the RUN position.
  3. Important:: Before clearing the DTC(s), use the scan tool in order to record the Freeze Frame and Failure Records for reference. Using the Clear Info function will erase the stored Freeze Frame and Failure Records from the PCM.

  4. Record the DTC Freeze Frame and Failure Records, then clear the DTC(s).

Are DTCs P0753, P0758, P0785 and P1860 also set?

--

Go to Step 3

Go to Step 4

3

  1. Inspect the CLSTR fuse.
  2. If the fuse is open, inspect circuit 1020 (PNK), the solenoids and the A/T Wiring Harness Assembly for a short to ground.
  3. Repair the circuit, the solenoids and the harness if necessary.

Refer to General Electrical Diagnosis in Wiring Systems.

Did you find a short to ground condition?

--

Go to Step 12

Go to Step 4

4

  1. Turn the ignition switch OFF.
  2. Disconnect the transmission 20-way connector (additional DTCs may set).
  3. Install the J 39775 Jumper Harness on the engine side of the 20-way connector.
  4. With the engine OFF, turn the ignition switch to the RUN position.
  5. Connect a test tamp from cavity E of the J 39775 Jumper Harness to a known good ground.

Is the test lamp ON?

--

Go to Step 6

Go to Step 5

5

Repair the open or short to ground in ignition feed circuit 1020 (PNK) to the TCC Sol. Valve.

Refer to General Electrical Diagnosis in Wiring Systems.

Is the repair complete?

--

Go to Step 12

--

6

  1. Install the test lamp from cavities E to T of the J 39775 Jumper Harness.
  2. Using the transmission output control function on the scan tool, command the TCC Sol. Valve ON and OFF three times.

Does the test lamp turn ON when the TCC Sol. Valve is commanded ON, and OFF when commanded OFF?

--

Go to Step 8

Go to Step 7

7

  1. Inspect circuit 422 (TAN/BLK) of the engine wiring harness for an open, short to ground or short to power.
  2. Repair the circuit if necessary.

Refer to General Electrical Diagnosis in Wiring Systems.

Did you find an open, short to ground or short to power condition?

--

Go to Step 12

Go to Step 9

8

  1. Install the J 39775 Jumper Harness on the transmission side of the 20-way connector.
  2. Using the J 39200 Digital Multimeter (DMM) and the J 35616-A Connector Test Adapter Kit, measure the resistance between terminals T and E.

Is the resistance within the specified range?

21-33 ohms

Go to Step 10

Go to Step 11

9

Replace the PCM.

Refer to Powertrain Control Module Replacement/Programming in Engine Controls.

Is the replacement complete?

--

Go to Step 12

--

10

Measure the resistance between terminal E and ground and terminal T and ground.

Are both readings greater than the specified value?

250 K ohms

Go to Diagnostic Aids

Go to Step 11

11

Replace the A/T Wiring Harness Assembly (this includes the TCC Sol. Valve).

Refer to Torque Converter Clutch Pulse Width Modulation Solenoid, Torque Converter Clutch Solenoid, and Wiring Harness Replacement.

Is the replacement complete?

--

Go to Step 12

--

12

In order to verify your repair, perform the following procedure:

  1. Select DTC.
  2. Select Clear Info.
  3. Drive the vehicle in D4 with the TCC ON and OFF. Ensure that the following conditions are met:
  4. • The PCM commands the TCC Sol. Valve ON, and the voltage input drops to zero.
    • The PCM commands the TCC Sol. Valve OFF, and the voltage input increases to B+.
    • All conditions are met for 5 seconds.
  5. Select Specific DTC. Enter DTC P0740.

Has the test run and passed?

--

System OK

Go to Step 1

DTC P0740 TCC Enable Solenoid Circuit Electrical 4.3L


Object Number: 201202  Size: MF
Automatic Transmission Components
Automatic Transmission Controls Schematics
OBD II Symbol Description Notice
Handling ESD Sensitive Parts Notice
Handling ESD Sensitive Parts Notice
Handling ESD Sensitive Parts Notice

Circuit Description

The Torque Converter Clutch Solenoid Valve (TCC Sol. Valve) is an electrical device that is used with the Torque Converter Clutch Pulse Width Modulation Solenoid Valve (TCC PWM Sol. Valve) in order to control TCC apply and release. The TCC Sol. Valve attaches to the transmission case assembly extending into the pump cover. The TCC Sol. Valve receives ignition voltage through circuit 1020. The Vehicle Control Module (VCM) controls the solenoid by providing the ground path on circuit 422. The VCM monitors the Throttle Position (TP) voltage, the vehicle speed, and other inputs in order to determine when to energize the TCC Sol. Valve.

When the VCM detects a continuous open or a short to ground in the TCC Sol. Valve circuit or in the TCC Sol. Valve, then DTC P0740 sets. DTC P0740 is a type A DTC.

Conditions for Setting the DTC

    • The system voltage is 10-16 volts.
    • The engine speed is greater than 450 RPM for 5 seconds.
    • Not in fuel cutoff.
    • All of the above conditions are met for 5 seconds and either of the following fail conditions occurs for 5 seconds:
       - The VCM commands the solenoid ON and the voltage input remains high (B+).
       - The VCM commands the solenoid OFF and the voltage input remains low (0 volt).

Action Taken When the DTC Sets

    • The VCM illuminates the Malfunction Indicator Lamp (MIL).
    • The VCM inhibits TCC engagement.
    • The VCM inhibits 4th gear if the transmission is in hot mode.
    • The VCM freezes shift adapts from being updated.
    • DTC P0740 stores in VCM history.

Conditions for Clearing the MIL/DTC

    • The VCM turns OFF the MIL after three consecutive trips without a failure reported.
    • A scan tool can clear the DTC from the VCM history. The VCM clears the DTC from the VCM history if the vehicle completes 40 warm-up cycles without a failure reported.
    • The VCM cancels the DTC default actions when the fault no longer exists and the ignition is OFF long enough in order to power down the VCM.

Diagnostic Aids

    • Inspect the wiring at the VCM, the transmission connector and all other circuit connecting points for the following conditions:
       - A bent terminal
       - A backed out terminal
       - A damaged terminal
       - Poor terminal tension
       - A chafed wire
       - A broken wire inside the insulation
       - Moisture intrusion
       - Corrosion
    • When diagnosing for an intermittent short or open condition, massage the wiring harness while watching the test equipment for a change.
    • With the TCC engaged, the TCC slip speed should be -20 to +20 RPM.
    • A faulty ignition switch may set this code.

Test Description

The numbers below refer to the step numbers on the diagnostic table.

  1. This step tests for voltage to the solenoid.

  2. This step tests the ability of the VCM and wiring to control the ground circuit.

  3. This step tests the resistance of the TCC Sol. Valve and the Automatic Transmission Wiring Harness Assembly (A/T Wiring Harness Assembly).

DTC P0740 TCC Enable Solenoid Circuit - Electrical (4.3L)

Step

Action

Value(s)

Yes

No

1

Was the Powertrain On-Board Diagnostic (OBD) System Check performed?

--

Go to Step 2

Go to Powertrain On Board Diagnostic (OBD) System Check in Engine Controls

2

  1. Install the Scan Tool .
  2. With the engine OFF, turn the ignition switch to the RUN position.
  3. Important: Before clearing the DTC(s), use the scan tool in order to record the Freeze Frame and Failure Records for reference. Using the Clear Info function will erase the stored Freeze Frame and Failure Records from the VCM.

  4. Record the DTC Freeze Frame and Failure Records, then clear the DTC(s).

Are DTCs P0753, P0758, P0785 and P1860 also set?

--

Go to Step 3

Go to Step 4

3

  1. Inspect the CLSTR fuse.
  2. If the fuse is open, inspect circuit 1020 (PNK), the solenoids and the A/T Wiring Harness Assembly for a short to ground.
  3. Repair the circuit, the solenoids and the harness if necessary.

Refer to General Electrical Diagnosis in Wiring Systems.

Did you find a short to ground condition?

--

Go to Step 12

Go to Step 4

4

  1. Turn the ignition switch OFF.
  2. Disconnect the transmission 20-way connector (additional DTCs may set).
  3. Install the J 39775 Jumper Harness on the engine side of the 20-way connector .
  4. With the engine OFF, turn the ignition switch to the RUN position.
  5. Connect a test lamp from cavity E of the J 39775 Jumper Harness to a known good ground.

Is the test lamp ON?

--

Go to Step 6

Go to Step 5

5

Repair the open or short to ground in ignition feed circuit 1020 (PNK) to the TCC Sol. Valve.

Refer to General Electrical Diagnosis in Wiring Systems.

Is the repair complete?

--

Go to Step 12

--

6

  1. Install the test lamp from cavity E to cavity T of the J 39775 Jumper Harness.
  2. Using the transmission output control function on the scan tool, command the TCC Sol. Valve ON and OFF three times.

Does the test lamp turn ON when the TCC Sol. Valve is commanded ON, and OFF when commanded OFF?

--

Go to Step 8

Go to Step 7

7

  1. Inspect circuit 422 (TAN/BLK) of the engine wiring harness for an open, short to ground or short to power.
  2. Repair the circuit if necessary.

Refer to General Electrical Diagnosis in Wiring Systems.

Did you find an open, short to ground or short to power condition?

--

Go to Step 12

Go to Step 9

8

  1. Install the J 39775 Jumper Harness on the transmission side of the 20-way connector.
  2. Using the J 39200 Digital Multimeter (DMM) and the J 35616-A Connector Test Adapter Kit, measure the resistance between terminals T and E.

Is the resistance within the specified range?

21-33 ohms

Go to Step 10

Go to Step 11

9

Replace the VCM.

Refer to VCM Replacement/Programming in Engine Controls.

Is the replacement complete?

--

Go to Step 12

--

10

  1. Measure the resistance between terminal E and ground.
  2. Measure the resistance between terminal T and ground.

Are both readings greater than the specified value?

250 K ohms

Go to Diagnostic Aids

Go to Step 11

11

Replace the A/T Wiring Harness Assembly (this includes the TCC Sol. Valve).

Refer to Torque Converter Clutch Pulse Width Modulation Solenoid, Torque Converter Clutch Solenoid, and Wiring Harness Replacement.

Is the replacement complete?

--

Go to Step 12

--

12

In order to verify your repair, perform the following procedure:

  1. Select DTC.
  2. Select Clear Info.
  3. Drive the vehicle in D4 with the TCC ON and OFF. Ensure that the following conditions are met:
  4. • The VCM commands the TCC Sol. Valve ON, and the voltage input drops to zero.
    • The VCM commands the TCC Sol. Valve OFF, and the voltage input increases to B+.
    • All conditions met for 5 seconds.
  5. Select Specific DTC. Enter DTC P0740.

Has the test run and passed?

--

System OK

Go to Step 1