GM Service Manual Online
For 1990-2009 cars only

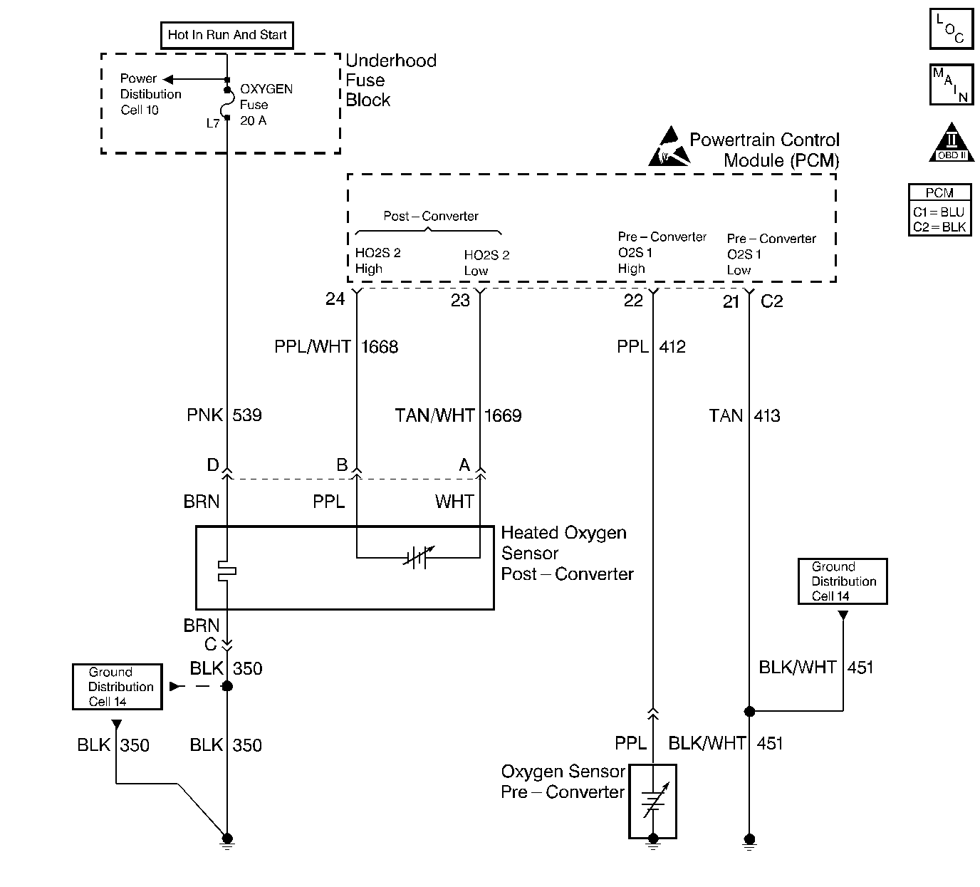
Object Number: 211165  Size: LF
Engine Controls Components
Oxygen Sensors
OBD II Symbol Description Notice
Powertrain Control Module Connector End Views
Handling ESD Sensitive Parts Notice

Circuit Description

A three-way catalytic converter is used in order to control the exhaust emissions of hydrocarbons (HC), carbon monoxide (CO), and oxides of nitrogen (NOx). The catalyst within the converter promotes a chemical reaction which oxidizes the HC and the CO that is present in the exhaust gas. This will convert the HC and the CO into a harmless water vapor and a carbon dioxide, and reduces the NOx, converting the NOx into nitrogen. The catalytic converter also has the ability to store oxygen. The PCM has the capability to monitor this process by using a heated oxygen sensor (HO2S) which is in the exhaust stream past the three-way catalytic converter. The HO2S produces an output signal which indicates the oxygen storage capacity of the catalyst. This in turn indicates the catalysts ability to convert the exhaust emissions effectively. The PCM monitors the catalyst efficiency by first allowing the catalyst to heat up, waiting for a stabilization period while the engine is idling. Then, the PCM adds and removes the fuel while monitoring the reaction of the HO2S. When the catalyst is functioning properly, the HO2S 2 response to the extra fuel is slow compared to the oxygen sensor (O2S 1). When the HO2S 2 response is close to that of the O2S 1, the oxygen storage capability or efficiency of the catalyst is considered to be bad and the malfunction indicator lamp (MIL) will illuminate.

Conditions for Running the DTC

    • Engine speed is more than 1200 RPM for a minimum of 36 seconds since the end of last idle period.
    • BARO is more than 72 kPa.
    • IAT between -20.5°C and 60.5°C (-4.9°F and 141°F).
    • ECT between 75°C and 125°C (167°F and 257°F).
    • Battery voltage is more than 9.0 volts.
    • Calculated air flow is less than 11 g/sec.
    • Engine run time is more than 530 seconds.
    • Vehicle speed is less than 4.8 km/h (3 mph).
    • Tests attempted this trip are less than 12.
    • Predicted catalyst temperature is between 345°C and 477°C (653°F and 891°F).
    • DTCs 105, 107, 108, 112, 113, 117, 118, 122, 123, 131, 132, 133, 134, 1133, 137, 138, 140, 141, 169, 171, 172, 178, 179, 201, 202, 203, 204, 300, 325, 336, 341, 342, 440, 1441, 442, 446, 452, 453, 480, 481, 502, 503, 506, 507, 601, 602, 1621 are not set.

Conditions for Setting the DTC

The PCM determines that the oxygen storage capacity of the TWC is degraded past a calibrated value.

Action Taken When the DTC Sets

    • The malfunction indicator lamp (MIL) will illuminate.
    • The PCM will record the operating conditions at the time that the diagnostic fails. The Freeze Frame and Failure Records buffers will store this information.
    • A history DTC stores.

Conditions for Clearing the MIL/DTC

    • The MIL will turn OFF after 3 consecutive ignition cycles in which the diagnostic runs without a fault.
    • A history DTC will clear after 40 consecutive warm up cycles without a fault.
    • A scan tool can clear the DTCs.

Diagnostic Aids

    • Thoroughly check any circuitry suspected of causing the intermittent complaint . Inspect for the following conditions :
       -  A poor connection
       - A rubbed through wire insulation
       - A wire that is broken inside the insulation
       -  Backed out terminals
       - Improper mating
       -  Broken locks
       -  Physical damage to the wiring harness
    • For further diagnostic aids, refer to Symptoms .

Test Description

The numbers below refer to the step numbers on the diagnostic table.

  1. The Powertrain OBD System Check prompts you to complete some of the basic checks and to store the Freeze Frame and Failure Records data on the scan tool if applicable. This creates an electronic copy of the data captured when the malfunction occurred. The scan tool stores this data for later reference.

  2. If any component DTCs are set, diagnose those DTCs first. A malfunction in a component can cause the converter to appear degraded or may have caused the malfunction.

  3. This step includes checks for conditions that can cause the three-way catalytic converter to appear degraded. Repair any problems found before proceeding with this table.

  4. If you need to replace the three-way catalytic converter, make sure that another condition is not present which would cause damage to the converter. Correct any possible causes of converter damage before replacing the catalytic converter in order to avoid damage to the replacement converter.

DTC P0420 - Three Way Catalyst (TWC) System Low Efficiency

Step

Action

Values

Yes

No

1

Did you perform the Powertrain On-Board Diagnostic (OBD) System Check?

--

Go to Step 2

Go to

Powertrain On Board Diagnostic (OBD) System Check

2

Are any other DTCs set?

--

Go to applicable DTC table

Go to Step 3

3

  1. Verify that the three-way catalytic converter is an original equipment part.
  2. Inspect the three-way catalytic converter for damage such as dents, severe discoloration caused by excessive temperature, holes, etc. Refer to Exhaust System Inspection in Engine Exhaust.
  3. Ensure that the internal three-way catalytic converter rattle caused by damaged catalyst is not present.
  4. Inspect the exhaust system for leaks, damage, or loose or missing hardware.
  5. Ensure that the O2S 1 and the HO2S 2 are secure and that the pigtails and wiring are not damaged or contacting the exhaust.

Did you find and correct the condition?

--

Go to Step 5

Go to Step 4

4

Important: Before replacing a catalytic converter, correct any condition that may have damaged the TWC.

Replace the catalytic converter. Refer to Catalytic Converter Replacement in Engine Exhaust.

Is the action complete?

--

Go to Step 5

--

5

  1. Select the DTC option and the clear DTC information option using the scan tool.
  2. Idle the engine at the normal operating temperature.
  3. Select the DTC option and the Specific DTC option, then enter the DTC number using the scan tool.
  4. Operate the vehicle within the Conditions for Running the DTC as specified in the supporting text, if applicable.

Does the scan tool indicate that this test Ran and Passed?

--

Go to Step 6

Go to Step 2

6

Select the capture info option and the review info option using the scan tool.

Does the scan tool display any DTCs that you have not diagnosed?

--

Go to applicable DTC table

System OK