GM Service Manual Online
For 1990-2009 cars only
Figure 1:

A/C Compressor


Object Number: 217376  Size: LF
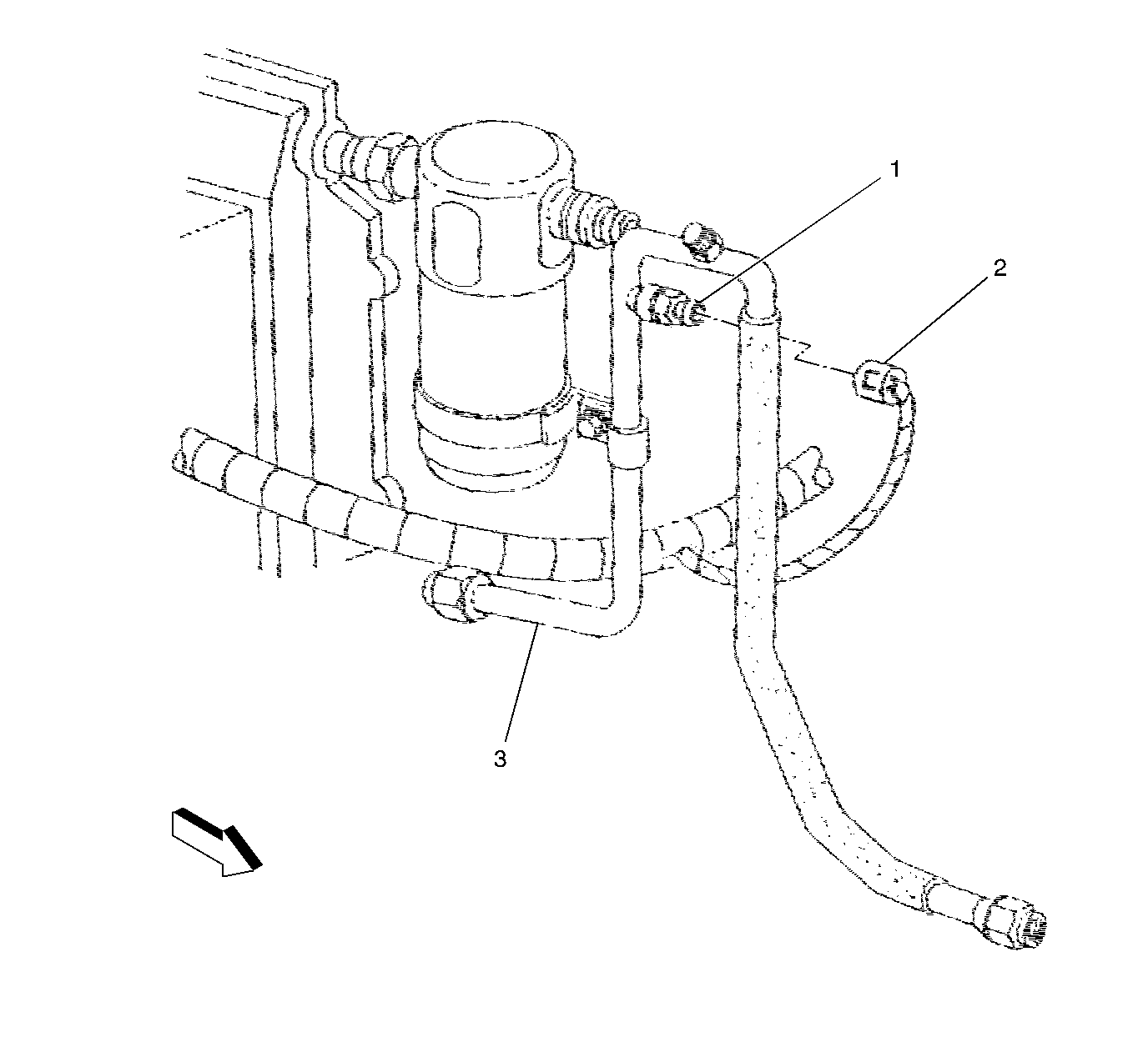
(1)A/C Compressor
(2)Diode
(3)A/C Compressor (Right Hand Side)
(4)A/C Clutch Connector
Figure 2:

A/C Refrigerant Pressure Sensor


Object Number: 217381  Size: LF
(1)A/C Refrigerant Pressure Sensor
(2)A/C Refrigerant Pressure Sensor Connector
(3)A/C Evaporative Tube
Figure 3:

AIR Pump


Object Number: 634288  Size: MF
(1)AIR Solenoid Valve
(2)AIR Pump Intake Tube
(3)Front Antisway Bar
(4)AIR Pump
(5)Radiator Support
(6)AIR Pump Solenoid Electrical Connector
Figure 4:

Lower Rear of Engine


Object Number: 217386  Size: SF
(1) Camshaft Position Sensor (CMP) Sensor
(2) Crankshaft Position Sensor (CK Sensor
(3)Knock Sensor
Figure 5:

Fuel Filter / Regulator Assembly


Object Number: 634175  Size: MF
(1)Fuel Filter / Regulator Assembly
(2)Fuel Filter / Regulator Inlet
(3)Fuel Filter / Regulator Return
(4)Fuel Filter / Regulator Outlet
Figure 6:

Fuel Injectors


Object Number: 634119  Size: LF
(1)MAP Sensor
(2)Fuel Injector
Figure 7:

LH Upper Engine


Object Number: 407800  Size: LF
(1)IAC Valve
(2)Throttle Body
(3)ECT Sensor
(4)Intake Manifold
(5)TP Sensor
(6)MAP Sensor
Figure 8:

EVAP Purge Solenoid and ICM


Object Number: 634120  Size: MF
(1)Fuel Injector
(2)EVAP Purge Solenoid
(3)Ignition Control Moduel (ICM)
Figure 9:

Heated Oxygen Sensor (HO2S) Sensor 2


Object Number: 217420  Size: MF
(1)Heated Oxygen Sensor (HO2S) Sensor 2
(2)TWC Catalyst
Figure 10:

EVAP Canister and EVAP Vent Valve (4DR Utility and Pickup)


Object Number: 235181  Size: LF
(1)Evaporative (EVAP) Vent Solenoid Valve
(2)Crossmember
(3)EVAP Canister
(4)Fuel Tank
(5)Fuel Tank Sender Assembly
Figure 11:

Fuel Composition Sensor


Object Number: 575409  Size: MF
(1)Fuel Outlet
(2)Fuel Inlet
(3)Fuel Composition Sensor
(4)Frame Rail
(5)Mounting Bracket
(6)Alignment stud
Figure 12:

Modular Fuel Sender


Object Number: 217720  Size: SF
(1)Modular Fuel Sender (Fuel Level Sensor attached)
(2)Fuel Tank Pressure Sensor
Figure 13:

IAT Sensor


Object Number: 634089  Size: MF
(1)IAT Sensor
(2)IAT Connector
Figure 14:

Oxygen Sensor (O2S) Sensor 1


Object Number: 217426  Size: MF
(1)Exhaust Manifold
(2)Oxygen Sensor (O2S) Sensor 1
Figure 15:

PCM Connectors


Object Number: 217430  Size: LF
(1)PCM
(2)Connector C1 (Blue)
(3)Connector C2 (Black)
Figure 16:

Park/Neutral Position (PNP) Switch


Object Number: 217433  Size: LF
(1)Park/Neutral Position (PNP) Switch