GM Service Manual Online
For 1990-2009 cars only

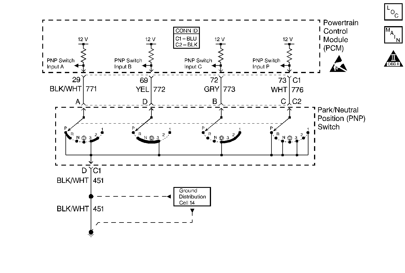
Object Number: 387275  Size: MF
Engine Controls Components
Automatic Transmission and PNP Switch Inputs
OBD II Symbol Description Notice
Powertrain Control Module Connector End Views
Handling ESD Sensitive Parts Notice

Circuit Description

The transmission range switch, which is part of the park/neutral position (PNP), is a multi-signal switch which sends a signal to the PCM to indicate gear selection. The transmission range switch uses 4 discrete circuits to pull 4 PCM voltages low in various combinations to indicate each gear range. The voltage level of the circuits is represented as LO = grounded, HI = open circuit. The 4 states displayed represents the encoder P, A, B, and C inputs in sequence.

Conditions for Running the DTC

    • The PCM recognizes an invalid PRNDL parameter.
    • The vehicle speed is more than 8 km/h (5 mph).

Conditions for Setting the DTC

The above conditions are met for a period longer than 5 seconds.

Action Taken When the DTC Sets

    • The PCM will record operating conditions at the time during which the diagnostic fails. This information will store in the Failure Records buffer.
    • A history DTC stores.

Conditions for Clearing the MIL/DTC

    • A history DTC will clear after 40 consecutive warm up cycles without a fault.
    • A scan tool can clear the MIL/DTCs.

Diagnostic Aids

    • Monitor a scan tool while moving the related connectors and the wiring harness. If a failure is induced, the scan data will change states from either LO to HI, or from HI to LO. Move the gear selector slowly through each gear while monitoring the scan tool in order to help isolate the problem.
    • Thoroughly check any suspected circuitry for the following conditions:
       - Improper mating
       - Broken locks
       - Improperly formed or damaged terminals
       - Poor terminal to wiring connections
       - Physical damage to the wiring harness
    • When a DTC P0705 sets, the PCM defaults to the 3rd gear until the PCM receives a correct combination. Therefore, some of the selected gear positions may not be possible until you repair the fault.
    • If the transrange switch on the scan tool and the PRNDL on the IPC display a normal reading only in the following gear selections, inspect the following gears:
       - Park, Low, and 2nd gear--Check for an open in the TR switch input B circuit.
       - Reverse, Neutral, Overdrive and 3rd gear--Check for a grounded TR switch input B circuit.
       - Low, 2nd, 3rd and Overdrive gear--Check for a grounded in the TR switch input C circuit.
       - Park, Reverse, and Neutral--Check for an open in the TR switch input C circuit.
       - Park, Reverse, 2nd and 3rd gear--Check for a grounded in the TR switch input A circuit.
       - Neutral, Overdrive and Low gear--Check for an open in the TR switch input A circuit.
       - Park, Neutral, 3rd and Low gear--Check for a grounded in the TR switch input P circuit.
       - Reverse 2nd and Overdrive gear--Check for an open in the TR switch input P circuit.

Gear Selector Position

Scan Tool Trans Range PABC Display

 
 

4 Spd

3 Spd

P

A

B

C

Park

P

P

LO

LO

HI

HI

Reverse

R

R

HI

LO

LO

HI

Neutral

N

N

LO

HI

LO

HI

Drive

OD

D

HI

HI

LO

LO

Drive

3

2

LO

LO

LO

LO

Drive

2

1

HI

LO

HI

LO

Drive

1

--

LO

HI

HI

LO

Test Description

The numbers below refer to the step numbers on the diagnostic table.

  1. The Powertrain OBD System Check prompts you to complete some of the basic checks and to store the Freeze Frame and Failure Records data on the scan tool if applicable. This creates an electronic copy of the data captured when this DTC set. The scan tool stores this data for later reference.

  2. Thoroughly check any suspected circuitry for the following conditions:

  3. • Backed out terminals
    • Improper mating
    • Broken locks
    • Improperly formed or damaged terminals
    • Poor terminal to wiring connections
    • Physical damage to the wiring harness
  4. An invalid circuit will cause the PRNDL display to go out. Connecting a jumper wire to each circuit to ground simulates the Park/Neutral position switch operation, and checks the circuitry and the PCM. While the trans range switch is disconnected and the circuits are not jumpered to ground, the scan tool should indicate a HI value. A value that is indicated as LO with no jumper to ground indicates a grounded circuit or a malfunctioning PCM.

  5. Reprogram the replacement PCM and perform the Crankshaft Position System Variation Learn Procedure. Refer to the latest Techline procedures for PCM reprogramming .

  6. If no malfunctions are present at this point and no additional DTCs were set, refer to Diagnostic Aids for additional checks and information.

Step

Action

Values

Yes

No

1

Did you perform the Powertrain On-Board Diagnostic (OBD) System Check?

--

Go to Step 2

Go to Powertrain On Board Diagnostic (OBD) System Check

2

  1. Turn ON the ignition, with the engine OFF.
  2. Install a scan tool.
  3. Move the gear selector through all of the ranges.

Does the scan tool indicate an invalid in any of the ranges?

--

Go to Step 3

Go to Step 10

3

Compare the scan tool values with the Park/Neutral position switch valid input combinations table.

Are all of the circuits indicated as HI?

--

Go to Step 4

Go to Step 5

4

  1. Turn OFF the ignition .
  2. Check for the following conditions in the Park/Neutral position switch ground circuit:
  3. • Open circuit
    • Poor electrical connection
  4. Repair the circuit as necessary. Refer to Wiring Repairs in Wiring Systems.

Was a repair necessary?

--

Go to Step 10

Go to Step 5

5

  1. Move the gear selector through all of the ranges and record which circuits did not correspond with the Park/Neutral position switch valid input combinations table.
  2. Disconnect the Park/Neutral position switch electrical connector.
  3. Connect a jumper wire between the circuit with the incorrect value and ground.

Does the jumpered circuit go from a HI value to a LO value?

--

Go to Step 8

Go to Step 6

6

  1. Turn OFF the ignition .
  2. Check for the following conditions in the affected circuit:
  3. • Open circuit
    • Short to ground
  4. Repair the circuit as necessary. Refer to Wiring Repairs in Wiring Systems.

Was a repair necessary?

--

Go to Step 10

Go to Step 7

7

  1. Check for a poor electrical connection at the PCM.
  2. Repair the electrical connection as necessary. Refer to Wiring Repairs in Wiring Systems.

Was a repair necessary?

--

Go to Step 10

Go to Step 9

8

  1. Turn OFF the ignition .
  2. Replace the Park/Neutral position switch. Refer to Park/Neutral Position Switch Replacement in Automatic Transmission .

Is the action complete?

--

Go to Step 10

--

9

Important: The replacement PCM must be programmed.

Replace the PCM. Refer to Powertrain Control Module Replacement/Programming .

Is the action complete?

--

Go to Step 10

--

10

  1. Use the scan tool in order to clear the DTCs.
  2. Start the engine.
  3. Idle the engine at the normal operating temperature.
  4. Operate the vehicle within the Conditions for Setting this DTC as specified in the supporting text.

Does the scan tool indicate that this diagnostic has Ran and Passed?

--

Go to Step 11

Go to Step 2

11

Check to see if any additional DTCs are set.

Does the scan tool display any DTCs that you have not diagnosed?

--

Go to applicable DTC table

System OK