GM Service Manual Online
For 1990-2009 cars only

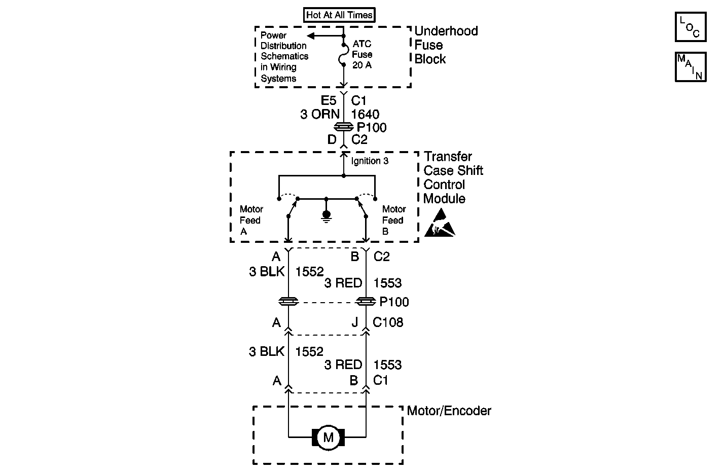
Object Number: 564250  Size: MF
Transfer Case Control Components
Transfer Case Control Schematics

Circuit Description

The transfer case motor is a bi-directional, permanent magnet, D.C. motor. When energized, (through Motor Feed A or Motor Feed B, the ground is provided by the opposing Motor Feed circuit and then grounded through the transfer case shift control module ground circuit), the motor, through a series of gears, rotates the sector shaft which moves the mode and range forks to shift the transfer case between 4H, AUTO 4WD, 2H, N, and 4L ranges. While the transfer case motor is energized the transfer case shift control module also energizes the solenoid for the transfer case lock. The motor lock is disabled (locking action released) and free turning of the transfer case motor and sector shaft is then allowed.

This DTC detects a short to ground in Motor Feed A or Motor Feed B CKT.

Conditions for Setting the DTC

    • The system will test the motor circuits:
      • First, the system checks for unwanted voltage.
      • Then, the system supplies voltage on one circuit and reads the voltage back on the other.
    • If the system detects a problem with the circuits, the DTC is logged.
    • The transfer case shift control module senses a low voltage return in Motor Feed A or Motor Feed B when a high voltage is expected.

Action Taken When the DTC Sets

    • All shifting will be disabled.
    • The SERVICE indicator (4WD/AWD) lamp will be latched on for the remainder of the current ignition cycle.

Conditions for Clearing the DTC

    • The transfer case shift control module will clear the DTC if the condition for setting the DTC no longer exists.
    • A history DTC will clear after 100 consecutive ignition cycles without a fault present.
    • History DTCs can be cleared using a scan tool.

Test Description

The number(s) below refer to the step number(s) on the diagnostic table.

  1. Listen for an audible motor noise when the encoder motor operates. Command both the ON and OFF states. Repeat the commands as necessary.

  2. Tests for a short to ground in the Motor Feed A circuit.

  3. Tests for a short to ground in the Motor Feed B circuit.

  4. Tests for a higher than normal resistance in the Motor Feed A and B circuits through the module.

  5. Tests for a short to ground in the encoder motor windings.

  6. Tests for continuity across the motor circuit. Resistance readings vary depending on the location of the brush contact inside the motor assembly.

  7. Tests Motor Feed A circuit for a short to ground.

  8. Tests Motor Feed B circuit for a short to ground.

  9. Tests Motor Feed A and B circuits for an open or high resistance.

DTC C0308 Motor A/B Circuit Low

Step

Action

Value(s)

Yes

No

1

Was the Transfer Case Diagnostic System Check performed?

--

Go to Step 2

Go to Diagnostic System Check

2

  1. Install a scan tool.
  2. Turn the ignition ON, with the engine OFF.
  3. With the scan tool, command the Motor A/B control ON and OFF.

Does the encoder motor turn ON and OFF?

--

Go to Testing for Intermittent Conditions and Poor Connections

Go to Step 3

3

  1. Turn the ignition OFF.
  2. Disconnect the four wire connector at the transfer case.
  3. Connect a DMM between the Motor Feed A circuit harness connector and ground at the transfer case.

Is the resistance reading less than the specified value?

10 K ohms

Go to Step 8

Go to Step 4

4

Connect a DMM between the Motor Feed B circuit harness connector and ground at the transfer case.

Is the resistance reading less than the specified value?

10 K ohms

Go to Step 9

Go to Step 5

5

Connect a DMM between the Motor Feed A and B circuit harness connector at the transfer case.

Is the resistance reading greater than the specified value?

2 ohms

Go to Step 6

Go to Step 10

6

Important: The transfer case Motor Feed circuits have capacitors connected between their circuit and ground. When making resistance checks with a DMM, allow the reading to stabilize (approximately 10 seconds) before making the final measurement (as the capacitor charges it can give the indication of a short circuit).

Test terminals A and B at the transfer case side of the harness for a short to ground. Refer to Circuit Testing in Wiring Systems.

Was a problem found?

--

Go to Step 11

Go to Step 7

7

Test the resistance across the motor circuit.

Were the resistance readings within the specified values?

0.5-35 ohms

Go to Step 12

Go to Step 11

8

  1. Disconnect the transfer case shift control module.
  2. Test the Motor Feed A circuit harness connector for a short to ground. Refer to Circuit Testing and Wiring Repairs in Wiring Systems.

Was the condition found and corrected?

--

Go to Step 13

Go to Step 12

9

  1. Disconnect the transfer case shift control module.
  2. Test the Motor Feed B circuit harness connector for a short to ground. Refer to Circuit Testing and Wiring Repairs in Wiring Systems.

Was the condition found and corrected?

--

Go to Step 13

Go to Step 12

10

  1. Disconnect the transfer case shift control module.
  2. Test the Motor Feed A and B circuits for an open or high resistance. Refer to Circuit Testing and Wiring Repairs in Wiring Systems.

Was the condition found and corrected?

--

Go to Step 13

Go to Step 12

11

Replace the encoder motor. Refer to Motor/Encoder Replacement .

Is the repair complete?

--

Go to Step 13

--

12

Replace the transfer case shift control module. Refer to Transfer Case Shift Control Module Replacement .

Is the repair complete?

--

Go to Step 13

--

13

  1. Use the scan tool in order to clear the DTCs.
  2. Operate the vehicle within the Conditions for Running the DTC as specified in the supporting text.

Does the DTC reset?

--

Go to Step 2

System OK