GM Service Manual Online
For 1990-2009 cars only
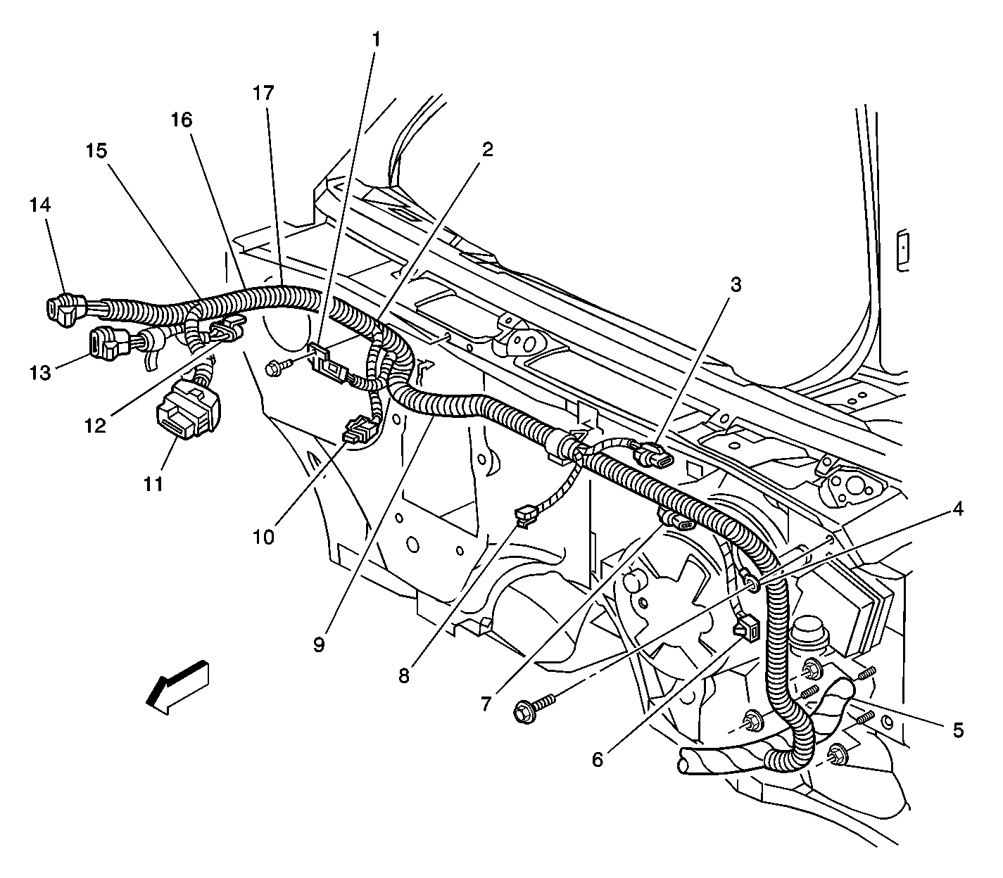
Figure 1:

Forward Lamps Harness


Object Number: 609181  Size: LF
(1)G108
(2)G101
(3)Forward Lamps Harness
(4)Splice Pack SP101
(5)G100 (California Emissions Only)
(6)G112 and G113 (Envoy)
(7)G111 and G109 (Envoy)
(8)Forward Lamps Harness
(9)Radiator Support, LH
(10)Splice Pack SP100
(11)G110
Figure 2:

Battery Fuse and Secondary Air Injection Reactor (AIR) Jumper Harness


Object Number: 612447  Size: LF
(1)Radiator Support, RH
(2)Secondary Air Injector Reactor (AIR) Jumper Harness
(3)Battery Fuse
(4)Fuse Holder
(5)G100
(6)G112
(7)S153
(8)Battery Positive Cable
Figure 3:

Secondary Air Injection Reactor (AIR) Fuse Block


Object Number: 401623  Size: MF
(1)C117
(2)Splice S105
(3)Secondary Air Injection Reactor (AIR) Fuse Block
(4)Secondary Air Injection Reactor (AIR) Jumper Harness
Figure 4:

Engine Compartment Details


Object Number: 354580  Size: MF
(1)Radiator Support, LH
(2)Fender, RF
(3)C117 (2.2 L Engine)
(4)C101
(5)G111
Figure 5:

Inline Connector C106


Object Number: 614433  Size: LF
(1)Fender, LF
(2)C106
(3)Horn, LH
(4)Auxilliary Side Front Turn Signal Lamp, LH (Export Only)
(5)Underhood Fuse Block Connector C4 (GRN)
Figure 6:

Front Frame Grounds


Object Number: 354759  Size: LF
(1)Front Wheel Speed Sensor - LH
(2)Inflatable Restraint Front End Discriminating Sensor - LH
(3)Inflatable Restraint Front End Discriminating Sensor - RH
(4)G106
(5)G118
(6)Front Wheel Speed Sensor - RH
Figure 7:

A/C Accumulator (4.3L)


Object Number: 614435  Size: LF
(1)A/C Compressor Cycling Switch
(2)A/C Accumulator
(3)High Side Service Port
(4)C100
(5)Low Side Service Port
Figure 8:

Vehicle Control Module (VCM) 4.3 L


Object Number: 357125  Size: LF
(1)Vehicle Control Module (VCM)
(2)Vehicle Control Module (VCM) Connector C3
(3)Vehicle Control Module (VCM) Connector C1
(4)C101
(5)S106
(6)A/C Compressor Cycling Switch
(7)Vehicle Control Module (VCM) Connector C2
(8)Vehicle Control Module (VCM) Connector C4
Figure 9:

Engine, LF (2.2 L)


Object Number: 357114  Size: LF
(1)Idle Air Control (IAC) Valve
(2)Throttle Position (TP) Sensor
(3)Exhaust Gas Recirculation (EGR) Valve
(4)Underhood Fuse Block Connector C2
(5)Engine Coolant Temperature (ECT) Sensor
(6)A/C Compressor Clutch Diode, S103 and S104
(7)Manifold Absolute Pressure (MAP) Sensor
Figure 10:

4.3 L Engine Generator And Starter


Object Number: 206654  Size: LF
(1)Exhaust Gas Recirculation Valve
(2)Generator
(3)Crankshaft Position Sensor
(4)Starter Motor
(5)Starter Solenoid
(6)Splice S100
(7)Splice S101
(8)Splice S102
(9)Electronic Ignition Control Module
(10)Ignition Coil
(11)Ignition Coil Assembly
(12)G107
Figure 11:

Engine, LR (2.2 L)


Object Number: 206992  Size: LF
(1)Generator
(2)G102 and G103
(3)Engine Oil Pressure Gauge Sensor
(4)Evaporative (EVAP) Emissions Canister Purge Solenoid Valve Connector
(5)Electronic Ignition Control Module (EICM) Connector C1 (w/o Coil)
(6)Electronic Ignition Control Module (EICM) Connector C2 (w/o Coil)
(7)G105
(8)S152
(9)C111
(10)S106
(11)S129
(12)S128
Figure 12:

Engine, LR (4.3 L)


Object Number: 614485  Size: LF
(1)A/C Compressor Clutch Diode, S103, and S104
(2)Throttle Position (TP) Sensor
(3)Idle Air Control (IAC) Valve
(4)S102
(5)Distributor
(6)S116
(7)G102 and G103
(8)S152
(9)Knock Sensor (KS)
(10)G105 and G104
(11)Engine Coolant Temperature (ECT) Sensor
(12)Underhood Fuse Block Connector C2 (BLK)
(13)A/C Compressor High Pressure Cutoff Switch
(14)A/C Compressor
Figure 13:

Heated Oxygen Sensor (HO2S) Extension Harness (4.3 L)


Object Number: 357121  Size: LF
(1)C100
(2)S151
(3)S150
(4)Heated Oxygen Sensor (HO2S) Bank 1, Sensor 1 Connector
(5)Heated Oxygen Sensor (HO2S) Bank 1, Sensor 3 Connector
Figure 14:

Body Harness to Cowl


Object Number: 357126  Size: LF
(1)Blower Motor Relay Connector
(2)Body Harness
(3)Windshield Wiper Motor Connector
(4)G117
(5)P100
(6)Cruise Control Module (CCM) Connector
(7)Underhood Lamp Connector
(8)Front Drive Axle Clutch Solenoid Connector
(9)S138
(10)Blower Motor Resistor Connector
(11)Vehicle Control Module (VCM), Connector C4
(12)Blower Motor Connector (C42/C60), Blower Motor Control Module (C68)
(13)C101 (2.2 L)
(14)C101 (4.3 L)
(15)S121
(16)S113
(17)S118
Figure 15:

Manual Transmission, LH (4.3 L)


Object Number: 357140  Size: LF
(1)Heated Oxygen Sensor (HO2S) Bank 1, Sensor 1 Connector
(2)C104
(3)S140
(4)Vehicle Speed Sensor (2WD)
(5)Backup Lamp Switch
(6)Heated Oxygen Sensor (HO2S) Bank 1, Sensor 1
Figure 16:

Automatic Transmission (2.2 L)


Object Number: 357137  Size: LF
(1)Vehicle Speed Sensor
(2)C175
(3)S140
(4)Heated Oxygen Sensor (HO2S) Bank 1, Sensor 2 Connector
Figure 17:

Transmission Range Switch (w/ A/T) 4.3L Shown, 2.2 L Similar


Object Number: 357138  Size: LF
(1)C104
(2)Park/Neutral Position and Backup Lamp Switch Connector C2
(3)Park/Neutral Position and Backup Lamp Switch Connector C1
(4)Heated Oxygen Sensor (HO2S) Bank 1, Sensor 1 Connector
(5)Heated Oxygen Sensor (HO2S) Bank 1, Sensor 1
Figure 18:

Automatic Transmission, RH (4.3 L)


Object Number: 357139  Size: LF
(1)C175
(2)Vehicle Speed Sensor
(3)S140
Figure 19:

Tranfer Case (NP1) Harness Routing View


Object Number: 580982  Size: LF
(1)Electric Shift Transfer Case Harness
(2)Transfer Case Encoder Motor Connector
(3)Electric Shift Transfer Case (NP1)
Figure 20:

Transfer Case


Object Number: 357141  Size: LF
(1)C116
(2)Transfer Case Encoder Motor
(3)Vehicle Speed Sensor (VSS) and Connector
(4)Transfer Case Rear Propshaft Speed Sensor and Connector
(5)S134
(6)Transfer Case Front Propshaft Speed Sensor and Connector
Figure 21:

Transfer Case, RH Rear (Bravada)


Object Number: 421497  Size: LF
(1)Transfer Case Rear Propshaft Speed Sensor and Connector
(2)Active Transfer Case Harness
(3)Transfer Case Encoder Motor and Connector
(4)Transfer Case (NP4)
Figure 22:

Transfer Case (NP8) Harness Routing View


Object Number: 580984  Size: LF
(1)C116, C2 (M50 Only)
(2)Active Transfer Case Harness
(3)Vehicle Speed Sensor (VSS)
(4)Transfer Case Encoder Motor, C2
(5)Transfer Case Encoder Motor, C1
(6)Transfer Case Rear Propshaft Speed Sensor
(7)Transfer Case (NP8)
(8)Transfer Case Front Propshaft Speed Sensor
(9)S134
(10)C116, C2 (M30 Only)
Figure 23:

Instrument Panel, LF


Object Number: 612451  Size: LF
(1)IP Bulkhead
(2)C214
(3)C211
(4)C210
(5)C204
(6)Body Control Module (BCM) Connector C1
(7)Body Control Module (BCM) Connector C2
(8)IP Vacuum Harness Connector
(9)Lower Discharge Air Temperature Sensor (w/C68)
(10)Splice Pack SP202
(11)S202
(12)Body Relay Block
(13)Stop Lamp Switch
(14)C500
(15)C501 (4-Door Utility), C502 (2-Door Export)
(16)Splice Pack SP201
(17)C209
(18)C229 (Envoy Only)
(19)G200 and G202
(20)G201
(21)Clutch Pedal Position Switch
Figure 24:

Instrument Panel, RH


Object Number: 357162  Size: MF
(1)Heater/Vent Module
(2)C200
(3)C203
(4)Front RH Hinge Pillar
(5)Body Control Module (BCM)
(6)Body Control Module (BCM), Connector C1
(7)Body Control Module (BCM), Connector C2
(8)Body Control Module (BCM), Connector C3
Figure 25:

Instrument Panel, RF


Object Number: 609519  Size: LF
(1)C200
(2)C203
(3)Bulkhead, Right Front
(4)Recirculation Door Motor
(5)Turn Signal Lamp 2/4 Flasher (Pickup) or Turn Signal Lamp 3/6 Flasher (Utility)
(6)C601
(7)Transfer Case Shift Control Module Connectors
(8)Splice Pack SP200
(9)Splice Pack SP204
(10)G203, G204, G205, and G208 (Envoy)
(10)G203, G204, G205, and G208 (Envoy)
(11)G206
(11)G206
(12)HVAC Solenoid Assembly Connector (w/ Auto A/C)
(13)Electric Actuator Connector
Figure 26:

IP Wiring Harness


Object Number: 357160  Size: LF
(1)Inflatable Restraint IP Module
(2)Inflatable Restraint IP Module Connector
(3)IP Compartment Lamp
(4)Side Door Jamb Switch, RF
Figure 27:

Instrument Panel, LH


Object Number: 357144  Size: LF
(1)Headlamp Switch Connector
(2)Fog Lamp Switch Connector
(3)Headlamp Switch
(4)Side Door Jamb Switch, LF
(5)IP Fuse Block Side of the Body Relay Block Harness
(6)S204
(7)C217
(8)Courtesy Lamp, LH Console
(9)Body Relay Block
(10)S223
(11)Radio Speaker, Front LH
Figure 28:

IP Wiring Harness Composite View (with Auto A/C)


Object Number: 612497  Size: LF
(1)Inflatable Restraint IP Module Connector
(2)Radio Connector
(3)Sun Load Temperature Sensor
(4)Transfer Case Select Switch
(5)Electronic Climate Control (EEC) Module
(6)Instrument Cluster Connector
(7)Instrument Panel (IP)
(8)Rear Wiper/Washer Switch and Endgate/Liftgate Window Release Switch
(9)Courtesy Lamp, LH IP
(10)S240
(11)Body Control Module (BCM) Connector C3
(12)C205 (Envoy Only)
(13)S290
(14)C224
(15)S275
(16)S283
(17)S286
(18)S276 (Envoy Only)
(19)S208
(20)Splice Pack SP203
(21)S272
(22)S274
(23)S273
(24)S288
(25)S223
(26)Courtesy Lamp, RH IP
(27)C200
(28)C203
(29)Side Door Jamb Switch, RF
(30)IP Compartment Lamp
(31)Headlamp Ambient Light Sensor
(32)Radio Speaker, Front RH
Figure 29:

IP Wiring Harness Composite View (without Auto A/C)


Object Number: 357143  Size: LF
(1)S217
(2)S215
(3)Inflatable Restraint IP Module Switch Connector
(4)Radio Connector
(5)Transfer Case Select Switch Connector
(6)S275
(7)S273
(8)Instrument Cluster Connector
(9)Instrument Panel (IP)
(10)Inflatable Restraint IP Module Switch Connector (Pickup) or Rear Window Wiper/Washer and Endgate/Liftgate Window Release Switch Connector (Utility)
(11)Console Courtesy Lamp, LH
(12)S240
(13)Body Control Module (BCM) Connector C3
(14)C224
(15)Splice Pack SP203
(16)S205
(17)S283
(18)S282
(19)S272
(20)S274
(21)S208
(22)C223
(23)Console Courtesy Lamp, RH
(24)C200
(25)C203
(26)Side Door Jamb Switch, RF
(27)IP Compartment Lamp Connector
(28)Radio Speaker, Front RH
Figure 30:

Steering Column Components


Object Number: 612525  Size: LF
(1)Shift Lever Assembly
(2)Upper Shroud
(3)Inflatable Restraint Steering Wheel Module Coil
(4)C214
(5)Multifuction Switch
(6)G207
(7)Park Lock Solenoid Connector
(8)Automatic Transmission Shift lock Control Solenoid
(9)C211
(10)Transmission Shift Lever
(11)Passlockā„¢ Sensor Connector
(12)Ignition and Start Switch and Ignition Key Alarm Switch
Figure 31:

Accessories Power Tray


Object Number: 618545  Size: LF
(1)S268
(2)S269
(3)Accessories Power Receptacle Harness Connector
(4)C223
(5)IP Insulator
(6)Accessories Power Tray
(7)Accessories Power Receptacle, RH
(8)Accessories Power Receptacle, LH
Figure 32:

Dome Lamp Harness


Object Number: 612552  Size: LF
(1)S302
(2)S332
(3)Dome Lamp Harness
(4)Dome and High Mount Stop Lamp
(5)S300
(6)Visor Vanity Mirror Lamp, LH
(7)C209
(8)Inside Rear View Mirror
(9)Visor Vanity Mirror Lamp, RH
Figure 33:

Sunroof (Utility)


Object Number: 357169  Size: LF
(1)Driver Information Display Module, Connector C2
(2)Sunroof Motor and Drive
(3)Sunroof Module, Connector C2
(4)Sunroof Module, Connector C1
(5)S332
(6)C300
(7)Sunroof Module
(8)S390
(9)Driver Information Display Module, Connector C1
(10)Driver Information Display Module
Figure 34:

Dome Lamp Harness w/o Driver Information Display Module (Utility)


Object Number: 612559  Size: LF
(1)Dome Lamp
(2)S332
(3)S300
(4)S302
(5)Dome Lamp Harness
(6)C209
(7)Visor Vanity Mirror Lamp, LH
(8)Inside Rear View Mirror
(9)Visor Vanity Mirror Lamp, RH
Figure 35:

Driver Information Display Module (w/ Overhead Console)


Object Number: 612578  Size: LF
(1)Driver Information Display Module, Connector C1
(2)Driver Information Display Module
(3)C301
(4)S310
(5)S302
(6)Interior Air Temperature Sensor (w/ Auto A/C)
(7)S332
(8)S390
Figure 36:

Floor Panel, Utility


Object Number: 612592  Size: LF
(1)S308
(2)S306
(3)S309
(4)S304
(5)S312
(6)C317
(7)Inflatable Restraint Sensing and Diagnostic Module (SDM) Connector
(8)Inflatable Restraint Sensing and Diagnostic Module (SDM)
(9)C315
(10)S307
(11)S305
Figure 37:

Floor Shifter Harness Connections


Object Number: 401101  Size: MF
(1)Automatic Transmission Controller Connector
(2)Automatic Transmission Preference Switch Connector
(3)S336
(4)Floor Shifter
(5)Automatic Transmission Controller Indicator Lamp
(6)S335
Figure 38:

Body Wiring to Left Front Seat


Object Number: 357190  Size: MF
(1)C317
(2)Seat
Figure 39:

Doors (RF Shown, LF Similar)


Object Number: 416725  Size: LF
(1)Door Lock Cylinder Switch Connector, RH
(2)Door Handle Switch Connector, RH
(3)Door Lock Actuator Connector, RH
(4)Door Lock Actuator, RH
(5)Side Window Regulator Motor and Connector, RH
(6)Splice S502 (LH)
(7)Splice S601 (RH), S501 (LH)
(8)Door Speaker Connector, RH
(9)C601 (RH), C500 (LH)
(10)C501 (LH)
(11)P600 (RH), P500 (LH)
(12)Outside Rear View Mirror Connector, RH
Figure 40:

Outside Rear View Mirror


Object Number: 357149  Size: LF
(1)P501 (LH) or P601 (RH)
(2)Outside Rear View Mirror, LH (RH Opposite)
(3)Outside Rear View Mirror Connector
Figure 41:

Rear Door Wiring Harness (RH Shown, LH Similar)


Object Number: 357305  Size: LF
(1)Door
(2)Door Lock Actuator, RH Rear
(3)Side Window Switch, RH Rear
(4)Door Speaker, RH Rear
(5)Side Window Regulator Motor, RH Rear
(6)C306 (RH) or C304 (LH)
(7)C307 (RH) or C305 (LH)
(8)P800 (RH) or P700 (LH)
(9)Side Window Switch, RH Rear
Figure 42:

Rear Door Details - 2 & 4 Door Utility


Object Number: 614497  Size: LF
(1)Door Opening Frame (4-Door)
(2)S307 (RH) or S306 (LH) (4-Door)
(3)Side Door Jamb Switch, RR
(4)Body Side Panel, RH (2-Door)
(5)Radio Speaker, RR (2-Door)
(6)S305 (RH) or S308 (LH) (4-Door)
(7)C306
(8)C307
Figure 43:

Body Wiring Views


Object Number: 612610  Size: LF
(1)C471
(2)G420
(3)Vacuum Hoses
(4)Automatic Level Control Air Compressor
(5)P400
(6)Vehicle Communications Unit Connector
Figure 44:

Body Wiring to Body Side Trim Panel


Object Number: 357314  Size: MF
(1)Automatic Level Control Solenoid Valve
(2)C471
(3)Body Side Trim
(4)S470
(5)Automatic Level Control Timer Relay
(6)Automatic Level Control Inflator Air Switch
(7)Accessories Power Receptacle, Rear
Figure 45:

Automatic Level Control Harness View


Object Number: 572118  Size: MF
(1)Automatic Level Control Harness
(2)S471
(3)S473
(4)S474
(5)Automatic Level Control Sensor Connector
(6)S472
Figure 46:

Automatic Level Control Air Compressor


Object Number: 610286  Size: LF
(1)Park and Turn Signal Lamp, RH Rear
(2)Automatic Level Control Air Compressor
(3)Body Harness
(4)Automatic Level Control Air Compressor Connector
(5)C472
(6)C470
(7)Automatic Level Control Harness
Figure 47:

Body Opening Frame, Rear


Object Number: 614500  Size: LF
(1)High Mount Stop Lamp Resistor, S404 and S405
(2)C403
(3)S476 (Envoy)
(4)G450
(5)S427
(6)G420
(7)C402
(8)S475 (Envoy)
Figure 48:

Rear Roof (Utility)


Object Number: 614505  Size: LF
(1)High Mount Stop Lamp (w/Endgate)
(2)Cargo Lamp (w/Endgate)
(3)High Mount Stop Lamp (w/Liftgate)
(4)Cargo Lamp (w/Liftgate)
(5)High Mount Stop Lamp Connector
(6)P404 (w/Endgate)
Figure 49:

Rear Lamps Connection (Utility LH Side Shown, RH Side Similar)


Object Number: 357368  Size: LF
(1)C403 (LH) and C402 (RH)
(2)S417 (LH) and S418 (RH)
(3)S415 (LH) and S416 (RH)
(4)S419 (LH) and S420 (RH)
(5)P402 (LH) and P403 (RH)
(6)Park and Turn Signal Lamps, LH Rear (RH Similar) Upper and Lower
(7)Backup Lamp, LH (RH Similar)
Figure 50:

Body Harness to Rear Window Defogger


Object Number: 610361  Size: LF
(1)C432 LH (Shown), C433 RH (Opposite)
(2)Body Harness
(3)Rear Window Defogger Extension Harness
(4)Endgate
(5)LR Quarter, Above Liftglass
Figure 51:

Rear Lamps (Pickup)


Object Number: 357373  Size: LF
(1)Side Marker Lamp, RH Rear
(2)Park and Turn Signal Lamp, RH Rear
(3)Backup Lamp, RH
(4)Splice Pack SP400
(5)Backup Lamp, LH
(6)Side Marker Lamp, LH Rear
(7)Park and Turn Signal Lamp, LH Rear
Figure 52:

Endgate Connectors


Object Number: 357349  Size: LF
(1)Body Floor
(2)C411, C412 and C413
(3)Endgate
(4)Window Washer Tube Check Valve, Rear
Figure 53:

Rear Framerail-Pickup


Object Number: 357336  Size: LF
(1)Framerail, LR
(2)C401
(3)Framerail, RR
(4)G422
(5)Splice Pack SP401
(6)G402
(7)G475
(8)Splice Pack SP402
Figure 54:

Chassis Harness (Splice Pack SP 422) Locator View


Object Number: 609128  Size: LF
(1)Frame (Shown upside down)
(2)Chassis Harness
(3)Splice Pack SP422
Figure 55:

Rear Frame - 2 Door Utility


Object Number: 968235  Size: MF
(1)G402
(2)to Fuel Pump and Sender
(3)SP423
(4)Trailer wiring
(5)C430
(6)Chassis harness
Figure 56:

Rear Frame - 4 Door Utility


Object Number: 357334  Size: LF
(1)Trailer Wiring Provision
(2)Splice Pack SP423
(3)Evaporative (EVAP) Emissions Canister Control Valve
(4)C430
(5)Fuel Filler Neck Ground Strap
(6)G402
Figure 57:

Liftgate LH (Utility)


Object Number: 357352  Size: LF
(1)C426 LH (C428 RH)
(2)C427 LH (C429 RH)
(3)P901
(4)C432 LH (C433 RH)
(5)Liftgate Switch Connector
(6)Liftgate Lock Actuator Connector
(7)Liftgate Window Release Actuator Connector
(8)Liftgate Window Release Actuator
Figure 58:

Liftgate Wiper Washer, RH


Object Number: 603587  Size: LF
(1)Lift Gate
(2)Rear Wiper Motor Connector
(3)Glass Ajar/Wiper Cutout Switch Connector
(4)Lock Actuator Solenoid Connector
(5)Rear Window Washer Nozzle Hose
(6)Lock Actuator Solenoid Connector
(7)Glass Ajar/Wiper Cutout Switch Connector
(8)Bracket
(9)Lift Gate Harness
Figure 59:

LH Front Fender Area Locator View


Object Number: 203298  Size: LF
(1)Electronic Brake Control Module (EBCM) (310) Connector C1
(2)Electronic Brake Control Module (EBCM) (310) Connector C3
(3)Connector C109 (Body Harness to 4WAL Harness)
(4)Connector C106 (Utility Body Harness to Forward Lamps Harness)
(5)Rear Windshield Washer Pump (Utility)
(6)Ground G110
(7)Windshield Washer Pump, Front
(8)Underhood Fuse Block Connector C1
(9)Connector C114 (Body Harness to 4WD Indicator Switch, w/ Electric Shift 4WD)
(10)Brake Pressure Differential Switch
(11)Connector C108 (Body Harness to 4WD Extension Harness)
Figure 60:

License Lamp Wiring (Sportside Pickup)


Object Number: 357377  Size: LF
(1)Rear License Plate Lamp
(2)C430
Figure 61:

License Lamps (Export)


Object Number: 406635  Size: LF
(1)Connector C430
(2)Rear License Lamp Mounting Bracket
(3)RH License Lamp
(4)Center License Lamp
(5)LH License Lamp
(6)S425
(7)S426
(8)Rear License Lamp Wiring Harness