GM Service Manual Online
For 1990-2009 cars only
Makes
🢒
Chevrolet
🢒
2000
🢒
S10 Pickup - 2WD
🢒
Body and Accessories
🢒
Wipers/Washer Systems
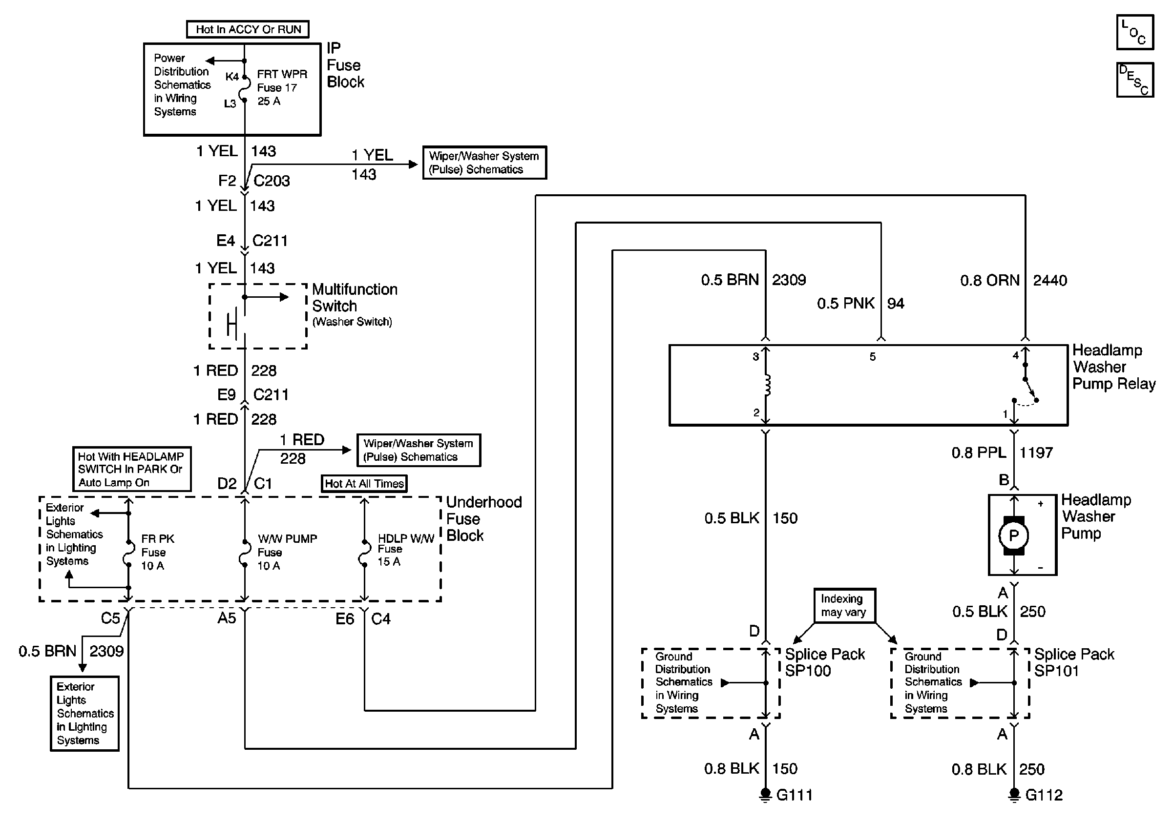
🢒 Headlamp Washer System Schematics
Headlamp Washer System Schematics Export Only
Wiper/Washer System Components
RR WPR, FRT WPR and ABS Fuses
Wiper/Washer System (Pulse)
Park Lamps and Marker Lamps, Front
Wiper/Washer System (Pulse)
Park Lamps and Marker Lamps, Front
G111 and G112 (Export)
G111 and G112 (Export)