GM Service Manual Online
For 1990-2009 cars only
Figure 1:

Accessories Power Tray


Object Number: 618545  Size: LF
(1)S268
(2)S269
(3)Accessories Power Receptacle Harness Connector
(4)C223
(5)IP Insulator
(6)Accessories Power Tray
(7)Accessories Power Receptacle, RH
(8)Accessories Power Receptacle, LH
Figure 2:

Battery Fuse and Secondary Air Injection Reactor (AIR) Jumper Harness


Object Number: 612447  Size: LF
(1)Radiator Support, RH
(2)Secondary Air Injector Reactor (AIR) Jumper Harness
(3)Battery Fuse
(4)Fuse Holder
(5)G100
(6)G112
(7)S153
(8)Battery Positive Cable
Figure 3:

Battery Fuse Cable to Underhood Fuse Block


Object Number: 354779  Size: LF
(1)Underhood Fuse Block
(2)Battery Fuse Stud Cover
(3)Battery Fuse Cable
Figure 4:

Battery Negative Cable and Ground (2.2 L Engine)


Object Number: 354782  Size: MF
(1)G102
(2)G103
(3)G107
Figure 5:

Body Wiring to Body Side Trim Panel


Object Number: 357314  Size: MF
(1)Automatic Level Control Solenoid Valve
(2)C471
(3)Body Side Trim
(4)S470
(5)Automatic Level Control Timer Relay
(6)Automatic Level Control Inflator Air Switch
(7)Accessories Power Receptacle, Rear
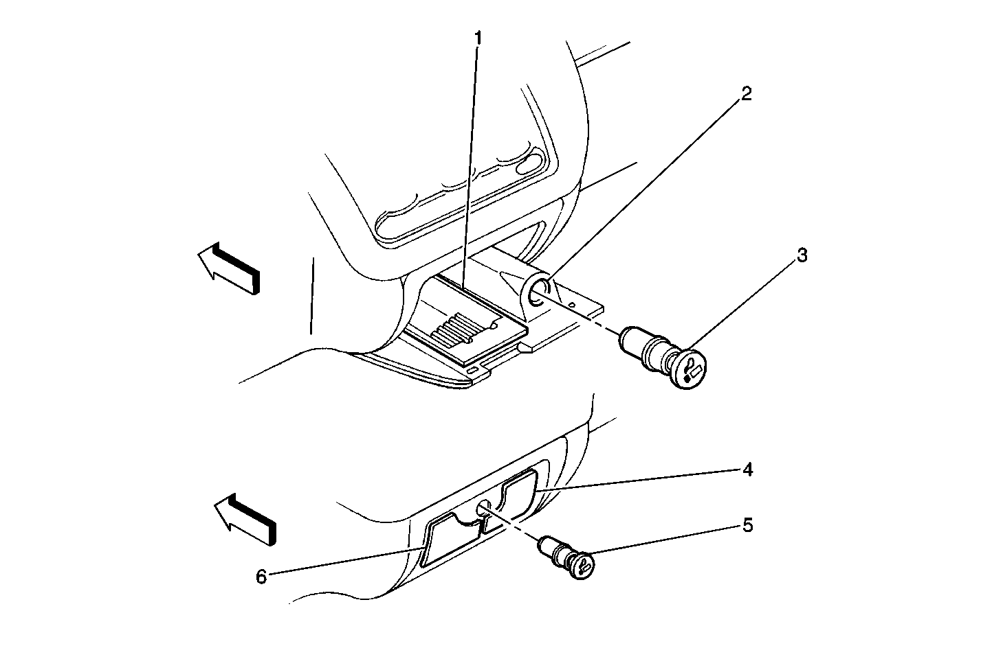
Figure 6:

Cigar Lighter


Object Number: 357158  Size: MF
(1)Ashtray
(2)Cigar Lighter Receptacle
(3)Cigar Lighter
(4)Accessories Power Receptacle, RH (Envoy)
(5)Cigar Lighter (Envoy)
(6)Accessories Power Receptacle, LH (Envoy)
Figure 7:

Body Relay Block Relays (Except Envoy)


Object Number: 668212  Size: LF
(1)Park Lamp Relay
(2)Courtesy Lamp Relay
(3)Retained Accessory Power (RAP) Relay
(4)Power Seats Circuit Breaker
(5)Power Windows Circuit Breaker
(6)Inadvertent Power Relay
(7)Door Lock Relay
(8)Headlamp Ground Relay
(9)Driver Door Unlock Relay
(10)Door Unlock Relay
Figure 8:

Body Relay Block (Envoy Only)


Object Number: 668222  Size: LF
(1)Park Lamp Relay
(2)Courtesy Lamp Relay
(3)Retained Accessory Power (RAP) Relay
(4)Power Seats Circuit Breaker
(5)Power Windows Circuit Breaker
(6)Inadvertent Power Relay
(7)Door Lock Relay
(8)High Beam Relay
(9)Driver Door Unlock Relay
(10)Door Unlock Relay
Figure 9:

Instrument Panel Fuse Block (Label)


Object Number: 547722  Size: MF
Figure 10:

Underhood Fuse Block Connector Location


Object Number: 354788  Size: LF
(1)Connector C2 (BLK)
(2)Connector C1 (LT GRY)
(3)Connector C5 (BLK)
(4)Connector C6 (LT GRY)
(5)Connector C3 (RED)
(6)Connector C4 (LT GRN)