GM Service Manual Online
For 1990-2009 cars only
Table 1: Side Door Lock Actuator Motor, LF Connector
Table 2: Side Door Lock Actuator RF, RR, LR and Liftgate Lock Actuator Connector
Table 3: Door Lock Cylinder Switch, LH, RH Connector (Except LH Utility w/Content Theft)
Table 4: Door Lock Cylinder Switch, LH (Utility w/Content Theft)
Table 5: Door Lock and Side Window Switch, LH, Connector C1
Table 6: Door Lock and Side Window Switch, RH, Connector C1
Table 7: Door Lock and Side Window Switch, LH, Connector C2
Table 8: Door Lock and Side Window Switch RH, Connector C2
Table 9: Endgate Lock Cylinder Switch
Table 10: Liftgate Lock Cylinder Switch
Table 11: Outside Rear View Folding Mirror Switch
Table 12: Outside Rear View Mirror Switch, Connector
Table 13: Outside Rear View Mirror, LH Connector
Table 14: Outside Rear View Mirror, RH Connector
Table 15: Side Window Regulator Motor, LF Connector
Table 16: Side Window Regulator Motor, RF Connector
Table 17: Side Window Regulator Motor, LR Connector
Table 18: Side Window Regulator Motor, RR Connector
Table 19: Side Window Lockout Switch Connector
Table 20: Side Window Switch, LR Connector
Table 21: Side Window Switch, RR Connector

Side Door Lock Actuator Motor, LF Connector


Object Number: 68721  Size: CH

Connector Part Information

    • 15300027
    • 2-Way F Metri-Pack 280 Series, Sealed (BLK)

Pin

Wire Color

Circuit No.

Function

A

TAN

694

Power Door Lock Motor Feed - Driver Door Unlock

B

GRY

295

Power Door Lock Motor Feed - Lock

Side Door Lock Actuator RF, RR, LR and Liftgate Lock Actuator Connector


Object Number: 68721  Size: CH

Connector Part Information

    • 15300027
    • 2-Way F Metri-Pack 280 Series, Sealed (BLK)

Pin

Wire Color

Circuit No.

Function

A

TAN

294

Power Door Lock Motor Feed - Unlock

B

GRY

295

Power Door Lock Motor Feed - Lock

Door Lock Cylinder Switch, LH, RH Connector (Except LH Utility w/Content Theft)


Object Number: 35437  Size: CH

Connector Part Information

    • 12052642
    • 2-Way F Metri-Pack 150 Series, Sealed (LT GRN)

Pin

Wire Color

Circuit No.

Function

A

BLK

1050

Ground (RH)

A

BLK

1850

Ground (LH Pickup)

A

WHT/BLK

1221

Liftgate Release Switch Output (LH Utility w/o Content Theft)

B

LT GRN

262

Door Key Lock Cylinder Switch Signal (RH, LH on Blazer LT)

B

BLK/WHT

56

Trunk Release Motor Feed (LH Utility)

Door Lock Cylinder Switch, LH (Utility w/Content Theft)


Object Number: 280765  Size: CH

Connector Part Information

    • 12162834
    • 4-Way F Metri-Pack 150.2 Series, Pull-to-Seat (MD GRY)

Pin

Wire Color

Circuit No.

Function

A

BLK/WHT

56

Trunk Release Motor Feed

B

BLK

1850

Ground

C

WHT/BLK

1221

Liftgate Release Switch Output

D

LT GRN

262

Door Key Lock Cylinder Switch Signal - Driver

Door Lock and Side Window Switch, LH, Connector C1


Object Number: 39764  Size: CH

Connector Part Information

    • 12084617
    • 11-Way F Metri-Pack 150, 280, 480 Series (BLK)

Pin

Wire Color

Circuit No.

Function

A-B

--

--

Not Used

C

LT BLU

195

Power Door Relay Feed - Lock Coil

D

ORN

840

Fuse Output - Battery

E

WHT

194

Power Door Lock Relay Feed - Unlock Coil

F

BLK

1850

Ground

G

--

--

Not Used

H

PPL

171

Power Window Master Switch Output - Right Rear Window - Down

J

BRN

2409

Fuse Output - Interior Park Lamps

K

PPL

169

Power Window Master Switch Output - Left Rear Window - Down

L

DK GRN

1001

Fuse Output - Retained Accessory Power (Double Wire Pin-Out)

Door Lock and Side Window Switch, RH, Connector C1


Object Number: 39764  Size: CH

Connector Part Information

    • 12084617
    • 11-Way F Metri-Pack 150, 280, 480 Series (BLK)

Pin

Wire Color

Circuit No.

Function

A-B

--

--

Not Used

C

WHT

194

Power Door Lock Relay Feed - Unlock Coil

D

ORN

840

Fuse Output - Battery

E

LT BLU

195

Power Door Lock Relay Feed - Lock Coil

F

DK GRN

1001

Fuse Output - Retained Accessory Power

G

DK BLU

666

Power Window Motor Feed - Right Front Window - Up

H

--

--

Not Used

J

LT BLU

166

Power Window Master Switch Output - Right Front Window - Up

K

BRN

667

Power Window Motor Feed - Right Front Window - Down

L

TAN

167

Power Window Master Switch Output - Right Front Window - Down

Door Lock and Side Window Switch, LH, Connector C2


Object Number: 39751  Size: CH

Connector Part Information

    • 12084603
    • 8 Way F Metri-Pack Mixed Series (MD GRY)

Pin

Wire Color

Circuit No.

Function

A

DK BLU

164

Power Window Motor Feed - Left Front Window - Up

B

LT BLU

166

Power Window Master Switch Output - Right Front Window - Up

C

BLK

1850

Ground

D

TAN

167

Power Window Master Switch Output - Right Front Window - Down

E

BRN

165

Power Window Motor Feed - Left Front Window - Down

F

--

--

Not Used

G

DK GRN

168

Power Window Master Switch Output - Left Rear Window - Up

H

LT GRN

170

Power Window Master Switch Output - Right Rear Window - Up

Door Lock and Side Window Switch RH, Connector C2


Object Number: 333035  Size: CH

Connector Part Information

    • 12047781
    • 3 Way F 150 Series (BLK)

Pin

Wire Color

Circuit No.

Function

A

--

--

Not Used

B

BLK

1050

Ground

C

BRN

2409

Fuse Output - Interior Park Lamps

Endgate Lock Cylinder Switch


Object Number: 39667  Size: CH

Connector Part Information

    • 12129136
    • 4-Way F Metri-Pack 280 Series, Flex Lock (BLK)

Pin

Wire Color

Circuit No.

Function

A

LT BLU

195

Power Door Lock Relay Feed - Lock Coil

B

WHT

194

Power Door Lock Relay Feed - Unlock Coil

C

WHT/BLK

1221

Liftgate Release Switch Output

D

ORN

840

Fuse Output - Battery

Liftgate Lock Cylinder Switch


Object Number: 39667  Size: CH

Connector Part Information

    • 12129136
    • 4-Way F Metri-Pack 280 Series, Flex Lock (BLK)

Pin

Wire Color

Circuit No.

Function

A

LT BLU

195

Power Door Lock Relay Feed - Lock Coil

B

WHT

194

Power Door Lock Relay Feed - Unlock Coil

C

WHT

1221

Liftgate Release Switch Output

D

ORN

840

Fuse Output - Battery

Outside Rear View Folding Mirror Switch


Object Number: 362751  Size: CH

Connector Part Information

    • 12103329
    • 4-Way M Metri-Pack 150 Series (BLK)

Pin

Wire Color

Circuit No.

Function

A

DK GRN

1301

Fuse Output - Retained Accessory Power

B

YEL

190

Folding Mirror Motor Feed - Extend

C

BLK

1850

Ground

D

LT BLU

191

Folding Mirror Motor Feed - Retract

Outside Rear View Mirror Switch, Connector


Object Number: 62464  Size: CH

Connector Part Information

    • 12064769
    • 10-Way F Metri-Pack 150 Series (WHT)

Pin

Wire Color

Circuit No.

Function

A

BRN

2409

Fuse Output - Interior Park Lamps

B

BLK

1850

Ground

C

LT GRN

89

Power Mirror Motor Feed - Left Vertical Motor - Down Direction

D

YEL

1496

Power Mirror Motor Feed - Common

E

YEL

1496

Power Mirror Motor Feed - Common

F

WHT

81

Power Mirror Motor Feed - Left Horizontal Motor - Right Direction

G

ORN

840

Fuse Output - Battery

H

--

--

Not Used

J

RED/WHT

881

Power Mirror Motor Feed - Right Horizontal Motor - Right Direction

K

PPL/WHT

889

Power Mirror Motor Feed - Right Vertical Motor - Down Direction

Outside Rear View Mirror, LH Connector


Object Number: 153651  Size: CH

Connector Part Information

    • 12065659
    • 10 Way M Metri-Pack Connector and Clip Assemblies (NAT)

Pin

Wire Color

Circuit No.

Function

A

ORN

2267

Fuse Output - Heated Mirror Element

B

PNK

1691

Automatic Day/Night Mirror Return - Outside

C

YEL

1496

Power Mirror Motor Feed - Common

D

LT GRN

89

Power Mirror Motor Feed Left - Vertical Motor - Down Direction

E

WHT

81

Power Mirror Motor Feed - Left Horizontal Motor - Right Direction

F

--

--

Not Used

G

GRY

1690

Automatic Day/Night Mirror Signal - Outside

H

BLK

1850

Ground

J

YEL

190

Folding Mirror Motor Feed - Extend

K

LT BLU

191

Folding Mirror Motor Feed - Retract

Outside Rear View Mirror, RH Connector


Object Number: 153651  Size: CH

Connector Part Information

    • 12065659
    • 10 Way M Metri-Pack Connector and Clip Assemblies (NAT)

Pin

Wire Color

Circuit No.

Function

A

ORN

2267

Fuse Output - Heated Mirror Element

B

--

--

Not Used

C

YEL

1496

Power Mirror Motor Feed - Common

D

PPL/WHT

889

Power Mirror Motor Feed - Right Vertical Motor - Down Direction

E

RED/WHT

881

Power Mirror Motor Feed Right - Horizontal Motor - Right Direction

F-G

--

--

Not Used

H

BLK

1050

Ground

J

YEL

190

Folding Mirror Motor Feed - Extend

K

LT BLU

191

Folding Mirror Motor Feed - Retract

Side Window Regulator Motor, LF Connector


Object Number: 35433  Size: CH

Connector Part Information

    • 12033911
    • 2-Way F Pack - Con Series (NAT)

Pin

Wire Color

Circuit No.

Function

A

BRN

165

Power Window Motor Feed - Left Front Window - Down

B

DK BLU

164

Power Window Motor Feed - Left Front Window - Up

Side Window Regulator Motor, RF Connector


Object Number: 35433  Size: CH

Connector Part Information

    • 12033911
    • 2-Way F Pack - Con Series (NAT)

Pin

Wire Color

Circuit No.

Function

A

BRN

667

Power Window Motor Feed - Right Front Window - Down

B

DK BLU

666

Power Window Motor Feed - Right Front Window - Up

Side Window Regulator Motor, LR Connector


Object Number: 35433  Size: CH

Connector Part Information

    • 12033911
    • 2-Way F Pack - Con Series (NAT)

Pin

Wire Color

Circuit No.

Function

A

BRN

669

Power Window Motor Feed - Left Rear Window - Down

B

DK BLU

668

Power Window Motor Feed - Left Rear Window - Up

Side Window Regulator Motor, RR Connector


Object Number: 35433  Size: CH

Connector Part Information

    • 12033911
    • 2-Way F Pack - Con Series (NAT)

Pin

Wire Color

Circuit No.

Function

A

BRN

671

Power Window Motor Feed - Right Rear Window - Down

B

DK BLU

670

Power Window Motor Feed - Right Rear Window - Up

Side Window Lockout Switch Connector


Object Number: 35435  Size: CH

Connector Part Information

    • 12066571
    • 4-Way F Metri-Pack 480 Series (BLK)

Pin

Wire Color

Circuit No.

Function

A

BLK

1850

Ground

B

DK BLU

1307

Power Window Master Switch Output - Lockout

C

BRN

2409

Fuse Output - Interior Park Lamps

D

DK GRN

1001

Fuse Output - Retained Accessory Power

Side Window Switch, LR Connector


Object Number: 288397  Size: CH

Connector Part Information

    • 12015344
    • 6-Way F Metri-Pack 280 Series (BLK)

Pin

Wire Color

Circuit No.

Function

A

DK GRN

168

Power Window Master Switch Output - Left Rear Window - Up

B

DK BLU

1307

Power Window Master Switch Output - Lockout

C

DK BLU

668

Power Window Motor Feed - Left Rear Window - Up

D

PPL

169

Power Window Master Switch Output - Left Rear Window - Down

E

--

--

Not Used

F

BRN

669

Power Window Motor Feed - Left Rear Window - Down

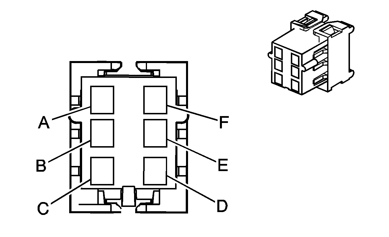
Side Window Switch, RR Connector


Object Number: 288397  Size: CH

Connector Part Information

    • 12015344
    • 6-Way F Metri-Pack 280 Series (BLK)

Pin

Wire Color

Circuit No.

Function

A

DK GRN

170

Power Window Master Switch Output - Right Rear Window - Up

B

DK BLU

1307

Power Window Master Switch Output - Lockout

C

DK BLU

670

Power Window Motor Feed - Right Rear Window - Up

D

PPL

171

Power Window Master Switch Output - Right Rear Window - Down

E

--

--

Not Used

F

BRN

671

Power Window Motor Feed - Right Rear Window - Down