GM Service Manual Online
For 1990-2009 cars only

For time and/or mileage intervals of scheduled maintenance items, refer to Maintenance Schedule .

The following text and illustrations describe the details of the required scheduled maintenance services.

For information on the proper fluids and lubricants to use, refer to Fluid and Lubricant Recommendations .

Engine Oil and Filter Change

For the engine oil and filter changing procedure, refer to Engine Oil and Oil Filter Replacement or Engine Oil and Oil Filter Replacement in Engine Mechanical.

Engine Oil Quality (United States and Canada)


Object Number: 65538  Size: SH

Important: When adding to, or changing the engine oil, use ONLY oils of the proper quality.

Oils of the proper quality for the vehicle can be identified by looking for the STARBURST symbol. The STARBURST symbol indicates that the oil has been certified by the American Petroleum Institute (API), and is preferred for use in gasoline engines.

Engine Oil Viscosity (United States and Canada)


Object Number: 65536  Size: MH

Notice: Using oils of any viscosity other than those recommended could result in engine damage. When choosing an oil, consider the range of temperatures the vehicle will be operated in before the next oil change. Then, select the recommended oil viscosity.

The recommended oil viscosity for all vehicles is SAE 5W-30.

Engine oil viscosity (thickness) has an effect on the fuel economy and the cold-weather operation (starting and oil flow). Lower viscosity engine oils can provide better fuel economy and cold-weather performance. However, higher temperature weather condition require higher viscosity engine oils for satisfactory lubrication. When the temperature is consistently above -18°C (0°F) , SAE 10W-30 can be used. SAE 20W-50 or oils of other viscosity rating or quality designations are NOT recommended for use in any GMC vehicle at any time.

Engine Oil Quality and Viscosity, Other Than The United States and Canada


Object Number: 404726  Size: MF

Notice: Using oils of any viscosity other than those recommended could result in engine damage. When choosing an oil, consider the range of temperatures the vehicle will be operated in before the next oil change. Then, select the recommended oil viscosity.

Important: When adding to, or changing the engine oil, use ONLY oils of the proper quality.

In countries other than the United States and Canada, it may be difficult to find engine oils that display the API STARBURST symbol certifying the oil is for use in gasoline engines. If you are unable to find engine oils displaying the API STARBURST symbol, use engine oils that meet API Service SJ and/or ACEA A1-96, ACEA A2-96, or ACEA A3-96 requirements as shown in the chart above.

Chassis Lubrication

Notice: Do not lubricate the parking brake cables. Lubrication destroys the plastic coating on the cable.

Lubricate transaxle shift linkage. Lubricate the parking brake guides, underbody contact points and linkage.

Lubrication Points (Automatic/Selectable 4WD)


Object Number: 756542  Size: SH
(1)Transmission
(2)Rear Axle Differential
(3)Transfer Case
(4)Clutch Actuator
(5)Brake Master Cylinder
(6)Engine
(7)Front Wheel Bearings
(8)Front Axle Differential
(9)Oil Filter
(10)Front Propeller Shaft
(11)Steering Linkage
(12)Ball Joints

Lubrication Points (Rear-Wheel Drive)


Object Number: 397597  Size: MF
(1)Propeller Shaft-Slip Joint
(2)Rear Axle Differential
(3)Clutch Actuator
(4)Master Cylinder
(5)Oil Filter (V6)
(6)Steering Gear
(7)Engine
(8)Steering Linkage
(9)Front Wheel Bearings
(10)Transmission

Lubricating Joints that have Grease Fittings

Refer to the illustration for the location of the grease fittings.

2wd Extended Cab Pick-ups only: Lubricate double cardan CV type U-joint centering ball and seat.


Object Number: 869259  Size: SH

Important: Wipe off all dirt from the grease fitting before lubricating the joint. Ball joints should not be lubricated unless their temperature is -12°C (10°F) or higher. During cold weather, the ball joint should be allowed to warm up as necessary before being lubricated. Use a low-pressure grease gun on all joints to prevent seal damage.

Lubrication Fittings (Driver Side)


Object Number: 179741  Size: MF
(1)Lubrication Fittings

Apply grease slowly while watching the grease seal. Apply grease until grease is seen bleeding from the seal. If the seal expands but no grease is seen, do not apply any more grease and allow time for the grease to bleed from the seal.

Lubrication Fittings (Passenger Side)


Object Number: 179742  Size: MF
(1)Lubrication Fittings

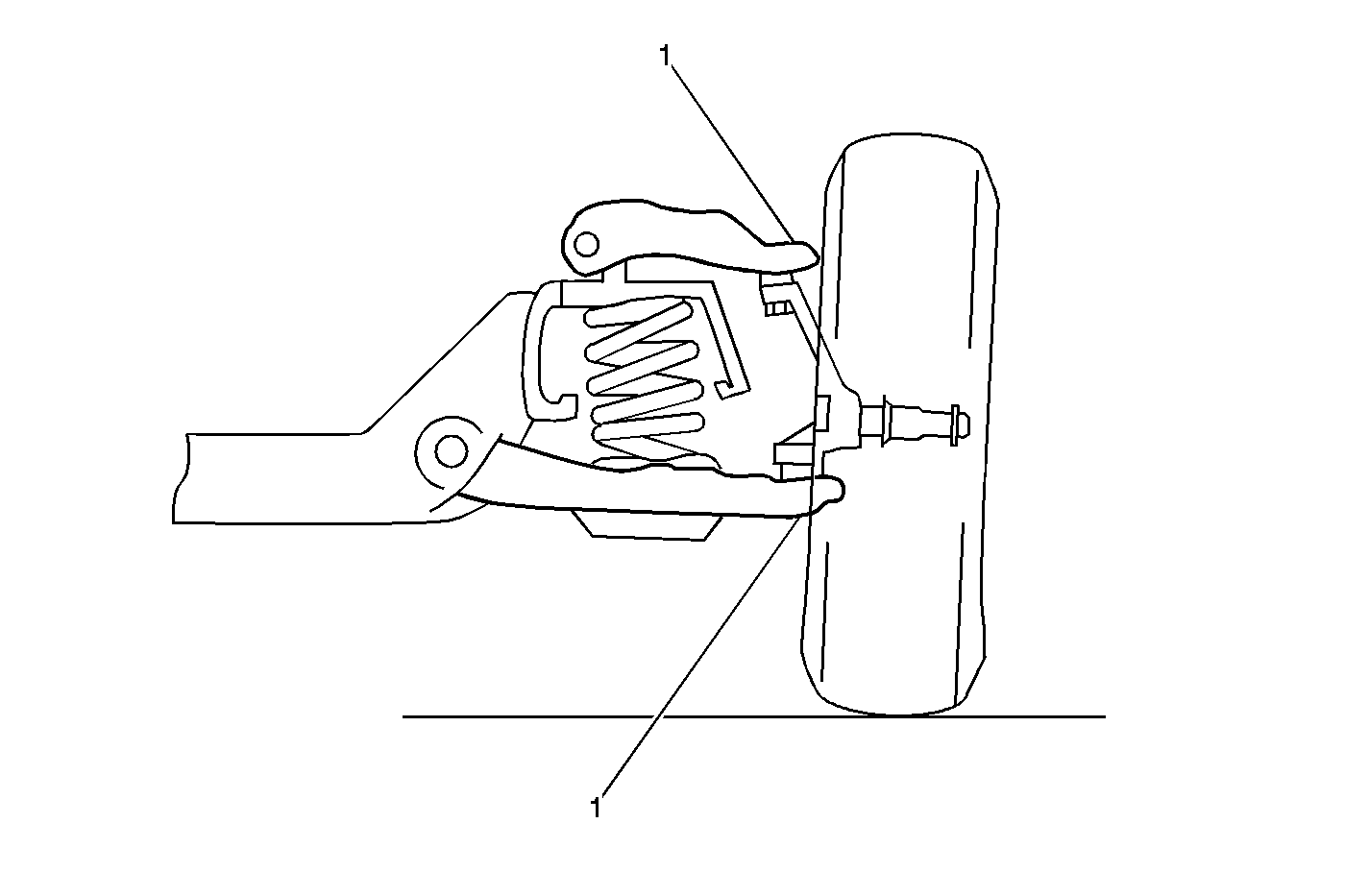
Upper and Lower Ball Joint Lubrication (2WD)


Object Number: 756526  Size: MF
(1)Ball Joint Lubrication Fittings

Upper and Lower Ball Joint Lubrication (4WD)


Object Number: 756527  Size: MF
(1)Ball Joint Lubrication Fittings

Tire and Wheel Inspection and Rotation

Check the tires for abnormal wear or damage. Rotate the tires in order to equalize the wear and obtain maximum tire life. Use the recommended rotation sequence shown in the appropriate illustration:


Object Number: 105088  Size: SH
    • Four tire rotation sequence

Object Number: 156806  Size: SH
    • Five tire rotation sequence

Accessory Drive Belt Inspection

Inspect the accessory drive belts for the following:

    • Cracks
    • Fraying
    • Wear
    • Proper tension

Replace as needed. (Belts can have many small cracks in individual ribs without affecting the performance.) Refer to Drive Belt Replacement or Drive Belt Replacement in Engine Mechanical.

Transmission Service

Automatic Transmission

Change both the fluid and the filter according to the maintenance schedule intervals. For maintenance schedule information, refer to Maintenance Schedule .

Spark Plug Replacement

Replace the spark plugs according to the maintenance schedule intervals with the correct type. For maintenance schedule information, refer to Maintenance Schedule .

For information on the correct type of spark plug, Refer to Maintenance Items .

Spark Plug Wire Inspection

Clean the spark plug wires and inspect for burns, cracks or other damage. Check the wire boot fit at the coils and at the spark plugs. Replace wires as needed.

Air Cleaner Filter Replacement

Replace the air cleaner filter according to the maintenance schedule intervals with the correct type. For maintenance schedule information, refer to Maintenance Schedule .

For information on the correct type of air cleaner filter, Refer to Maintenance Items .