GM Service Manual Online
For 1990-2009 cars only
Makes
🢒
Chevrolet
🢒
2000
🢒
S10 Pickup - 2WD
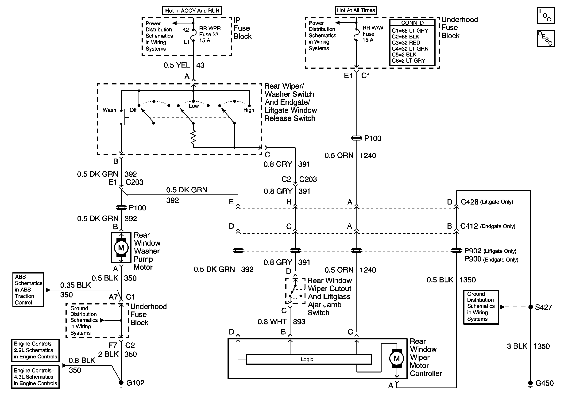
🢒 Wiper/Washer System (Rear)
Wiper/Washer System (Rear)
Wiper/Washer System Components
Rear Wiper/Washer System Circuit Description
RR WPR, FRT WPR and ABS Fuses
B+ Bus Bar
Power and Grounding Connector End Views
Power and Ground (310 ABS)
Fuel Injectors and Fuel Pump
Heated Oxygen Sensors
G102 (Except Export)
G420 and G450 (Utility w/ Endgate)