J 23742 Ball Joint Separator
Caution: Floor jack must remain under the lower control arm during removal and installation to retain the lower control arm in position. Failure to do so could result in personal injury.
Notice: Support the caliper with a piece of wire to prevent damage to the brake line.
Notice: Use the correct fastener in the correct location. Replacement fasteners must be the correct part number for that application. Fasteners requiring replacement or fasteners requiring the use of thread locking compound or sealant are identified in the service procedure. Do not use paints, lubricants, or corrosion inhibitors on fasteners or fastener joint surfaces unless specified. These coatings affect fastener torque and joint clamping force and may damage the fastener. Use the correct tightening sequence and specifications when installing fasteners in order to avoid damage to parts and systems.
Tighten
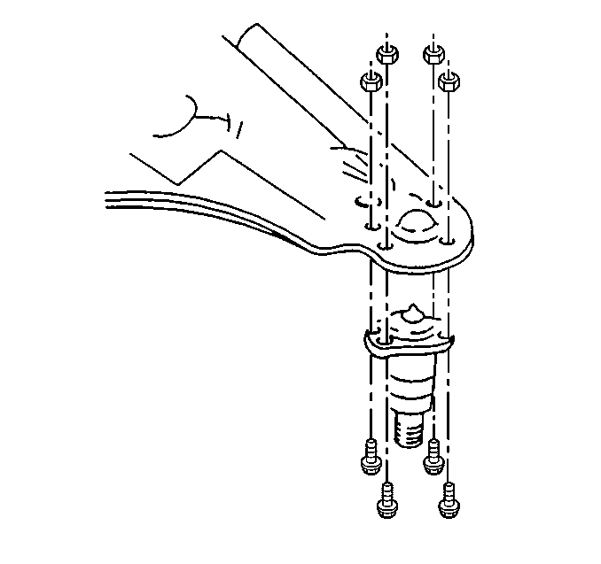
Tighten the upper ball joint retaining nuts to 23 N·m (17 lb ft).
Tighten
| • | Tighten the upper ball joint stud nut to 83 N·m (61 lb ft). |
| • | Tighten the stud nut in order to align the slot in the stud nut with the hole in the stud. |
| 10.1. | Place a block under the upper control arm to keep the control arm and the steering knuckle out of the way. |
| 10.2. | Suspend the steering knuckle to prevent straining the brake line. |
Use a 3.175 mm (1/8 in) drill to cut a 6.35 mm (1/4 in) deep hole in the center of each rivet.
Notice: Refer to Fastener Notice in the Preface section.
Tighten
Tighten the upper ball joint retaining nuts to 23 N·m
(17 lb ft).
Tighten
| • | Tighten the upper ball joint to steering knuckle retaining nut to 83 N·m (61 lb ft). |
| • | Tighten the upper ball joint to steering knuckle retaining nut in order to align for the cotter pin. Do not tighten the nut more than 1/6 turn. |
Tighten
Tighten the wheel speed sensor bracket and brake
hose bracket mounting nut to 24 N·m (18 lb ft).