GM Service Manual Online
For 1990-2009 cars only

Stabilizer Shaft Link Replacement Pickup and 4-Door Utility

Removal Procedure


    Object Number: 130879  Size: SH
  1. Raise and suitably support the vehicle. Refer to Lifting and Jacking the Vehicle in General Information.
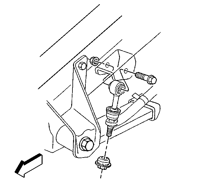
  2. Remove the stabilizer shaft link upper nut and bolt.

  3. Object Number: 3273  Size: SH
  4. Remove the stabilizer shaft link lower nut and bolt.
  5. Remove the stabilizer shaft link

Installation Procedure


    Object Number: 3273  Size: SH
  1. Install the stabilizer shaft.
  2. Install the stabilizer shaft link lower mounting bolt.

  3. Object Number: 130879  Size: SH
  4. Install the stabilizer shaft link upper mounting bolt.
  5. Notice: Use the correct fastener in the correct location. Replacement fasteners must be the correct part number for that application. Fasteners requiring replacement or fasteners requiring the use of thread locking compound or sealant are identified in the service procedure. Do not use paints, lubricants, or corrosion inhibitors on fasteners or fastener joint surfaces unless specified. These coatings affect fastener torque and joint clamping force and may damage the fastener. Use the correct tightening sequence and specifications when installing fasteners in order to avoid damage to parts and systems.

  6. Install the stabilizer shaft link mounting nuts.
  7. Tighten

        • Tighten the stabilizer shaft link lower mounting nut to 57 N·m (42 lb ft).
        • Tighten the stabilizer shaft link upper mounting nut to 35 N·m (25 lb ft).
  8. Lower the vehicle.

Stabilizer Shaft Link Replacement 2-Door Utility

Removal Procedure


    Object Number: 201748  Size: SH
  1. Raise and suitably support the vehicle. Refer to Lifting and Jacking the Vehicle in General Information.
  2. Remove the stabilizer shaft link upper mounting bolt and nut.
  3. Remove the stabilizer shaft link lower mounting nut.
  4. Remove the stabilizer shaft link.

Installation Procedure


    Object Number: 201748  Size: SH
  1. Install the stabilizer shaft link.
  2. Install the stabilizer shaft link lower mounting nut.
  3. Install the stabilizer shaft link upper mounting bolt and nut.
  4. Notice: Use the correct fastener in the correct location. Replacement fasteners must be the correct part number for that application. Fasteners requiring replacement or fasteners requiring the use of thread locking compound or sealant are identified in the service procedure. Do not use paints, lubricants, or corrosion inhibitors on fasteners or fastener joint surfaces unless specified. These coatings affect fastener torque and joint clamping force and may damage the fastener. Use the correct tightening sequence and specifications when installing fasteners in order to avoid damage to parts and systems.

  5. Tighten the stabilizer shaft link mounting nuts.
  6. Tighten

        • Tighten the stabilizer shaft link lower mounting nut to 68 N·m (50 lb ft).
        • Tighten the stabilizer shaft link upper mounting nut to 35 N·m (25 lb ft).
  7. Lower the vehicle.