GM Service Manual Online
For 1990-2009 cars only
Makes
🢒
Chevrolet
🢒
2001
🢒
S10 Pickup - 2WD
🢒
Steering
🢒
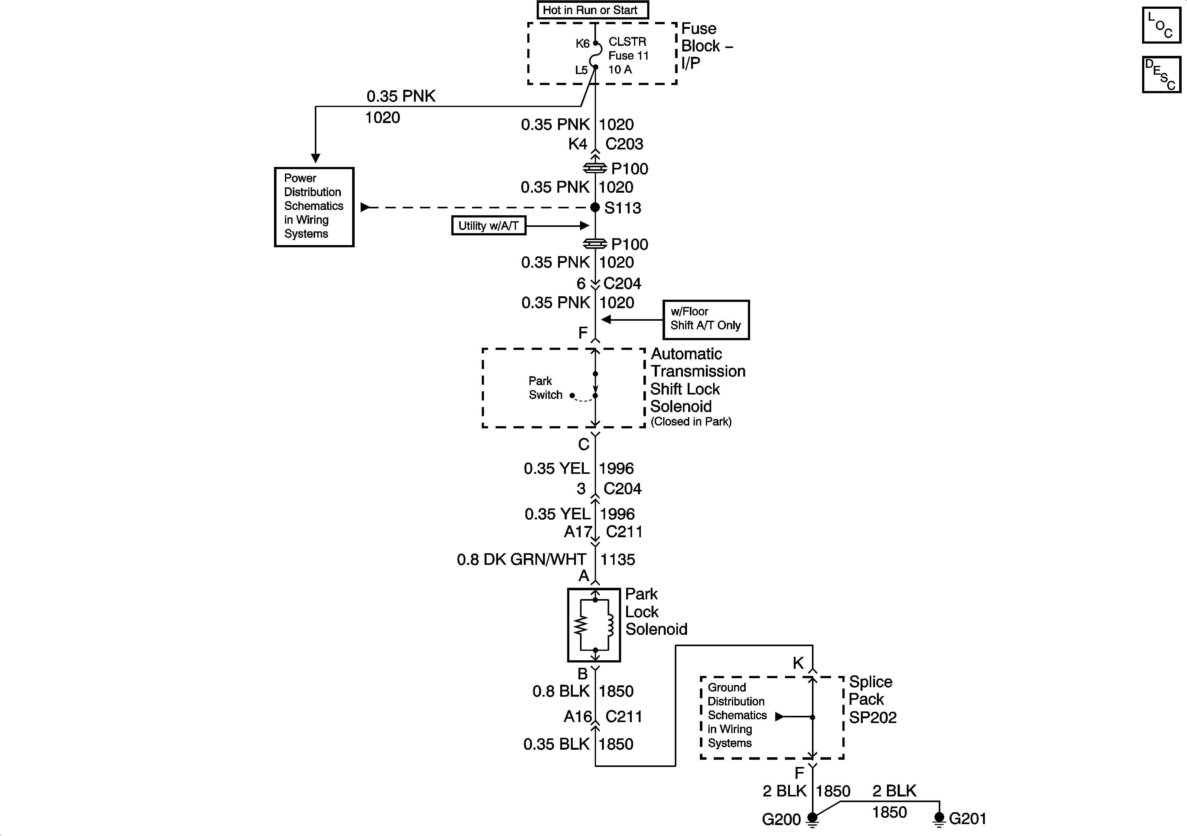
Steering Wheel and Column - Tilt
🢒 Column/Ignition Lock Schematics
Master Electrical Component List
Steering Wheel and Column - Tilt Description and Operation
CRANK and CLSTR Fuses
G200, G201 and G207 (Pickup and Crew Cab)