GM Service Manual Online
For 1990-2009 cars only
Figure 1:

Power and Ground


Object Number: 669372  Size: FS
Master Electrical Component List
Instrument Cluster Description and Operation
Indicators
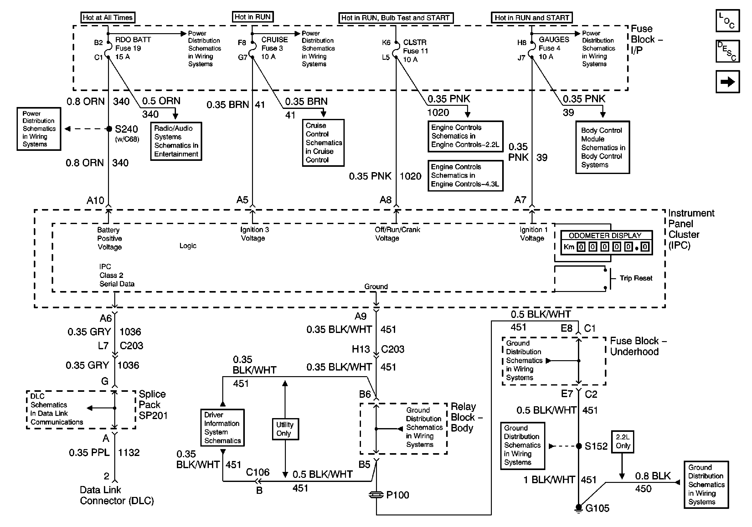
AUX PWR, RDO BATT and HDLP SW Fuses
Ign ACC, RUN and RAP Bus Bar
TURN, SIR and GAUGES Fuses
AUX PWR, RDO BATT and HDLP SW Fuses
Power (Chevy/GMC)
CRUISE Fuse, Multifunction Switch and Cruise Control Module
ECM B, ECM I, CLSTR Fuses, and PCM Ground
CLSTR and 4WD Fuses
Power and Ground
SP201 (2.2L)
w/o Trip Computer
G103 and G105 (2.2 L)
G103 and G105 (2.2 L)
G103 and G105 (2.2 L)
G103 and G105 (2.2 L)
Figure 2:

Indicators


Object Number: 669376  Size: FS
Master Electrical Component List
Instrument Cluster Description and Operation
Gauges
Power and Ground
Instrument Panel Cluster, BCM, and Automatic Transmission Indicators
MIL, Generator, and Fuel Composition Sensor
G203 and G204 (Pickup)
Instrument Cluster Turn Signal Indicators
ECM B, ECM I and GAUGES Fuses, Ground, Generator and MIL
Headlight Leveling Schematics (Export)
G203 and G204 (Pickup)
G200, G201 and G207 (Pickup and Crew Cab)
Figure 3:

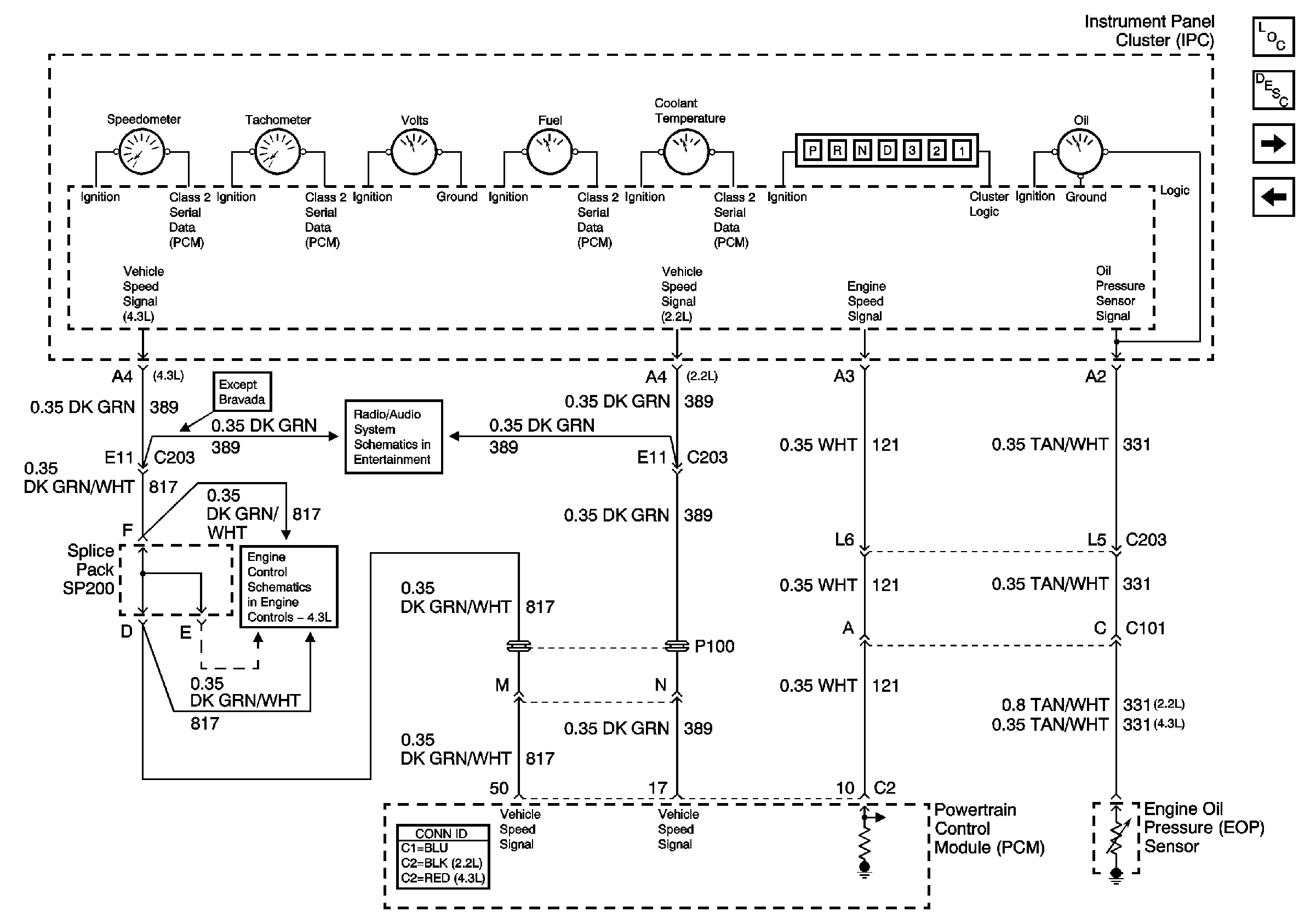
Gauges


Object Number: 669378  Size: FS
Master Electrical Component List
Instrument Cluster Description and Operation
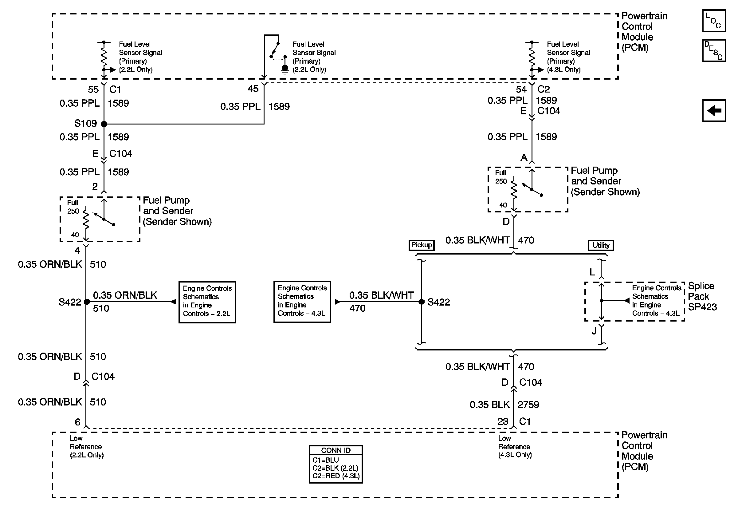
Fuel Level Sensor Signal
Indicators
Ground (Chevy/GMC)
Vehicle Speed Signal, Transfer Case Shift Control Module and 4WD IndicatOr Switch
Figure 4:

Fuel Level Sensor Signal


Object Number: 755769  Size: FS
Master Electrical Component List
Instrument Cluster Description and Operation
Gauges