GM Service Manual Online
For 1990-2009 cars only
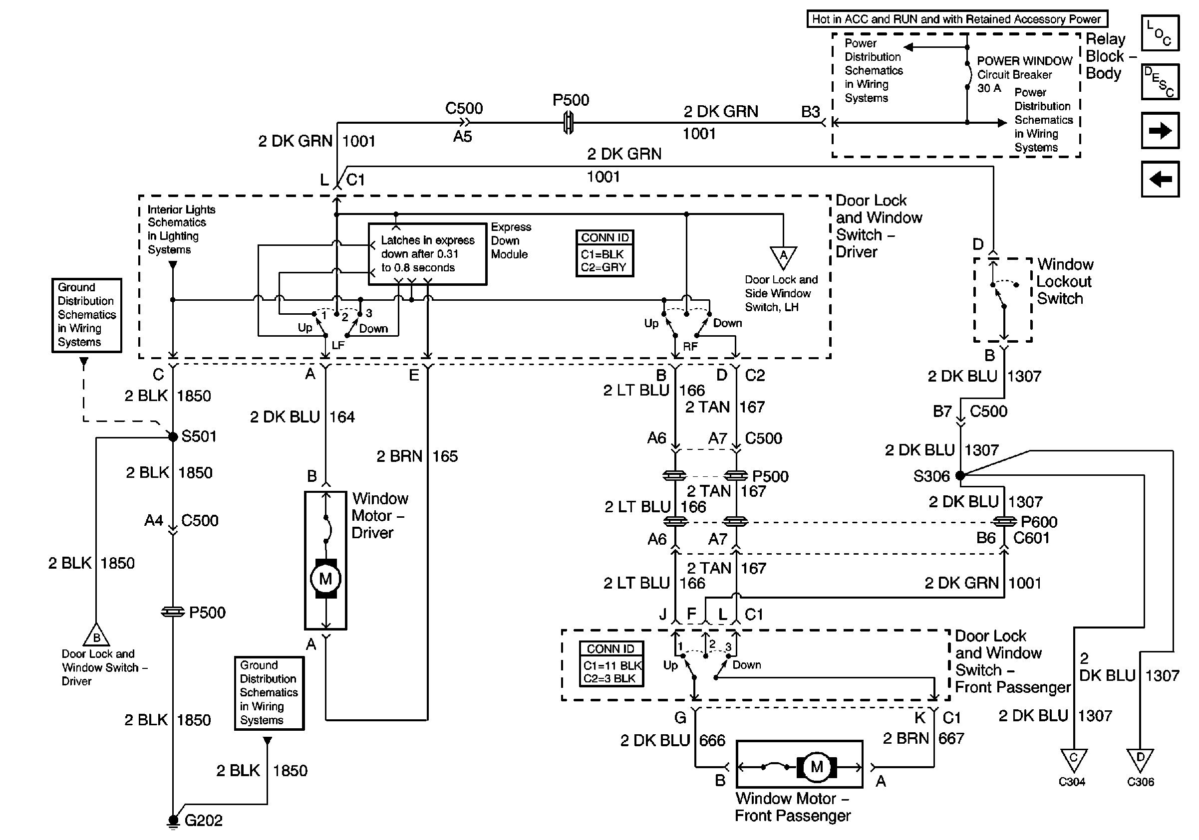
Figure 1:

Front Side Window Motors (2-Door)


Object Number: 669582  Size: FS
Master Electrical Component List
Power Windows Description and Operation
Front Side Window Motors (4-Door)
G202 (Pickup Except Crew Cab)
Ign ACC, RUN and RAP Bus Bar
Power Seats, Power Windows Circuit Breakers and RAP Relay
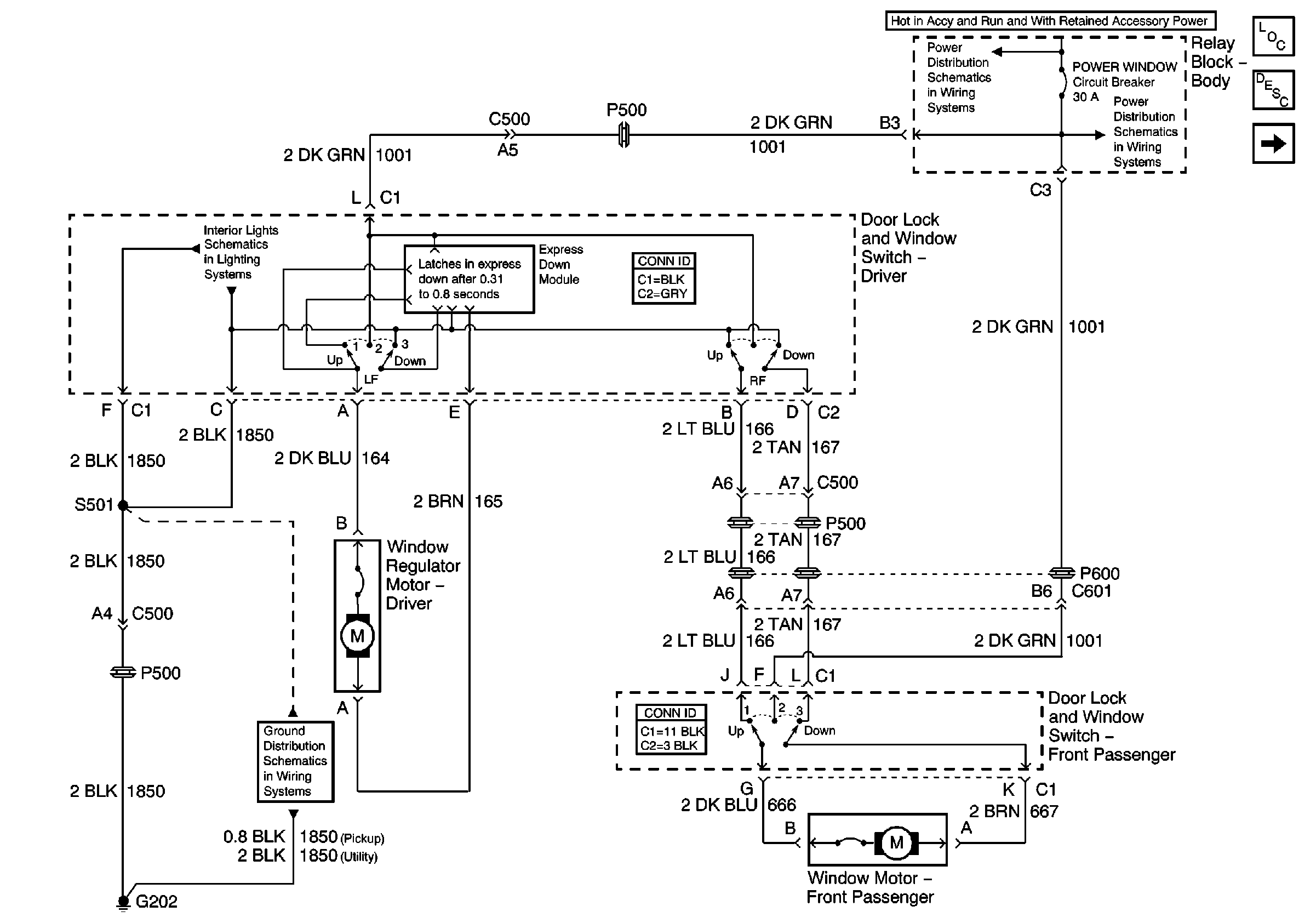
Figure 2:

Front Side Window Motors (4-Door)


Object Number: 669584  Size: FS
Master Electrical Component List
Power Windows Description and Operation
Rear Side Window Motors
Front Side Window Motors (2-Door)
G202 (Pickup Except Crew Cab)
Rear Side Window Motors
G202 (Pickup Except Crew Cab)
Ign ACC, RUN and RAP Bus Bar
Power Seats, Power Windows Circuit Breakers and RAP Relay
Rear Side Window Motors
Rear Side Window Motors
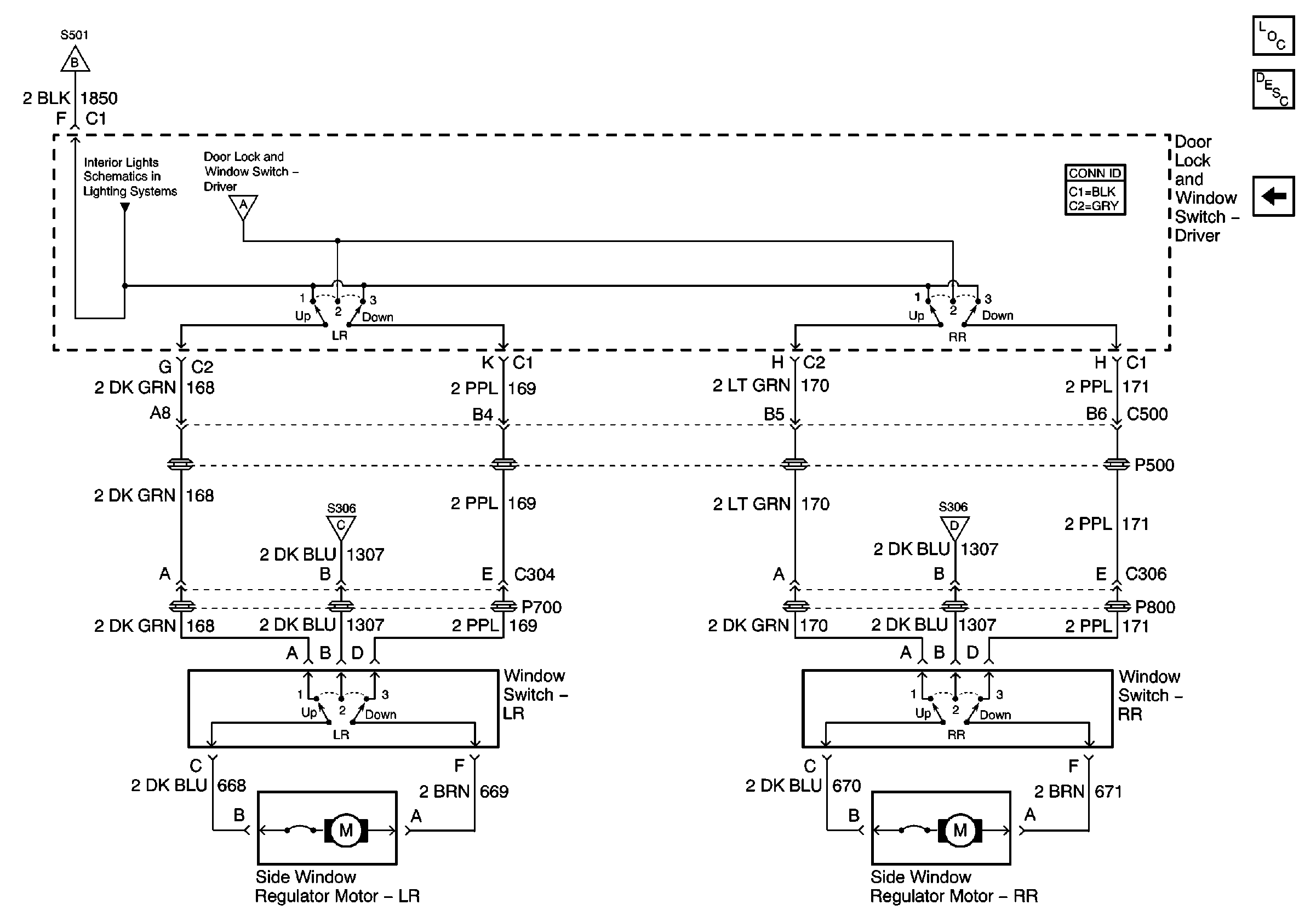
Figure 3:

Rear Side Window Motors


Object Number: 669588  Size: FS
Master Electrical Component List
Power Windows Description and Operation
Front Side Window Motors (4-Door)
Front Side Window Motors (4-Door)
Front Side Window Motors (4-Door)
Front Side Window Motors (4-Door)
Front Side Window Motors (4-Door)