GM Service Manual Online
For 1990-2009 cars only
Makes
🢒
Chevrolet
🢒
2001
🢒
S10 Pickup - 2WD
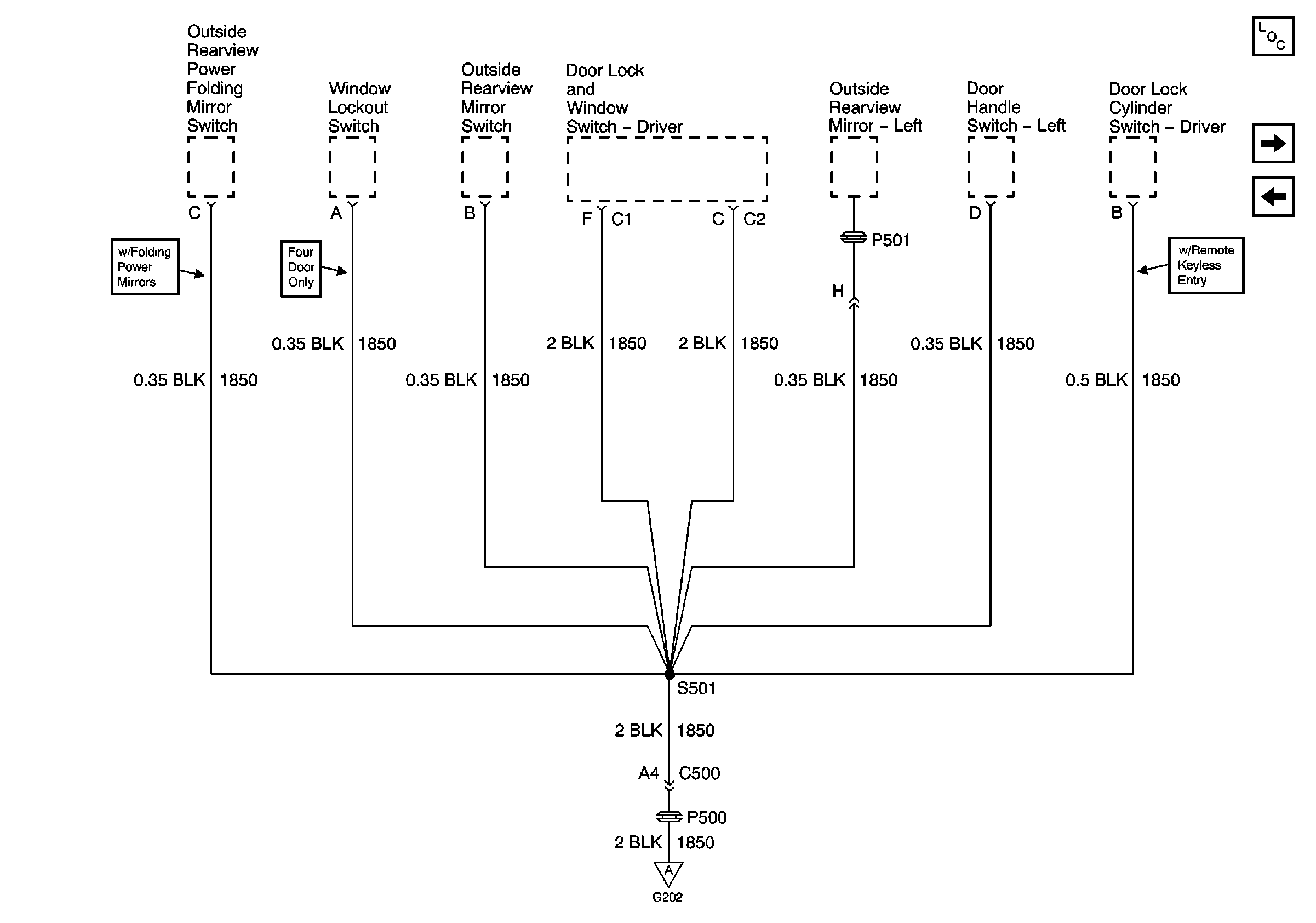
🢒 S501 (Utility)
S501 (Utility)
S501 (Utility)
Master Electrical Component List
G202 (Utility and Crew Cab)
G202 (Pickup Except Crew Cab)