GM Service Manual Online
For 1990-2009 cars only
Makes
🢒
Chevrolet
🢒
2002
🢒
S10 Pickup - 2WD
🢒
HVAC
🢒
HVAC Systems - Automatic
🢒 HVAC Schematics
Figure
1:
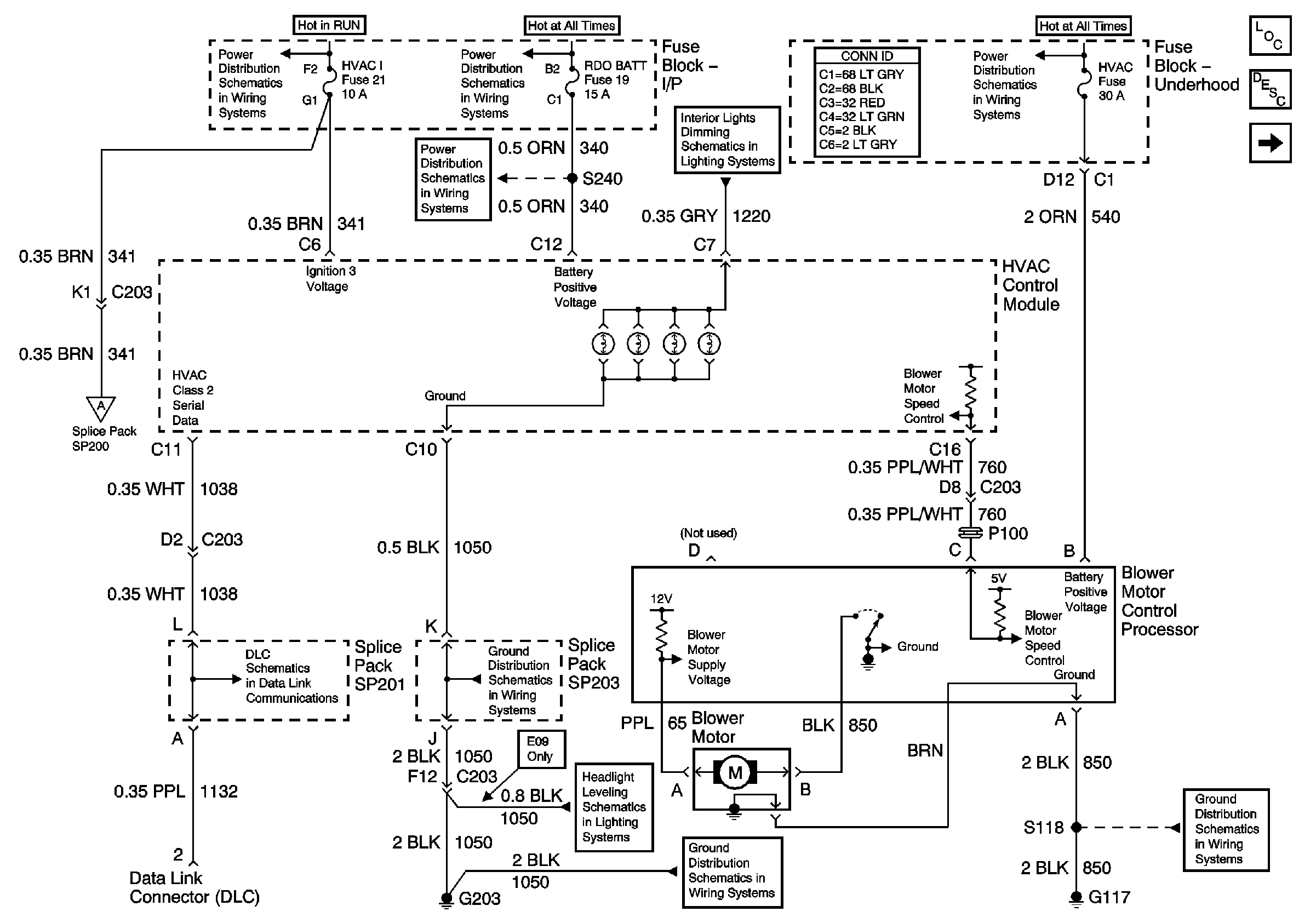
Blower Controls
Master Electrical Component List
Air Delivery Description and Operation
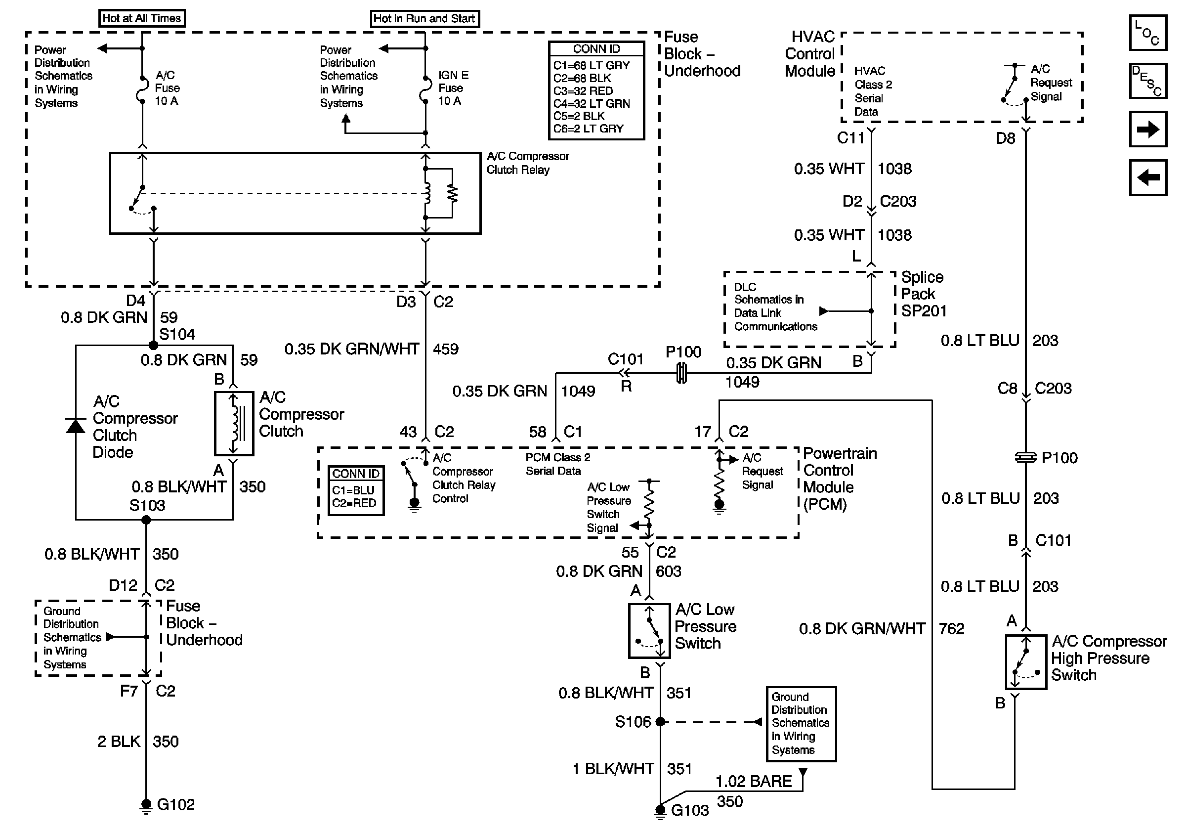
A/C Compressor Clutch Coil, Relay, Diode and High Pressure Cutoff Switch
Ign ACC, RUN and RAP Bus Bar
AUX PWR, RDO BATT and HDLP SW Fuses
AUX PWR, RDO BATT and HDLP SW Fuses
ILLUM Fuse 12
B+ Bus Bar
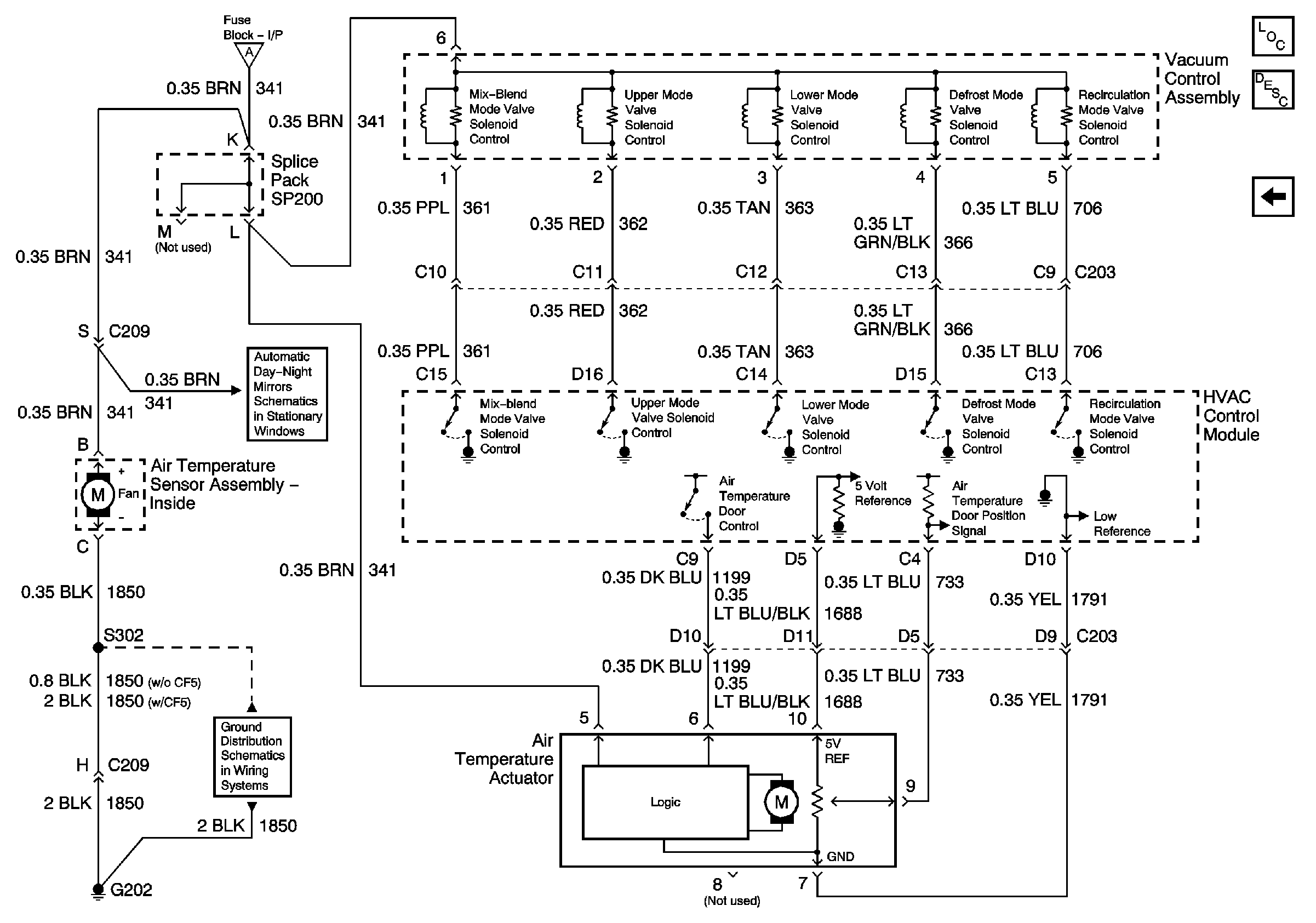
HVAC Vacuum Control Solenoid Valve Assembly and Electric Actuator
SP201 (4.3L)
G203 and G204 (Utility w/ Automatic A/C)
Headlight Leveling Schematics
G203 and G204 (Utility w/ Automatic A/C)
Pulse Wipers
G104 and G117
Figure
2:
A/C Compressor Clutch Coil, Relay, Diode and High Pressure Cutoff Switch
Master Electrical Component List
Air Temperature Description and Operation
ECC Module and Temperature Sensors
Blower Controls
B+ Bus Bar
B+ Bus Bar
SP201 (4.3L)
G102 (Except Export)
G103 and G105 (4.3 L)
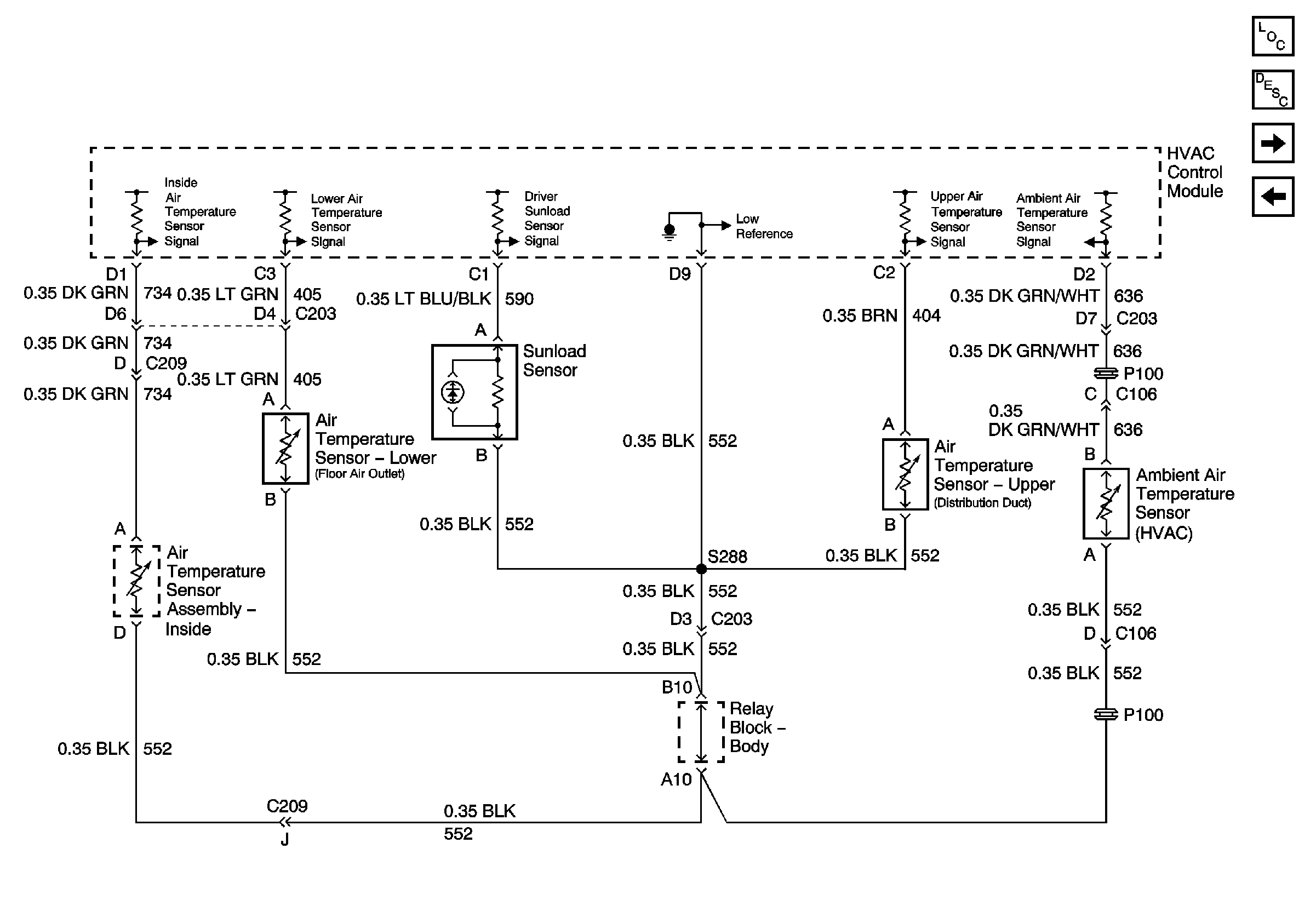
Figure
3:
ECC Module and Temperature Sensors
Master Electrical Component List
Air Temperature Description and Operation
HVAC Vacuum Control Solenoid Valve Assembly and Electric Actuator
A/C Compressor Clutch Coil, Relay, Diode and High Pressure Cutoff Switch
Figure
4:
HVAC Vacuum Control Solenoid Valve Assembly and Electric Actuator
Master Electrical Component List
Air Delivery Description and Operation
ECC Module and Temperature Sensors
Blower Controls
Inside Rearview Mirror Schematics
G202 (Utility and Crew Cab)