GM Service Manual Online
For 1990-2009 cars only
Makes
🢒
Chevrolet
🢒
2002
🢒
S10 Pickup - 2WD
🢒
Body and Accessories
🢒
Body Rear End
🢒 Body Rear End Schematics
Figure
1:
Input
Master Electrical Component List
Rear Hatch/Gate Description and Operation General
Output
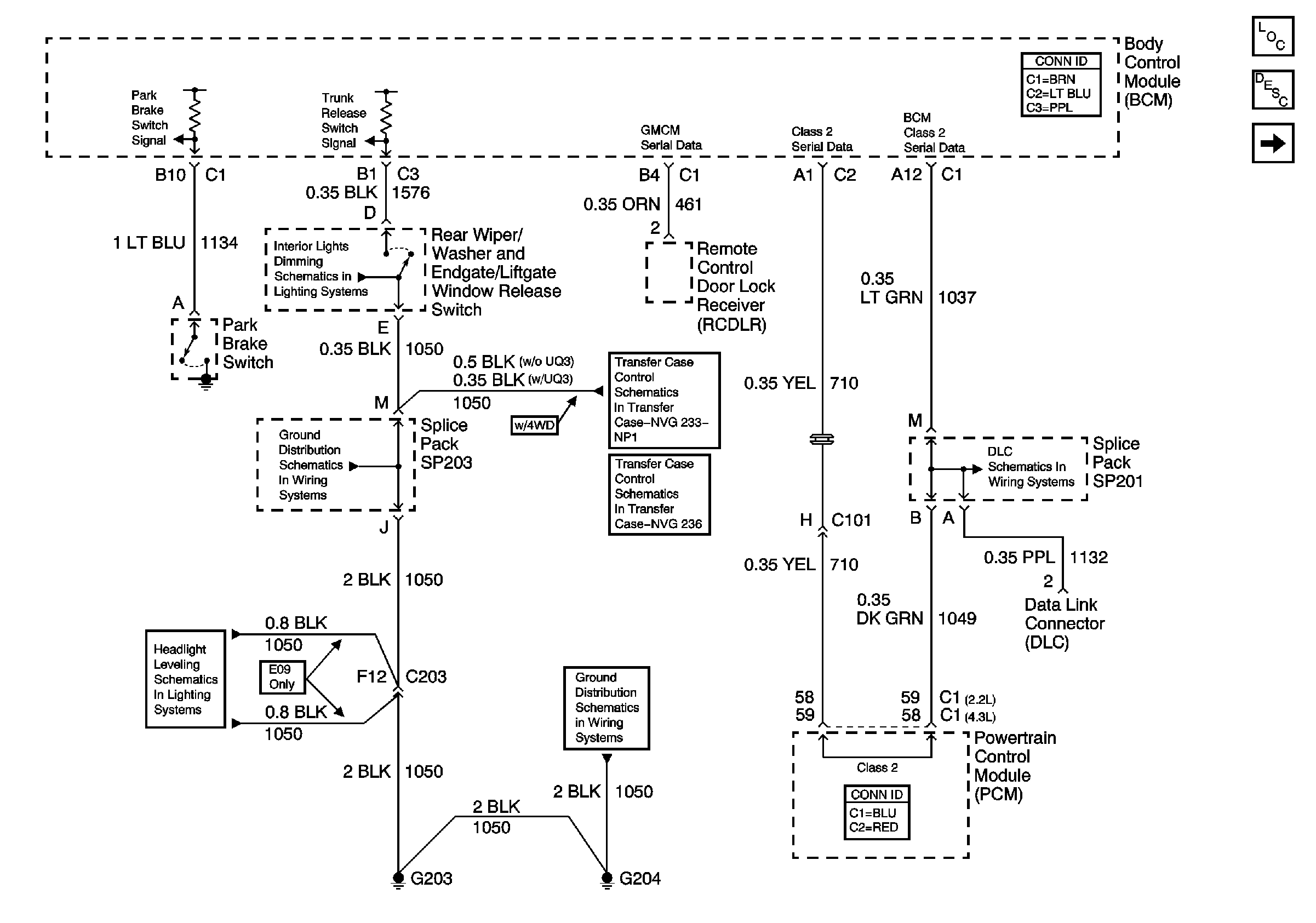
ILLUM Fuse 12
G203 and G204 (Utility w/ Manual A/C)
Headlight Leveling Schematics
Transfer Case Shift Control Switch
ILLUM Fuse, Shift Control Switch and Body Control Module (BCM)
G203 and G204 (Utility w/ Manual A/C)
SP201 (4.3L)
Figure
2:
Output
Master Electrical Component List
Rear Hatch/Gate Description and Operation General
Gate Ajar Indicator
Input
B+ Bus Bar
MIR/LKS, FOG LP Fuses and DRL, Headlamp Power Relays
Endgate Lock Cylinder Switch Inputs (Utility)
G420,G450 and S427 (Utility and Crew Cab)
Figure
3:
Gate Ajar Indicator
Master Electrical Component List
Rear Hatch/Gate Description and Operation Gate Ajar Ind
Output
Power and Ground
SP201 (4.3L)
G420,G450 and S427 (Utility and Crew Cab)