GM Service Manual Online
For 1990-2009 cars only
Makes
🢒
Chevrolet
🢒
2002
🢒
S10 Pickup - 2WD
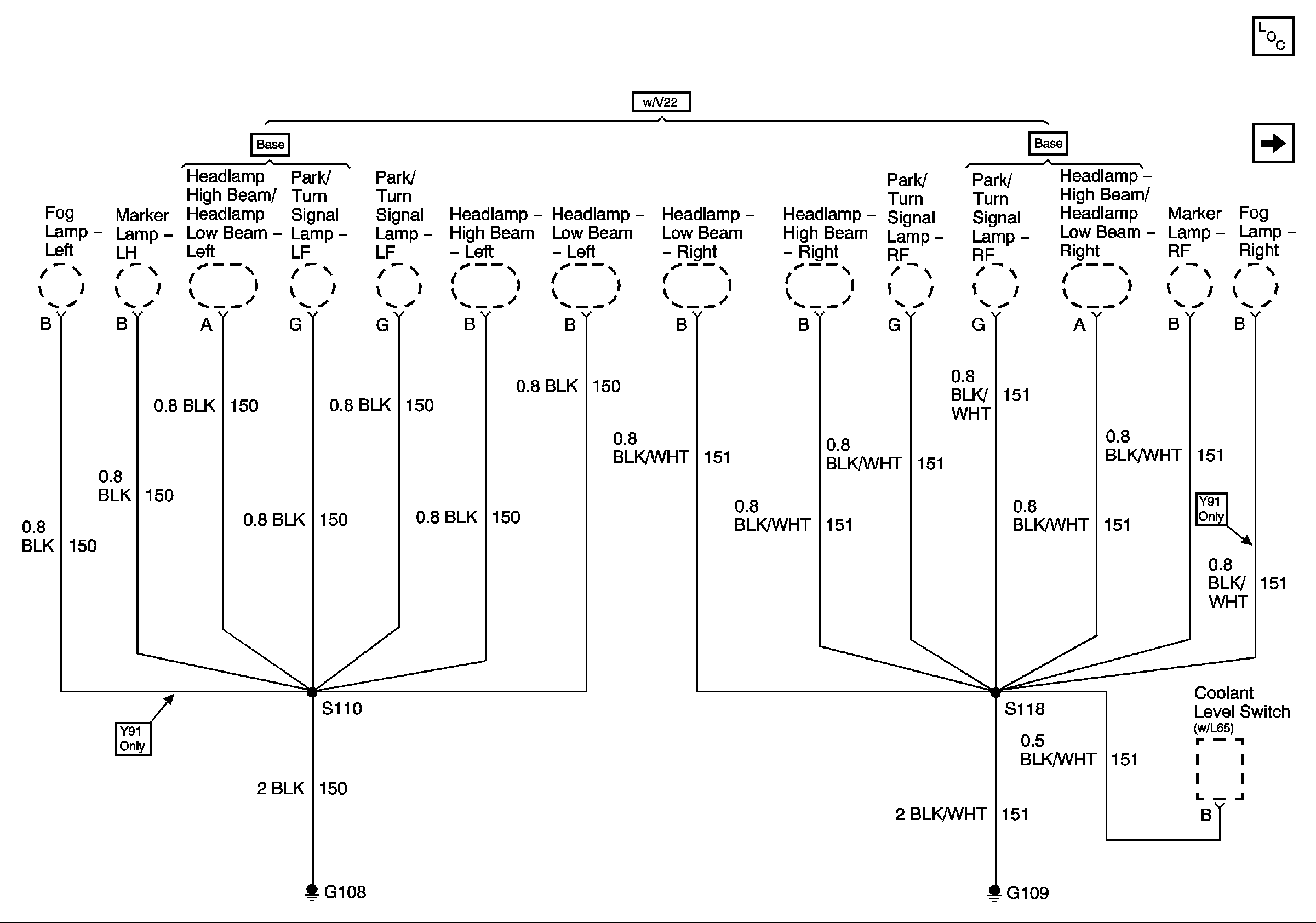
🢒 G108 and G109 - Domestic
G108 and G109 - Domestic
G108 and G109 - Domestic
Master Electrical Component List
G108 and G109 - Export