GM Service Manual Online
For 1990-2009 cars only
Makes
🢒
Chevrolet
🢒
2002
🢒
S10 Pickup - 2WD
🢒 Power
Power
Power
Master Electrical Component List
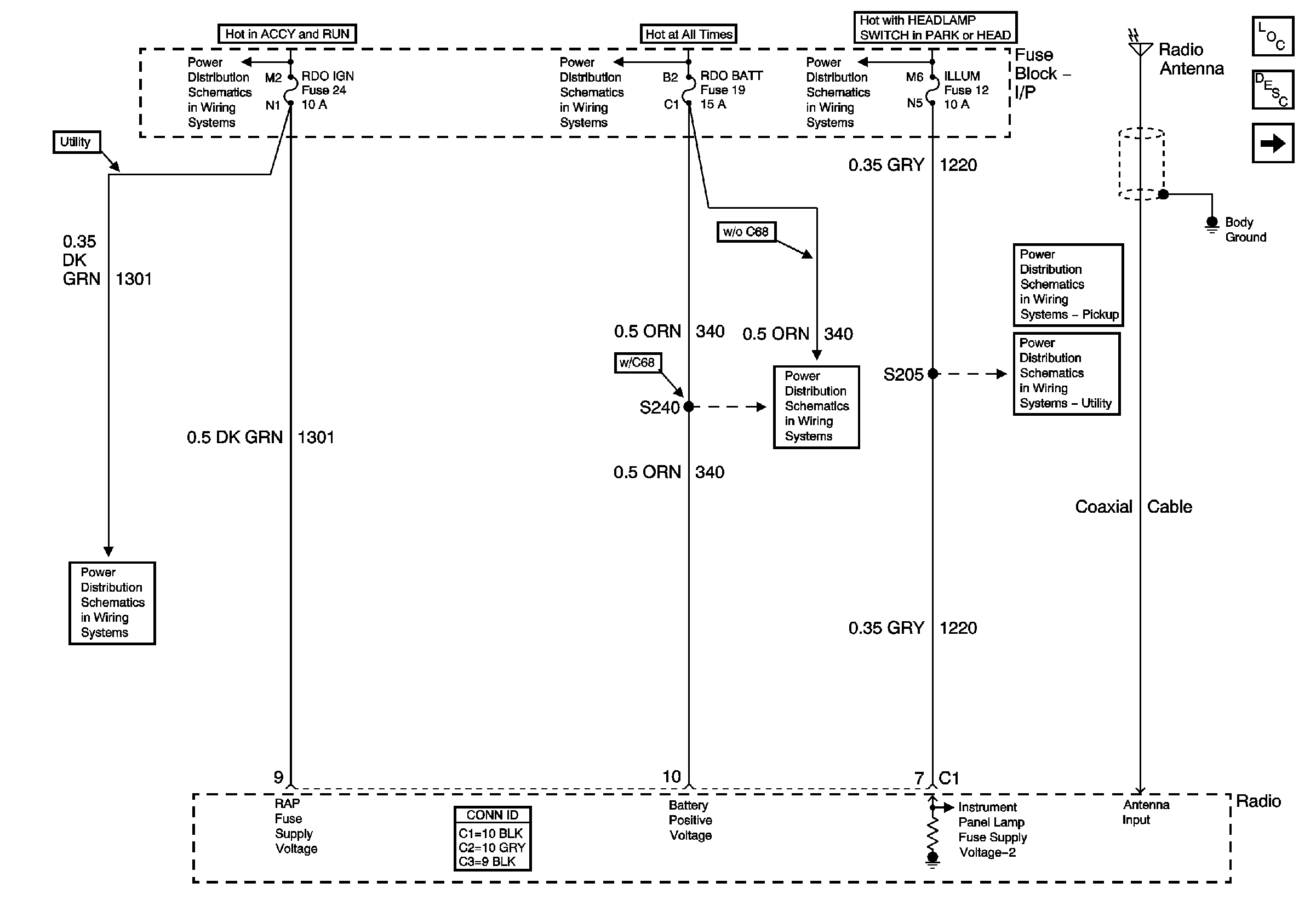
Radio/Audio System Description and Operation w/o CTF
Ground
Ign ACC, RUN and RAP Bus Bar
RDO IGN and STR WHL RDO IGN Fuses
AUX PWR, RDO BATT and HDLP SW Fuses
ILLUM and PARK LP Fuses
AUX PWR, RDO BATT and HDLP SW Fuses
ILLUM Power (Pickup Except Crewcab)
ILLUM Power (Utility)