GM Service Manual Online
For 1990-2009 cars only

Removal Procedure


    Object Number: 339139  Size: SH
  1. Raise and support the vehicle. Refer to Lifting and Jacking the Vehicle in General Information.
  2. Support the transmission with a transmission jack.
  3. Remove the transmission mount to the transmission support retaining nut.

  4. Object Number: 339147  Size: SH
  5. Raise the transmission to take the weight off of the mount.
  6. Remove the transmission mount to the transmission mounting bolts.
  7. Raise the transmission just enough to remove the transmission mount.
  8. Remove the transmission mount from the vehicle.

Installation Procedure


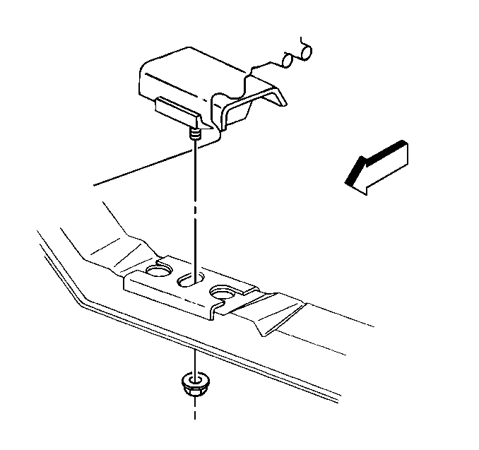
    Object Number: 339147  Size: SH
  1. Install the transmission mount to the vehicle.
  2. Notice: Use the correct fastener in the correct location. Replacement fasteners must be the correct part number for that application. Fasteners requiring replacement or fasteners requiring the use of thread locking compound or sealant are identified in the service procedure. Do not use paints, lubricants, or corrosion inhibitors on fasteners or fastener joint surfaces unless specified. These coatings affect fastener torque and joint clamping force and may damage the fastener. Use the correct tightening sequence and specifications when installing fasteners in order to avoid damage to parts and systems.

  3. Install the transmission mount to the transmission mounting bolts.
  4. Tighten
    Tighten the bolts to 50 N·m (37 lb ft).


    Object Number: 339139  Size: SH
  5. Lower the transmission.
  6. Install the transmission mount to the transmission support retaining nut.
  7. Tighten
    Tighten the nut to 57 N·m (42 lb ft).

  8. Remove the transmission jack.
  9. Lower the vehicle.