GM Service Manual Online
For 1990-2009 cars only
Makes
🢒
Chevrolet
🢒
2004
🢒
S10 Pickup - 2WD
🢒
Transmission/Transaxle
🢒
Manual Transmission - NV 3500
🢒 Manual Transmission Schematics
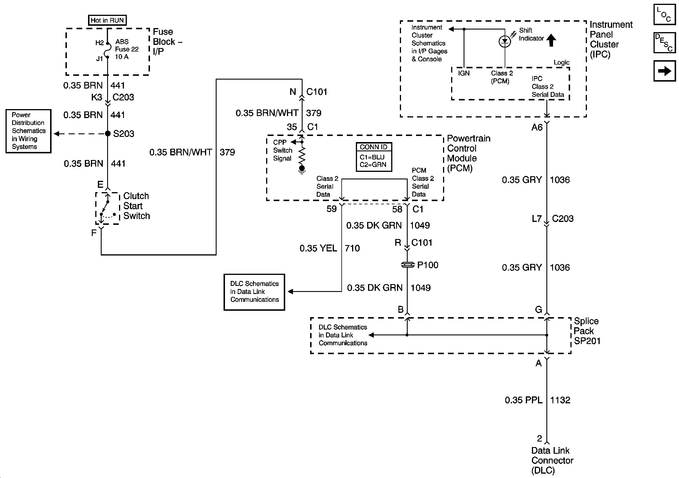
Figure
1:
Shift Indicator
Master Electrical Component List
Transmission System Description and Operation
Vehicle Speed Sensor - VSS
RR WPR, FRT WPR and ABS Fuses
Class 2 Serial Data
Class 2 Serial Data
Indicators
Figure
2:
Vehicle Speed Sensor (VSS)
Master Electrical Component List
Transmission System Description and Operation
Shift Indicator
G104 and G117
G104 and G117
G104 and G117
Manual Transmission Schematic Icons
Manual Transmission Schematic Icons
Manual Transmission Schematic Icons