GM Service Manual Online
For 1990-2009 cars only
Makes
🢒
Chevrolet
🢒
2004
🢒
S10 Pickup - 2WD
🢒
Transmission/Transaxle
🢒
Automatic Transmission - 4L60-E/4L65-E
🢒 Automatic Transmission Controls Schematics
Figure
1:
Valve Controls - 4.3L
Master Electrical Component List
Electronic Component Description
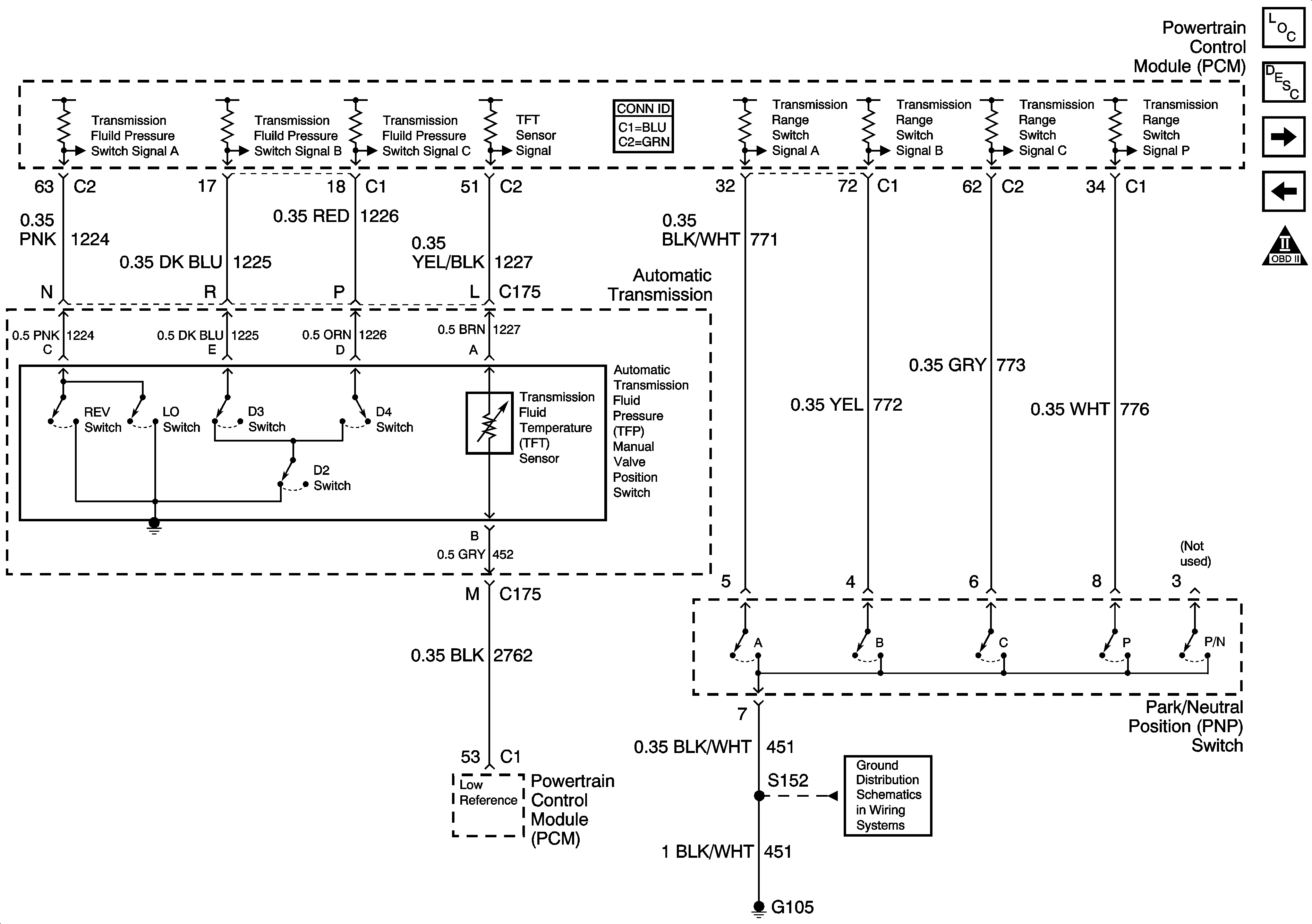
Switch Inputs and PNP Switch
Brake Switch, VSS Inputs - 2.2L
OBD II Symbol Description Notice
CRANK and CLSTR Fuses
CRANK and CLSTR Fuses
Figure
2:
Switch Inputs and PNP Switch - 4.3L
Master Electrical Component List
Electronic Component Description
VSS Inputs, 4WD Low Indicator Signal
Valve Controls
OBD II Symbol Description Notice
G103 and G105
Figure
3:
VSS Inputs, 4WD Low Indicator Signal - 4.3L
Master Electrical Component List
Electronic Component Description
Brake Switch Input and Tow/Haul Switch
Switch Inputs and PNP Switch
OBD II Symbol Description Notice
G104 and G117
G104 and G117
Automatic Transmission Schematic Icons
Automatic Transmission Schematic Icons
Figure
4:
Brake Switch Input (4.3L) and Tow/Haul Switch
Master Electrical Component List
Electronic Component Description
VSS Inputs, 4WD Low Indicator Signal
OBD II Symbol Description Notice
RR WPR, FRT WPR and ABS Fuses
Power and Ground
Clutch Pedal Position Switch, Stop Lamp Switch, PCM and Cruise Control Module
G200, G201 and G207 - Utility
Instrument Panel Cluster, BCM and Automatic Transmission Indicators
G200, G201 and G207 - Utility
G200, G201 and G207 - Utility