GM Service Manual Online
For 1990-2009 cars only

Valve Rocker Arm Cover Replacement Left

Removal Procedure

  1. Disconnect the negative battery cable. Refer to

    Caution: Unless directed otherwise, the ignition and start switch must be in the OFF or LOCK position, and all electrical loads must be OFF before servicing any electrical component. Disconnect the negative battery cable to prevent an electrical spark should a tool or equipment come in contact with an exposed electrical terminal. Failure to follow these precautions may result in personal injury and/or damage to the vehicle or its components.

    in General Information.

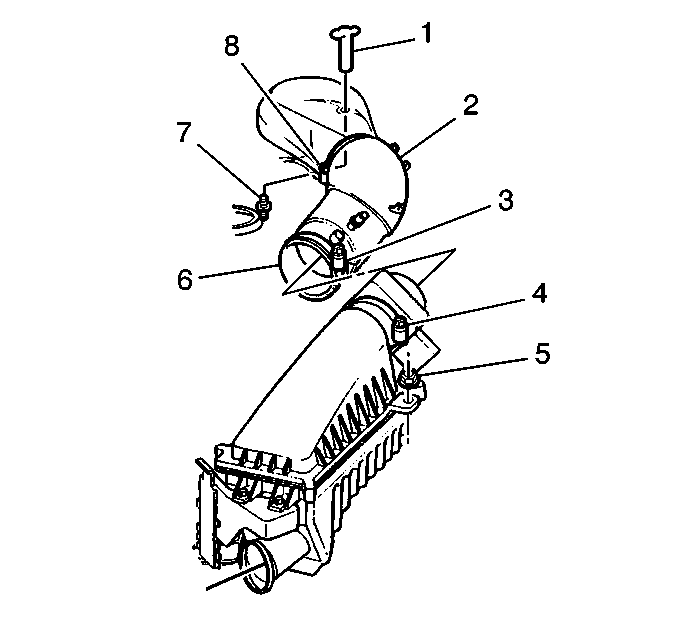
  2. Object Number: 31487  Size: SH
  3. Remove the air intake duct.
  4. Disconnect the spark plug wires from the spark plugs.
  5. Remove the PCV valve and tube.

  6. Object Number: 4041  Size: SH
  7. Remove the valve rocker arm cover. Refer to Valve Rocker Arm Cover Removal .

Installation Procedure


    Object Number: 4041  Size: SH
  1. Install the valve rocker arm cover. Refer to Valve Rocker Arm Cover Removal .
  2. Install the PCV valve and tube.
  3. Connect the spark plug wires to the spark plugs.
  4. Install the air intake duct.
  5. Connect the negative battery cable.

Valve Rocker Arm Cover Replacement Right

Removal Procedure

  1. Disconnect the negative battery cable. Refer to

    Caution: Unless directed otherwise, the ignition and start switch must be in the OFF or LOCK position, and all electrical loads must be OFF before servicing any electrical component. Disconnect the negative battery cable to prevent an electrical spark should a tool or equipment come in contact with an exposed electrical terminal. Failure to follow these precautions may result in personal injury and/or damage to the vehicle or its components.

    in General Information.
  2. Disconnect the spark plug wires from the spark plugs. Refer to Engine Electrical.
  3. Remove the crankcase vent tube.
  4. Remove the wiring bracket at the generator bracket.
  5. Remove the oil level indicator tube. Refer to Oil Level Indicator and Tube Replacement .
  6. Move the heater hoses aside.

  7. Object Number: 4041  Size: SH
  8. Remove the valve rocker arm cover. Refer to Valve Rocker Arm Cover Replacement (Left) .

Installation Procedure


    Object Number: 4041  Size: SH
  1. Install the valve rocker arm cover.
  2. Reposition the heater hoses.
  3. Install the oil level indicator tube. Refer to Oil Level Indicator and Tube Replacement .
  4. Install the wiring bracket at the generator bracket.
  5. Install the crankcase vent tube.
  6. Connect the spark plug wires to the spark plugs.
  7. Connect the negative battery cable.