GM Service Manual Online
For 1990-2009 cars only

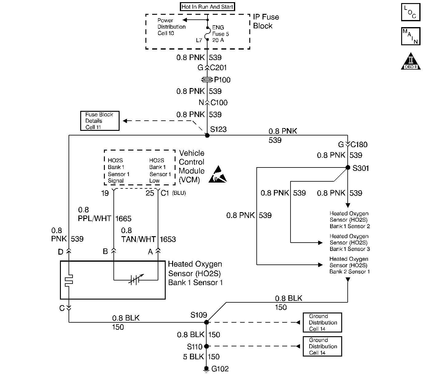
Object Number: 31469  Size: LF
Handling ESD Sensitive Parts Notice
Engine Controls Components
Heated Oxygen Sensors
OBD II Symbol Description Notice

Circuit Description

Important: If the voltage is measured with a 10 Megaohm Digital Voltmeter, the voltage may read as low as 0.32 volt (320 mV).

The VCM supplies a voltage of about 0.45 volt (450 mV) between the HO2S Signal and HO2S Low circuits. The Heated Oxygen Sensor varies the voltage within the range of about 1.0 volt (1000 mV) if the exhaust is rich, down to about 0.10  volt (100 mV) if the exhaust is lean. This is a type A DTC.

The sensor is like an open circuit and produces no voltage when it is below 360°C (600°F). The DTC P0131, P0132, an open signal circuit, or a cold sensor causes Open Loop operation. The DTC P0131 determines if the HO2S sensor or the signal circuit is shorted to low by checking for a lean condition during a steady throttle and power enrichment (PE).

Conditions for Setting the DTC

The following conditions will set the DTC:

    • No TP sensor DTCs
    • No EVAP DTCs
    • No IAT sensor DTCs
    • No MAP sensor DTCs
    • No ECT sensor DTCs
    • No MAF sensor DTCs
    • No intrusive test in progress
    • No device controls active
    • The system voltage measures at least 9.0 volts

Test Enable Lean Test

    • Closed Loop low MAP not active
    • Closed Loop
    • No fuel injectors turned off
    • Air to fuel ratio is at least 14.5 but less than 14.8
    • The TP is greater than 5% but less than 99%
    • The above met for 5 seconds
    • Related HO2S DTCs not active since code clear

Test Enable PE Lean Test

    • A Closed Loop
    • The Power Enrichment mode active
    • The high speed fuel cutoff not active
    • Related HO2S DTCs not active since code clear
    • Time elapse since test enable is at least 1 second

Test Enable Rich Test

    • A Closed Loop
    • Air to fuel ratio is at least 14.5 but less than 14.8.
    • The TP is greater than 0 % but less than 50 %.
    • The above must meet for 5 seconds.
    • HO2S (Bank 1, Sensor 1) DTCs not activate since the code clear
    • The HO2S (Bank 1, Bank 1) voltage measures greater than 0.976 volts (976 mV).

Test Enable DFCO Rich Test

    • Decel Fuel cutoff mode is active.
    • A Closed Loop
    • The time elapsed is at least 2 seconds.
    • HO2S (Bank 1, Sensor 1) not active since the clear code.
    • The HO2S (Bank 1, Sensor 1) voltage measures greater than 0.468 volts (486 mV).

Action Taken When the DTC Sets

A current DTC P0132 causes the system to operate in the Open Loop. With a current DTC P0132 set, the MIL turns ON after 1 test failure.

Conditions for Clearing the MIL/DTC

The VCM turns OFF the MIL after 3 consecutive driving trips without a fault condition present. A history DTC will clear if no fault conditions have been detected for 40 warm-up cycles (the coolant temperature has risen 22°C (40°F) from the start-up coolant temperature and the engine coolant temperature exceeds 71°C (160°F) during that same ignition cycle) or the scan tool clearing feature has been used.

Diagnostic Aids

Check the following items:

    • The fuel pressure: If the pressure is too high, the system will run rich. The VCM can compensate for some increase; however, if the pressure gets too high, the DTC P0132 may set. Refer to Fuel System Pressure Test .
    • A rich injector. Preform a poppet nozzle test. Refer to Fuel Injector Balance Test .
    • A leaking injector. Refer to Fuel Injector Balance Test .
    • Fuel contaminated oil
    • EVAP canister purge: Check for a fuel saturation. If full of fuel, check the canister control and hoses.
    • Leaking fuel pressure regulator diaphragm by checking the vacuum line to the regulator for fuel.
    • The TP sensor: An intermittent TP sensor output causes the system to run rich due to a false indication of the throttle moving.
    • False rich indication due to silicon contamination of the heated oxygen sensor. A DTC P0132 accompanied by a lean driveability conditions and a powdery white deposit on the sensor indicates a false rich indication.
    • Faulty HO2S (Bank 1, Sensor 1): the HO2S (Bank 1, Sensor 1) is internally shorted, the HO2S (Bank 1, Sensor 1) voltage displayed on a scan tool will be over 1.0 volt (1000 mV). Try disconnecting the HO2S (Bank 1, Sensor 1), if the displayed voltage goes from over 1000 mV to around 450 mV, replace the HO2S (Bank 1, Sensor 1). Refer to Heated Oxygen Sensor (HO2S) Replacement .

Never solder the HO2S wires. For proper wire and connector repair, refer to Wiring Repairs .

Test Description

The number below refers to the step number on the diagnostic table.

  1. This test determines if the conditions exist in order to set the DTC P0132.

Step

Action

Value(s)

Yes

No

1

Important: Before clearing the DTCs use the scan tool to record the Freeze Frame and the Failure Records data. This data will be lost when the Clear Info function is used.

Was the Powertrain On-Board Diagnostic (OBD) System Check performed?

--

Go to Step 2

Go to Powertrain On Board Diagnostic (OBD) System Check

2

  1. Connect the scan tool.
  2. Run the engine at the normal operating temperature.
  3. Place the vehicle in park or neutral.
  4. Apply the parking brake.
  5. Increase the engine speed to the specified value.

Does the scan tool data display indicate the HO2S (Bank 1, Sensor 1) voltage fixed above the specified value?

1200 RPM

0.976 volts (976 mV)

Go to Step 3

Go to Step 4

3

  1. Disconnect the HO2S (Bank 1, Sensor 1).
  2. Jumper the HO2S (Bank 1, Sensor 1) Low circuit (VCM side) and the HO2S (Bank 1, Sensor 1) Hi circuit to ground.
  3. Turn ON the ignition.
  4. Turn OFF the engine.

Does the scan tool data display indicate the HO2S (Bank 1, Sensor 1) voltage fixed below the specified value?

0.20 V (200 mV)

Go to Step 5

Go to Step 6

4

The DTC is intermittent. If no additional DTCs are stored, refer to the Diagnostic Aids. If additional DTCs are stored, refer to those tables.

--

Go to The Applicable DTC Table

Go to Step 5

5

Refer to the Diagnostic Aids.

--

--

--

6

Replace the VCM.

Important:  If the VCM is faulty, reprogram the VCM. Refer to VCM Replacement/Programming .

Is the replacement complete?

--

Go to Step 7

--

7

  1. Using the scan tool, select the DTC and the Clear Info.
  2. Start the Engine.
  3. Idle at the normal operating temperature.
  4. Select the DTC and the Specific.
  5. Enter the DTC number which was set.
  6. Operate the vehicle within the conditions for setting this DTC as specified in the supporting text.

Does the scan tool indicate that this diagnostic ran and passed?

--

Go to Step 8

Go to Step 2

8

Using the scan tool, select the Capture Info and the Review Info.

Are any DTCs displayed that have not been diagnosed?

--

Go to The Applicable DTC Table

System OK