GM Service Manual Online
For 1990-2009 cars only
Makes
🢒
Chevrolet
🢒
1997
🢒
S10 Pickup - 4WD
🢒 Transmission Shift Controls
Transmission Shift Controls
Transmission Shift Controls
Engine Controls Components
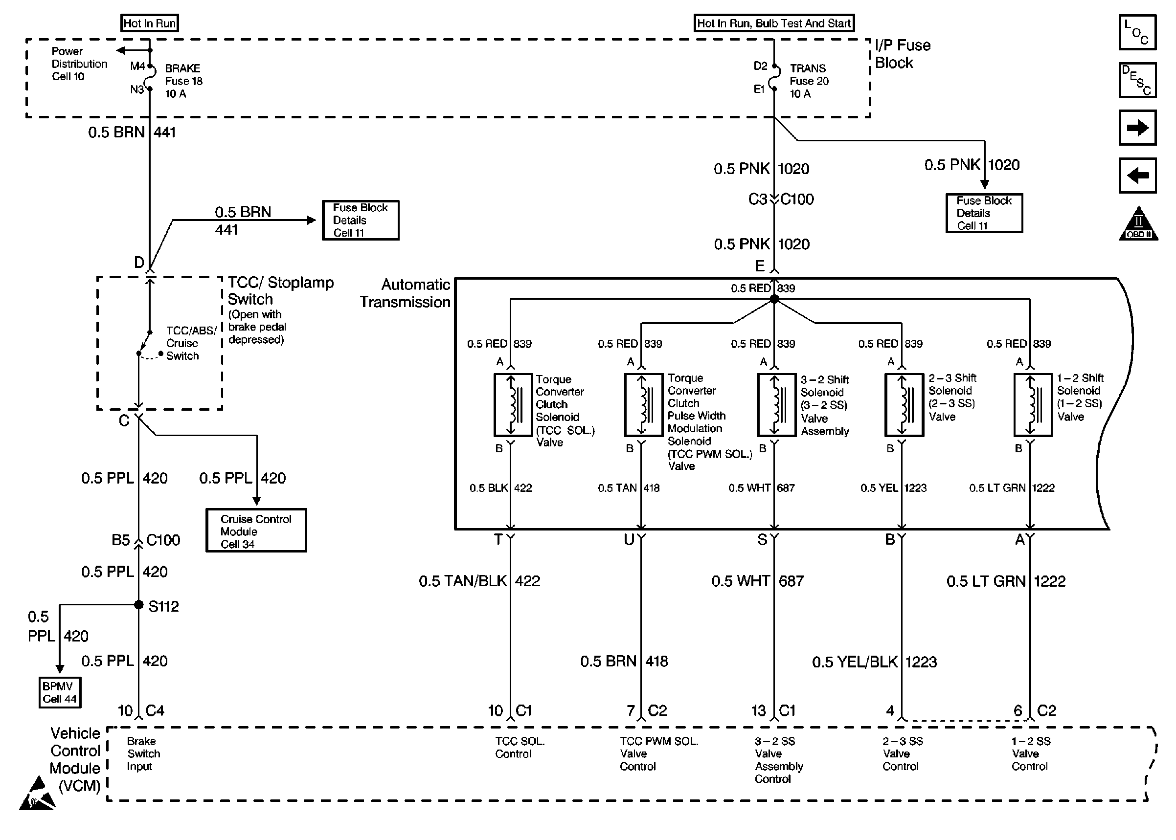
Transmission Switch Input Controls
Speed and Cruise Controls
OBD II ICON