GM Service Manual Online
For 1990-2009 cars only

Object Number: 65572  Size: MF
Handling ESD Sensitive Parts Notice
Engine Controls Components
Ignition Controls
OBD II Symbol Description Notice

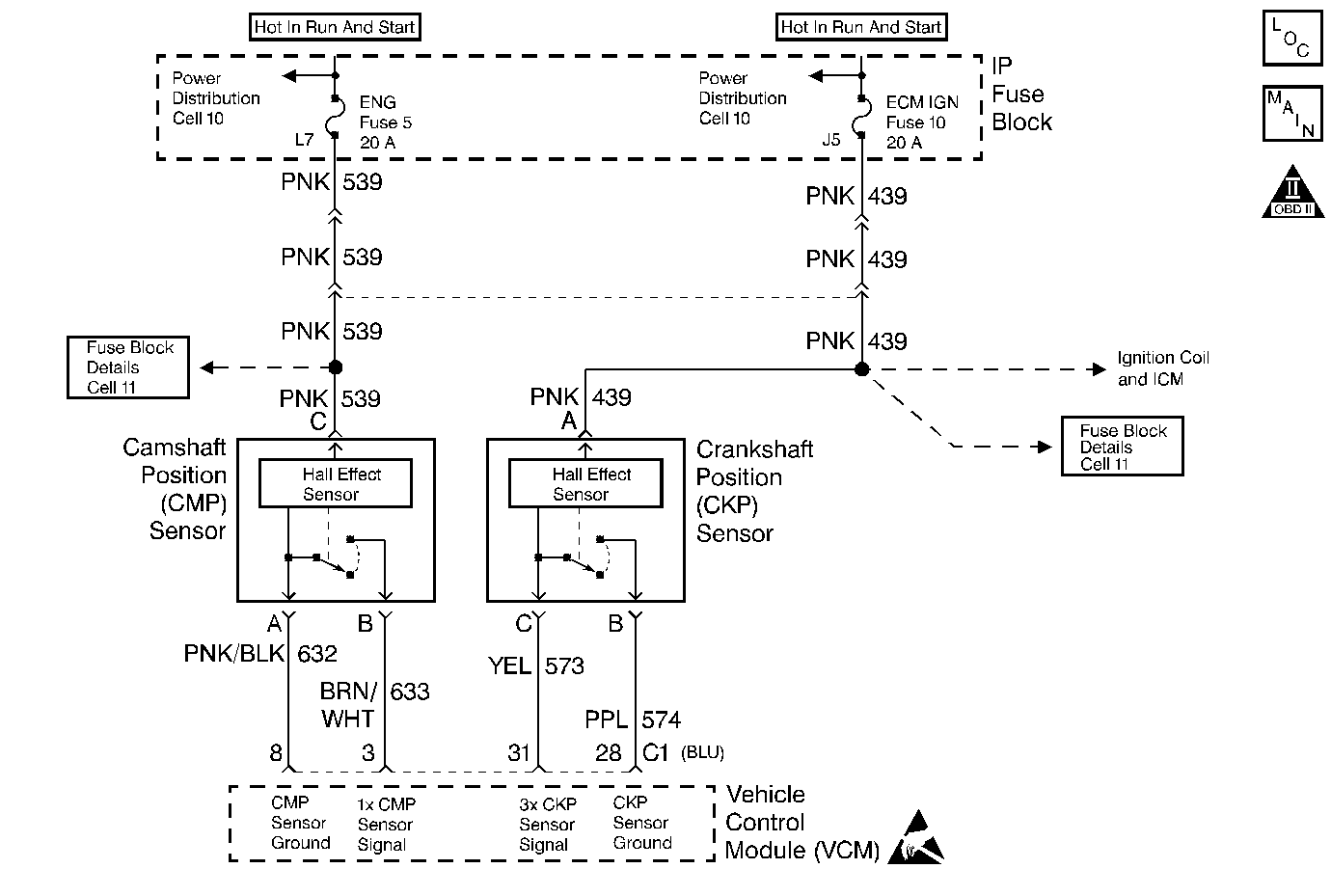
Circuit Description

The Crankshaft Position (CKP) sensor sends a reference signal to the Vehicle Control Module (VCM) in order to indicate the crankshaft position and the RPM so that the VCM can determine when to pulse the ignition coil, the fuel injectors, and the control ignition timing. This is a type D DTC.

Conditions for Setting the DTC

    • The engine speed is less than 4000 RPM.
    • The MAF sensor is at least 5 g/s.
    • The crank sensor duty cycle High Reference to Low Reference ratio is less than 0.3125.

Action Taken When the DTC Sets

The VCM will turn ON the MIL after 2 consecutive driving cycles with the fault active.

Conditions for Clearing the MIL/DTC

A history DTC will clear if no fault conditions have been detected for 40 warm-up cycles (the coolant temperature has risen 40°F from the start-up coolant temperature and the engine coolant temperature exceeds 160°F during that same ignition cycle) or the scan tool clearing feature has been used.

Diagnostic Aids

A poor connection, rubbed through wire insulation, or a wire that is broken inside the insulation may cause an intermittent.

Throroughly check any circuitry that is suspected of causing the intermittent complaint. Check for the following conditions:

    • Backed out terminals
    • Improper mating
    • Broken locks
    • Improperly formed or damaged terminals
    • Poor terminal to wiring connections or
    • Physical damage to the wiring harness

Refer to Intermittent Conditions .

Test Description

The numbers below refer to the step numbers on the diagnostic table.

  1. This step determines if DTC P0337 is the result of a hard failure or an intermittent condition.

  2. Determines if voltage is available to the CKP through the VCM.

  3. If the feed circuit is shorted to ground, the test lamp will light. This step determines if the circuit is open or shorted to ground. If the circuit is OK, then the VCM connections or VCM is faulty.

  4. This test checks the crank sensor, the crank sensor signal circuit and the VCM.

Step

Action

Value(s)

Yes

No

1

Important: Before clearing the DTCs, use the scan tool to record the Freeze Frame and the Failure Records for reference. This data will be lost when the Clear Info function is used.

Was the Powertrain On-Board Diagnostic (OBD) System Check performed?

--

Go to Step 2

Go to Powertrain On Board Diagnostic (OBD) System Check

2

  1. Disconnect the CKP sensor electrical connector.
  2. Turn ON the ignition leaving the engine off.
  3. With a test light connected to ground, probe the CKP sensor ignition feed circuit harness connector terminal C (engine side).

Is the light on?

--

Go to Step 3

Go to Step 8

3

  1. Turn OFF the ignition.
  2. With a test light connected to the B+, probe the cavity B of the CKP sensor connector (engine side).

Is the light on?

--

Go to Step 4

Go to Step 7

4

  1. Disconnect the VCM blue connector.
  2. With the test light still connected to the B+, probe the terminal A of the CKP connector (engine side).

Is the test light on?

--

Go to Step 10

Go to Step 5

5

  1. Connect the VCM blue connector.
  2. Install the gray jumpers from the connector tester kik J 35616 between the engine harness connector and the CKP sensor connector.
  3. Start the engine.
  4. Using the DVM, measure the duty cycle (select the AC scale, and select the Hz twice in order to display the % duty cycle) on the (3X) signal circuit.

Is the duty cycle less than the specified value?

40%

Go to Step 11

Go to Step 6

6

Check for a faulty connection at the CKP sensor.

Was a problem found?

--

Go to Step 12

--

7

Check for an open in the CKP sensor low circuit.

Was a problem found?

--

Go to Step 12

Go to Step 9

8

Check for an open or a short to a ground in the CKP sensor feed circuit.

Was a problem found?

--

Go to Step 12

--

9

Check for a faulty connection at the VCM.

Was a problem found?

--

Go to Step 12

Go to Step 13

10

Repair short to ground in Crankshaft Position sensor 3X signal circuit. Refer to Wiring Repairs in Engine Electrical.

Is the repair complete?

--

Go to Step 14

--

11

Replace the faulty CKP sensor. Refer to Crankshaft Position (CKP) Sensor Replacement .

Is the action complete?

--

Go to Step 14

--

12

Repair the circuit as necessary. Refer to Wiring Repairs in Engine Electrical.

Is the action complete?

--

Go to Step 14

--

13

Replace the VCM.

Important:  If the VCM is Faulty, program the new VCM.

Refer to Powertrain On Board Diagnostic (OBD) System Check .

Is the replacement complete?

--

Go to Step 14

--

14

  1. Using the scan tool, select DTC and Clear Info.
  2. Start engine and idle at normal operating temperature.
  3. Select DTC and Specific.
  4. Enter the DTC number which was set.
  5. Operate vehicle within the conditions for setting this DTC as specified in the supporting text.

Does scan tool indicate that this diagnostic ran and passed?

--

Go to Step 15

Go to Step 2

15

Using the scan tool, select Capture Info and Review Info.

Are any DTCs displayed that have not been diagnosed?

--

Go to the applicable DTC table

System OK